公布日:2023.11.03
申请日:2023.07.21
分类号:C02F1/04(2023.01)I;C02F1/00(2023.01)I
摘要
本发明提供以厌氧MBR与正渗透为核心的废水近零排放装置及方法,涉及废水近零排放技术领域。该以厌氧MBR与正渗透为核心的废水近零排放装置,包括空心桶,所述空心桶下侧设置有蒸发机构,所述空心桶的内侧设置有过滤机构。通过将液体经过筛分孔、筛箱、曲形筛网和过滤孔进行难溶固体过滤,再通过连接锥筒进入腔体中被海绵吸附,配合加热棒进行加热蒸发结晶,避免直接排放对环境造成污染,同时符合环保理念,并且通过伺服电机带动收卷轮进行转动,使弹力绳拉扯滑块和空心桶,从而对空心桶的高度进行调节,将连接锥筒拧下后,将空心桶拉高进行冲洗,避免堵塞,清洗方便,从而提高了设备的使用寿命。

权利要求书
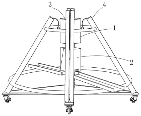
1.以厌氧MBR与正渗透为核心的废水近零排放装置,包括空心桶(1),其特征在于,所述空心桶(1)下侧设置有蒸发机构(2),所述空心桶(1)的内侧设置有过滤机构(3),所述空心桶(1)的外侧设置有调节机构(4);所述蒸发机构(2)包括三角箱(201),所述三角箱(201)的内部左右侧均设置有腔体(202),所述腔体(202)的内侧设置有海绵(203),所述三角箱(201)的底部左右侧均通过转杆(204)与挡板(205)相连接,所述三角箱(201)的外壁左右侧均设置有多个孔洞(208),所述三角箱(201)的底部固定连接有隔板(206),所述隔板(206)的中部固定连接有加热棒(207),所述三角箱(201)的左右侧顶部均转动连接有遮盖(209)。
2.根据权利要求1所述的以厌氧MBR与正渗透为核心的废水近零排放装置,其特征在于,所述过滤机构(3)包括隔热套(301),所述空心桶(1)的外壁固定连接所述隔热套(301),所述空心桶(1)的内侧底部固定连接有第一圆盘(302),所述空心桶(1)的内侧中下部固定连接有第二圆盘(303),所述空心桶(1)的内侧中部固定连接有第三圆盘(304),所述第一圆盘(302)和所述第二圆盘(303)上等距设置有多个过滤孔(305),所述第三圆盘(304)的顶端中部固定连接有筛箱(307),所述筛箱(307)的内侧中部固定连接有曲形筛网(308),所述筛箱(307)的左右侧均等距设置有多个筛分孔(309),所述第三圆盘(304)的顶部右侧设置有弧形贯穿口(306)。
3.根据权利要求1所述的以厌氧MBR与正渗透为核心的废水近零排放装置,其特征在于,所述调节机构(4)包括四个钢架(401),所述钢架(401)的内侧固定连接有滑轨(402),所述滑轨(402)上滑动连接有滑块(403),所述滑轨(402)的后侧固定连接有密封板(405),所述密封板(405)的前侧固定连接有弹簧(404),所述弹簧(404)的前端与对应的所述滑块(403)固定连接,所述滑块(403)的中部固定连接有弹力绳(406),所述钢架(401)前后侧的底部均固定连接有第二连接板(410),所述钢架(401)左右侧的底部固定连接有第一连接板(409),两个所述第一连接板(409)的相邻一侧固定连接有第一延伸板(412),两个所述第二连接板(410)的相邻一侧固定连接有第二延伸板(411),所述第二延伸板(411)的顶端中部固定连接有伺服电机(413),所述伺服电机(413)的输出端贯穿所述第二延伸板(411)并固定连接有收卷轮(414),所述弹力绳(406)的前端依次贯穿所述滑轨(402)和所述钢架(401)并固定连接在所述收卷轮(414)上。
4.根据权利要求3所述的以厌氧MBR与正渗透为核心的废水近零排放装置,其特征在于,所述调节机构(4)还包括固定圈一(407)和固定圈二(408),四个所述钢架(401)的顶部通过所述固定圈一(407)固定连接,四个所述钢架(401)的底部通过所述固定圈二(408)固定连接。
5.根据权利要求1所述的以厌氧MBR与正渗透为核心的废水近零排放装置,其特征在于,所述蒸发机构(2)还包括扶手(210)和承接槽(211),两个所述遮盖(209)的相远离一侧底部均固定连接有扶手(210),所述遮盖(209)的底部设置有承接槽(211)。
6.根据权利要求2所述的以厌氧MBR与正渗透为核心的废水近零排放装置,其特征在于,所述过滤机构(3)还包括安装环(310)和固定环(311),所述空心桶(1)的外壁中上部固定连接所述安装环(310),所述安装环(310)的外壁等距固定连接有四个所述固定环(311)。
7.根据权利要求5所述的以厌氧MBR与正渗透为核心的废水近零排放装置,其特征在于,所述承接槽(211)的底部末端固定连接在固定圈二(408)的外壁,所述三角箱(201)的顶端中部螺纹连接有连接锥筒(5),所述连接锥筒(5)的顶部转动连接在所述空心桶(1)的底端中部。
8.根据权利要求3所述的以厌氧MBR与正渗透为核心的废水近零排放装置,其特征在于,所述调节机构(4)还包括环形圈(415),所述收卷轮(414)的底部固定连接所述环形圈(415),所述环形圈(415)的底部与所述第一延伸板(412)的顶端中部转动连接,所述弹力绳(406)的后端固定连接在对应的所述固定环(311)上。
9.根据权利要求3所述的以厌氧MBR与正渗透为核心的废水近零排放装置,其特征在于,所述第一连接板(409)和所述第二连接板(410)的底部均固定连接有万向轮(6)。
10.以厌氧MBR与正渗透为核心的废水近零排放装置的方法,其特征在于:应用于权利要求1-9所述的以厌氧MBR与正渗透为核心的废水近零排放装置,包括以下步骤:S1、将以厌氧MBR与正渗透为核心的废水全部倒入空心桶(1)的内侧,经过筛分孔(309)、筛箱(307)、曲形筛网(308)和过滤孔(305)进行难溶固体过滤,过滤后的液体通过连接锥筒(5)进入腔体(202)中被海绵(203)吸附;S2、加热加热棒(207),使所述海绵(203)吸附的液体蒸发结晶产生蒸发气体和结晶体;所述蒸发气体和所述结晶体通过孔洞(208)将遮盖(209)顶开,所述蒸发气体排出,所述结晶体掉落;S3、开启伺服电机(413)带动收卷轮(414)进行转动,使弹力绳(406)拉扯滑块(403)和空心桶(1),调节所述空心桶(1)的高度,冲洗所述空心桶(1)。
发明内容
针对现有技术的不足,本发明提供了以厌氧MBR与正渗透为核心的废水近零排放装置及方法,解决了其内部依然会存在一些难溶固体和盐,直接排放会对环境造成污染,同时不符合环保理念,并且处理的罐体不方便进行清洗,残留的难溶性固体容易造成堵塞,从而降低设备的使用寿命的问题。
为实现以上目的,本发明通过以下技术方案予以实现:以厌氧MBR与正渗透为核心的废水近零排放装置,包括空心桶,所述空心桶下侧设置有蒸发机构,所述空心桶的内侧设置有过滤机构,所述空心桶的外侧设置有调节机构;
所述蒸发机构包括三角箱,所述三角箱的内部左右侧均设置有腔体,所述腔体的内侧设置有海绵,所述三角箱的底部左右侧均通过转杆与挡板相连接,所述三角箱的外壁左右侧均设置有多个孔洞,所述三角箱的底部固定连接有隔板,所述隔板的中部固定连接有加热棒,所述三角箱的左右侧顶部均转动连接有遮盖。
优选的,所述过滤机构包括隔热套,所述空心桶的外壁固定连接所述隔热套,所述空心桶的内侧底部固定连接有第一圆盘,所述空心桶的内侧中下部固定连接有第二圆盘,所述空心桶的内侧中部固定连接有第三圆盘,所述第一圆盘和所述第二圆盘上等距设置有多个过滤孔,所述第三圆盘的顶端中部固定连接有筛箱,所述筛箱的内侧中部固定连接有曲形筛网,所述筛箱的左右侧均等距设置有多个筛分孔,所述第三圆盘的顶部右侧设置有弧形贯穿口。
优选的,所述调节机构包括四个钢架,所述钢架的内侧固定连接有滑轨,所述滑轨上滑动连接有滑块,所述滑轨的后侧固定连接有密封板,所述密封板的前侧固定连接有弹簧,所述弹簧的前端与对应的所述滑块固定连接,所述滑块的中部固定连接有弹力绳,所述钢架前后侧的底部均固定连接有第二连接板,所述钢架左右侧的底部固定连接有第一连接板,两个所述第一连接板的相邻一侧固定连接有第一延伸板,两个所述第二连接板的相邻一侧固定连接有第二延伸板,所述第二延伸板的顶端中部固定连接有伺服电机,所述伺服电机的输出端贯穿所述第二延伸板并固定连接有收卷轮,所述弹力绳的前端依次贯穿所述滑轨和所述钢架并固定连接在所述收卷轮上。
优选的,所述调节机构还包括固定圈一和固定圈二,四个所述钢架的顶部通过所述固定圈一固定连接,四个所述钢架的底部通过所述固定圈二固定连接。
优选的,所述蒸发机构还包括扶手和承接槽,两个所述遮盖的相远离一侧底部均固定连接有扶手,所述遮盖的底部设置有承接槽。
优选的,所述过滤机构还包括安装环和固定环,所述空心桶的外壁中上部固定连接所述安装环,所述安装环的外壁等距固定连接有四个所述固定环。
优选的,所述承接槽的底部末端固定连接在固定圈二的外壁,所述三角箱的顶端中部螺纹连接有连接锥筒,所述连接锥筒的顶部转动连接在所述空心桶的底端中部。
优选的,所述调节机构还包括环形圈,所述收卷轮的底部固定连接所述环形圈,所述环形圈的底部与所述第一延伸板的顶端中部转动连接,所述弹力绳的后端固定连接在对应的所述固定环上。
优选的,所述第一连接板和所述第二连接板的底部均固定连接有万向轮。
优选的,以厌氧MBR与正渗透为核心的废水近零排放装置的方法,包括以下步骤:
S1、将以厌氧MBR与正渗透为核心的废水全部倒入空心桶(1)的内侧,经过筛分孔(309)、筛箱(307)、曲形筛网(308)和过滤孔(305)进行难溶固体过滤,过滤后的液体通过连接锥筒(5)进入腔体(202)中被海绵(203)吸附;
S2、加热加热棒(207),使所述海绵(203)吸附的液体蒸发结晶产生蒸发气体和结晶体;所述蒸发气体和所述结晶体通过孔洞(208)将遮盖(209)顶开,所述蒸发气体排出,所述结晶体掉落;
S3、开启伺服电机(413)带动收卷轮(414)进行转动,使弹力绳(406)拉扯滑块(403)和空心桶(1),调节所述空心桶(1)的高度,冲洗所述空心桶(1)。
工作原理:通过将液体全部倒入空心桶的内侧,经过筛分孔、筛箱、曲形筛网和过滤孔进行难容固体过滤,再通过连接锥筒进入腔体中被海绵吸附,配合加热棒进行加热,使海绵吸附的液体进行蒸发结晶产生蒸发气体和结晶体,蒸发气体和结晶体通过孔洞将遮盖顶开,结晶体掉落,蒸发气体排出,避免直接排放对环境造成污染,同时符合环保理念。
另外还可以通过伺服电机带动收卷轮进行转动,使弹力绳拉扯滑块和空心桶,从而对空心桶的高度进行调节,将连接锥筒拧下后,将空心桶拉高进行冲洗,避免堵塞,清洗方便,提高设备的使用寿命。
本发明提供了以厌氧MBR与正渗透为核心的废水近零排放装置及方法。
具备以下有益效果:
1、本发明通过将液体全部倒入空心桶的内侧,经过筛分孔、筛箱、曲形筛网和过滤孔进行难溶固体过滤,再通过连接锥筒进入腔体中被海绵吸附,配合加热棒进行加热,使海绵吸附的液体进行蒸发结晶,气体和结晶体通过孔洞将遮盖顶开,结晶体掉落,气体排出,避免直接排放对环境造成污染,同时符合环保理念。
2、本发明通过伺服电机带动收卷轮进行转动,使弹力绳拉扯滑块和空心桶,从而对空心桶的高度进行调节,将连接锥筒拧下后,将空心桶拉高进行冲洗,避免堵塞,清洗方便,从而提高了设备的使用寿命。
(发明人:凌伍妹;贺杰)






