公布日:2023.10.31
申请日:2023.07.24
分类号:C02F9/00(2023.01)I;C02F103/28(2006.01)N;C02F1/00(2023.01)N;C02F1/20(2023.01)N;C02F1/52(2023.01)N;C02F1/66(2023.01)N;C02F1/62(2023.01)N;
C02F3/02(2023.01)N
摘要
本发明涉及造纸废水处理技术领域,具体涉及一种造纸废水的深度处理净化装置,包括预处理池、深度处理池、曝气池和蓄水箱,所述深度处理池位于预处理池的右侧,所述曝气池位于深度处理池的右侧,所述蓄水箱位于曝气池的右侧,所述曝气池的内部安装有曝气组件;所述曝气组件包括曝气盒、进气管、连接管、曝气口、防护盖和防护罩,多组所述曝气盒从左往右等间距安装于曝气池内部的底端,所述进气管安装于最左侧曝气盒的背面,多组所述曝气盒之间均通过连接管进行连接,多组所述曝气口从前往后等间距开设于曝气盒的顶部,与现有的造纸废水的深度处理净化装置相比较,本发明通过设计能够有效防止曝气组件5的堵塞,提高水体的处理净化效果。

权利要求书
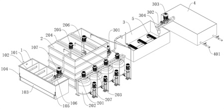
1.一种造纸废水的深度处理净化装置,包括预处理池(1)、深度处理池(2)、曝气池(3)和蓄水箱(4),其特征在于:所述深度处理池(2)位于预处理池(1)的右侧,所述曝气池(3)位于深度处理池(2)的右侧,所述蓄水箱(4)位于曝气池(3)的右侧,所述曝气池(3)的内部安装有曝气组件(5);所述曝气组件(5)包括曝气盒(501)、进气管(502)、连接管(503)、曝气口(504)、防护盖(505)和防护罩(506),多组所述曝气盒(501)从左往右等间距安装于曝气池(3)内部的底端,所述进气管(502)安装于最左侧曝气盒(501)的背面,多组所述曝气盒(501)之间均通过连接管(503)进行连接,多组所述曝气口(504)从前往后等间距开设于曝气盒(501)的顶部,所述防护盖(505)螺纹连接于曝气口(504)的外侧,所述防护罩(506)安装于曝气盒(501)的顶部。
2.根据权利要求1所述的一种造纸废水的深度处理净化装置,其特征在于:所述预处理池(1)的的背面安装有进水管(101),所述预处理池(1)的内部固定连有多组挡板(102),多组所述挡板(102)的顶端均开设有通槽,所述预处理池(1)左侧的底端滑动连接有第一清理门(103),所述预处理池(1)的左侧且位于第一清理门(103)的背面固定安装有滑杆(104),所述第一清理门(103)背面的顶端与滑杆(104)滑动连接,所述预处理池(1)的左侧且位于第一清理门(103)的正面转动连接有螺纹杆(105),所述第一清理门(103)正面的顶端与螺纹杆(105)螺纹连接。
3.根据权利要求1所述的一种造纸废水的深度处理净化装置,其特征在于:所述预处理池(1)的顶部安装有第一支撑架(106),所述第一支撑架(106)的顶部安装有第一水泵(107),所述第一水泵(107)的输入端通过第一抽水管与预处理池(1)的内部进行连接,所述第一水泵(107)的输出端通过第一送水管与深度处理池(2)的内部进行连接。
4.根据权利要求1所述的一种造纸废水的深度处理净化装置,其特征在于:所述深度处理池(2)的正面安装有第二支撑架(201),所述第二支撑架(201)的下方安装有多组药剂罐(202),所述第二支撑架(201)的顶部且位于药剂罐(202)的上方安装有第一电机(203),所述深度处理池(2)顶部的左右两端均安装有第三支撑架(204),两组所述第三支撑架(204)的顶部均安装有第二电机(205),所述第一电机(203)与第二电机(205)的输出端均安装有搅拌杆(206),多组所述药剂罐(202)的正面均安装有第二水泵(207),所述第二水泵(207)的输入端通过第二抽水管与药剂罐(202)的内部进行连接,所述第二水泵(207)的输出端通过第二送水管与深度处理池(2)的内部进行连接。
5.根据权利要求1所述的一种造纸废水的深度处理净化装置,其特征在于:所述药剂罐(202)设有四组,四组所述药剂罐(202)的内部从左往右依次装有沉淀剂、消泡剂、絮凝剂与PH调节剂。
6.根据权利要求1所述的一种造纸废水的深度处理净化装置,其特征在于:所述深度处理池(2)的底部安装有倾斜沉淀罩(208),所述倾斜沉淀罩(208)的右侧转动连接有第二清理门(209),所述第二清理门(209)的外侧转动连接有门把(210),所述倾斜沉淀罩(208)外侧与门把(210)相对应的位置处固定安装有卡块(211)。
7.根据权利要求6所述的一种造纸废水的深度处理净化装置,其特征在于:所述曝气池(3)与深度处理池(2)之间安装有第三水泵(301),所述第三水泵(301)的输入端通过第三抽水管与倾斜沉淀罩(208)的内部进行连接,所述第三水泵(301)的输出端通过第三送水管与曝气池(3)的内部进行连接。
8.根据权利要求7所述的一种造纸废水的深度处理净化装置,其特征在于:所述曝气池(3)与蓄水箱(4)之间安装有第四支撑架(302),所述第四支撑架(302)的顶部安装有第四水泵(303),所述第四水泵(303)的输入端通过第四抽水管与曝气池(3)的内部进行连接,所述第四水泵(303)的输出端通过第四送水管与蓄水箱(4)的内部进行连接,所述第三抽水管与第四抽水管上均安装有过滤筒(304),所述过滤筒(304)内部安装有活性炭滤芯。
9.根据权利要求1所述的一种造纸废水的深度处理净化装置,其特征在于:所述蓄水箱(4)的内部开设有蓄水腔,所述蓄水箱(4)正面底端的左右两侧均安装有排水管(401),两组所述排水管(401)与蓄水腔相连通。
10.根据权利要求1所述的一种造纸废水的深度处理净化装置,其特征在于:所述曝气盒(501)底部的前后两端均通过安装座(507)与曝气池(3)固定连接,所述进气管(502)上安装有单向阀(508),所述防护盖(505)的顶部开设有曝气孔,所述防护罩(506)顶部开设有多组曝气槽。
发明内容
针对现有技术的不足,本发明设计了一种造纸废水的深度处理净化装置,该造纸废水的深度处理净化装置旨在解决现有技术下因造纸废水中钙离子含量较为丰富,经常造成射流曝气器通道钙化堵塞而致曝气器功能不畅,难以清除或减轻堵塞,降低造纸废水的处理效果的技术问题。
为实现上述目的,本发明提供如下技术方案:
一种造纸废水的深度处理净化装置,包括预处理池、深度处理池、曝气池和蓄水箱,所述深度处理池位于预处理池的右侧,所述曝气池位于深度处理池的右侧,所述蓄水箱位于曝气池的右侧,所述曝气池的内部安装有曝气组件;
所述曝气组件包括曝气盒、进气管、连接管、曝气口、防护盖和防护罩,多组所述曝气盒从左往右等间距安装于曝气池内部的底端,所述进气管安装于最左侧曝气盒的背面,多组所述曝气盒之间均通过连接管进行连接,多组所述曝气口从前往后等间距开设于曝气盒的顶部,所述防护盖螺纹连接于曝气口的外侧,所述防护罩安装于曝气盒的顶部。
作为本发明优选的方案,所述预处理池的的背面安装有进水管,所述预处理池的内部固定连有多组挡板,多组所述挡板的顶端均开设有通槽,所述预处理池左侧的底端滑动连接有第一清理门,所述预处理池的左侧且位于第一清理门的背面固定安装有滑杆,所述第一清理门背面的顶端与滑杆滑动连接,所述预处理池的左侧且位于第一清理门的正面转动连接有螺纹杆,所述第一清理门正面的顶端与螺纹杆螺纹连接。
作为本发明优选的方案,所述预处理池的顶部安装有第一支撑架,所述第一支撑架的顶部安装有第一水泵,所述第一水泵的输入端通过第一抽水管与预处理池的内部进行连接,所述第一水泵的输出端通过第一送水管与深度处理池的内部进行连接。
作为本发明优选的方案,所述深度处理池的正面安装有第二支撑架,所述第二支撑架的下方安装有多组药剂罐,所述第二支撑架的顶部且位于药剂罐的上方安装有第一电机,所述深度处理池顶部的左右两端均安装有第三支撑架,两组所述第三支撑架的顶部均安装有第二电机,所述第一电机与第二电机的输出端均安装有搅拌杆,多组所述药剂罐的正面均安装有第二水泵,所述第二水泵的输入端通过第二抽水管与药剂罐的内部进行连接,所述第二水泵的输出端通过第二送水管与深度处理池的内部进行连接。
作为本发明优选的方案,所述药剂罐设有四组,四组所述药剂罐的内部从左往右依次装有沉淀剂、消泡剂、絮凝剂与PH调节剂。
作为本发明优选的方案,所述深度处理池的底部安装有倾斜沉淀罩,所述倾斜沉淀罩的右侧转动连接有第二清理门,所述第二清理门的外侧转动连接有门把,所述倾斜沉淀罩外侧与门把相对应的位置处固定安装有卡块。
作为本发明优选的方案,所述曝气池与深度处理池之间安装有第三水泵,所述第三水泵的输入端通过第三抽水管与倾斜沉淀罩的内部进行连接,所述第三水泵的输出端通过第三送水管与曝气池的内部进行连接。
作为本发明优选的方案,所述曝气池与蓄水箱之间安装有第四支撑架,所述第四支撑架的顶部安装有第四水泵,所述第四水泵的输入端通过第四抽水管与曝气池的内部进行连接,所述第四水泵的输出端通过第四送水管与蓄水箱的内部进行连接,所述第三抽水管与第四抽水管上均安装有过滤筒,所述过滤筒内部安装有活性炭滤芯。
作为本发明优选的方案,所述蓄水箱的内部开设有蓄水腔,所述蓄水箱正面底端的左右两侧均安装有排水管,两组所述排水管与蓄水腔相连通。
作为本发明优选的方案,所述曝气盒底部的前后两端均通过安装座与曝气池固定连接,所述进气管上安装有单向阀,所述防护盖的顶部开设有曝气孔,所述防护罩顶部开设有多组曝气槽。
与现有技术相比,本发明的有益效果是:
本发明中,通过曝气组件的设计,经过深度处理池深度处理后的造纸废水,进入到曝气池内后,通过进气管将气流导入曝气盒中,通过单向阀防止气流回流影响曝气效果,进入到曝气盒中的气流从曝气孔排出,将空气分割成若干小气泡,随后再通过曝气槽均匀的将气泡从防护罩的内部排出,从而向曝气池中均匀的注入氧气,产生气泡和气流,增加水体中的氧气含量并提供均匀的氧气供应,有助于维持生物滤池中生物群落的健康状态,促进有益细菌的生长和生物降解过程,加速这些生物降解过程,提高水体的净化效果,同时先利用防护罩外侧的曝气槽与防护盖外侧的曝气孔,能够对曝气口进行双重防护,有效防止曝气口堵塞住,进而提高对造纸废水的处理净化效果。
(发明人:李文斌)






