公布日:2023.10.31
申请日:2023.07.27
分类号:B01F27/95(2022.01)I;B01F35/71(2022.01)I;C02F1/00(2023.01)I
摘要
本发明公开了一种工业废水处理设备,涉及废水处理领域,包括处理罐,所述处理罐顶部连通有下药管,所述下药管末端连通有用于容纳药品的下药仓,所述下药机构包括传动组件和设于下药仓底部的封板,所述封板上开设有多个下药口,所述下药口底部设有下料管一,所述下料管一外部滑动连接有下料管二,所述下料管二末端连通有药筒,所述传动组件驱动药筒沿垂直面进行上下移动;该工业废水处理设备,药筒内的药品随药筒进行上下往复移动,使药品与处理罐内多个层面的废水进行融合,同时使药品间歇落入药筒内,药品与废水融合的更加充分,处理效果更好,提高了对废水的搅拌效果,提高废水与药品充分融合的效率,加快废水处理效率。

权利要求书
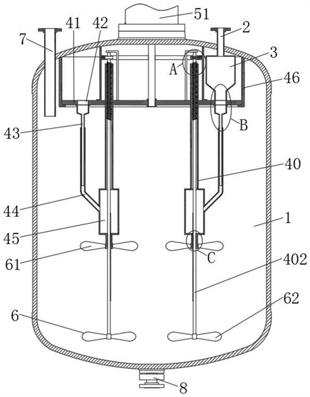
1.一种工业废水处理设备,包括处理罐(1),其特征在于,所述处理罐(1)顶部连通有下药管(2),所述下药管(2)末端连通有用于容纳药品的下药仓(3);下药机构(4),所述下药机构(4)包括传动组件(40)和设于下药仓(3)底部的封板(41),所述封板(41)上开设有多个下药口(42),所述下药口(42)底部设有下料管一(43),所述下料管一(43)外部滑动连接有下料管二(44),所述下料管二(44)末端连通有药筒(45),所述传动组件(40)驱动药筒(45)沿垂直面进行上下移动;驱动机构(5),其用于驱动下药机构(4)以处理罐(1)轴向为中心进行转动;多个混合机构(6),其用于对处理罐(1)内的工业废水进行搅动,所述混合机构(6)包括搅拌叶一(61)和搅拌叶二(62),所述搅拌叶一(61)内部固定安装有套轴(63),所述套轴(63)顶端与其相邻的药筒(45)转动连接,所述传动组件(40)驱动搅拌叶二(62)进行转动。
2.根据权利要求1所述的一种工业废水处理设备,其特征在于,所述下药机构(4)还包括固定安装于处理罐(1)内部的支撑板(46),所述支撑板(46)内侧与封板(41)转动连接,所述支撑板(46)内部固定安装有齿圈(47)。
3.根据权利要求2所述的一种工业废水处理设备,其特征在于,所述传动组件(40)包括与药筒(45)顶部固定连接的套筒(401),所述套筒(401)外部与封板(41)滑动连接,所述套筒(401)上端内部螺纹连接有往复丝杠(402),所述往复丝杠(402)顶部转动连接有固定架(403),所述固定架(403)底端与封板(41)固定连接,所述往复丝杠(402)顶端外部套设有齿轮(404),所述齿轮(404)一侧与齿圈(47)相啮合。
4.根据权利要求1所述的一种工业废水处理设备,其特征在于,所述驱动机构(5)包括固定安装于处理罐(1)顶部的旋转驱动件(51),所述旋转驱动件(51)的输出轴一端与封板(41)固定连接。
5.根据权利要求1所述的一种工业废水处理设备,其特征在于,所述搅拌叶二(62)内部与往复丝杠(402)固定连接,所述往复丝杠(402)下端外部与套轴(63)滑动连接。
6.根据权利要求1所述的一种工业废水处理设备,其特征在于,所述下药仓(3)底部开口大小与下药口(42)开口大小相同。
7.根据权利要求1所述的一种工业废水处理设备,其特征在于,所述下药仓(3)底部的纵剖面呈漏斗状设置。
8.根据权利要求1所述的一种工业废水处理设备,其特征在于,所述处理罐(1)顶部还连通有进液管(7),所述处理罐(1)底部设有排液管(8)。
发明内容
本发明的目的是提供一种工业废水处理设备,以解决现有技术中的上述不足之处。
为了实现上述目的,本发明提供如下技术方案:一种工业废水处理设备,包括处理罐,所述处理罐顶部连通有下药管,所述下药管末端连通有用于容纳药品的下药仓;
下药机构,所述下药机构包括传动组件和设于下药仓底部的封板,所述封板上开设有多个下药口,所述下药口底部设有下料管一,所述下料管一外部滑动连接有下料管二,所述下料管二末端连通有药筒,所述传动组件驱动药筒沿垂直面进行上下移动;
驱动机构,其用于驱动下药机构以处理罐轴向为中心进行转动;
多个混合机构,其用于对处理罐内的工业废水进行搅动,所述混合机构包括搅拌叶一和搅拌叶二,所述搅拌叶一内部固定安装有套轴,所述套轴顶端与其相邻的药筒转动连接,所述传动组件驱动搅拌叶二进行转动。
进一步地,所述下药机构还包括固定安装于处理罐内部的支撑板,所述支撑板内侧与封板转动连接,所述支撑板内部固定安装有齿圈。
进一步地,所述传动组件包括与药筒顶部固定连接的套筒,所述套筒外部与封板滑动连接,所述套筒上端内部螺纹连接有往复丝杠,所述往复丝杠顶部转动连接有固定架,所述固定架底端与封板固定连接,所述往复丝杠顶端外部套设有齿轮,所述齿轮一侧与齿圈相啮合。
进一步地,所述驱动机构包括固定安装于处理罐顶部的旋转驱动件,所述旋转驱动件的输出轴一端与封板固定连接。
进一步地,所述搅拌叶二内部与往复丝杠固定连接,所述往复丝杠下端外部与套轴滑动连接。
进一步地,所述下药仓底部开口大小与下药口开口大小相同。
进一步地,所述下药仓底部的纵剖面呈漏斗状设置。
进一步地,所述处理罐顶部还连通有进液管,所述处理罐底部设有排液管。
与现有技术相比,本发明提供的一种工业废水处理设备,通过旋转驱动件带动封板转动,进而带动下药机构转动,药筒内的药品随药筒进行上下往复移动,使药品与处理罐内多个层面的废水进行融合,同时使药品间歇落入药筒内,药品与废水融合的更加充分,处理效果更好;
通过往复丝杠带动搅拌叶二转动,搅拌叶二随往复丝杠公转的同时进行自转,对废水进行充分搅动,往复丝杠带动套轴转动,套轴带动搅拌叶一转动,且套轴随药筒进行上下移动,从而搅拌叶一上下移动的同时自转,并随药筒进行公转,进一步提高了对废水的搅拌效果,提高废水与药品充分融合的效率,加快废水处理效率。
(发明人:钟思泉;伍静莹;钟深宝)






