公布日:2023.10.10
申请日:2023.08.03
分类号:B65G53/06(2006.01)I;C02F11/13(2019.01)I;B65G53/34(2006.01)I;B65G53/52(2006.01)I
摘要
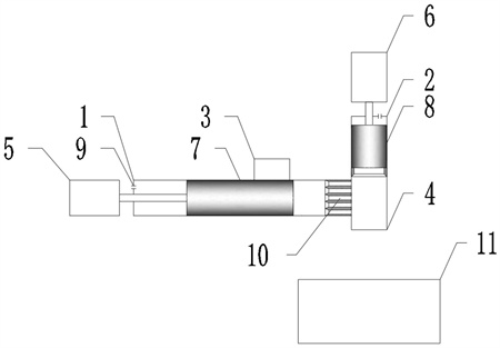
本发明公开了一种用于污泥真空干化机的出料输送装置,包括物料输送管,物料输送管上设有对接真空干化机的进料口和成型出料口;进料口垂直设置在物料输送管上方,成型出料口设置在物料输送管末端;在物料输送管内,设有可沿物料腔长度方向往复运动,且与物料输送管内壁滑动密封的推料塞;推料塞前端可到达成型出料口,推料塞末端不到达进料口;推料塞的厚度大于进料口到成型出料口的最远长度;成型出料口的出料端设有可移动的密封装置;当推料塞前端滑过进料口后,密封装置移动至成型出料口的出料端,推料塞与密封装置在物料输送管内形成密封区。

权利要求书
1.一种用于污泥真空干化机的出料输送装置,包括物料输送管(1),所述物料输送管(1)上设有对接真空干化机的进料口(3)和成型出料口(10);其特征在于:所述进料口(3)垂直设置在所述物料输送管(1)上方,所述成型出料口(10)设置在所述物料输送管(1)末端;在所述物料输送管(1)内,设有可沿所述物料腔长度方向往复运动,且与所述物料输送管(1)内壁滑动密封的推料塞(7);所述推料塞(7)前端可到达所述成型出料口(10),所述推料塞(7)末端不到达所述进料口(3);所述推料塞(7)的厚度大于所述进料口(3)到所述成型出料口(10)的最远长度;所述成型出料口(10)的出料端设有可移动的密封装置;当所述推料塞(7)前端滑过所述进料口(3)后,所述密封装置移动至所述成型出料口(10)的出料端,所述推料塞(7)与密封装置在所述物料输送管(1)内形成密封区。
2.根据权利要求1所述的用于污泥真空干化机的出料输送装置,其特征在于:所述密封装置包括可覆盖所述成型出料口(10)的密封塞(8);所述密封塞(8)与所述成型出料口(10)接触面的面积大于所述成型出料口(10)的截面面积;所述密封塞(8)可沿所述成型出料口(10)的出料口平面滑动,所述密封塞(8)末端不到达所述成型出料口(10)。
3.根据权利要求2所述的用于污泥真空干化机的出料输送装置,其特征在于:所述密封塞(8)下端设有用于切断所述成型出料口(10)挤出物料的切料刀头(81)。
4.根据权利要求2所述的用于污泥真空干化机的出料输送装置,其特征在于:所述成型出料口(10)包含若干平行所述物料输送管(1)的成型管(100);相邻所述成型管(100)间密闭,物料不可通过。
5.根据权利要求2所述的用于污泥真空干化机的出料输送装置,其特征在于:所述成型管(100)管口处设有倒角(101),两相邻所述成型管(100)管口的倒角(101)相切。
6.根据权利要求1所述的用于污泥真空干化机的出料输送装置,其特征在于:所述推料塞(7)末端设有推料杆及驱动所述推料杆的驱动机(5)。
7.根据权利要求1所述的用于污泥真空干化机的出料输送装置,其特征在于:所述密封装置移动轨迹垂直所述物料输送管(1)。
8.一种用于污泥真空干化机的出料方法,其特征在于:基于权利要求1-6中任一所述的用于污泥真空干化机的出料输送装置,包括如下步骤,S1.推料塞(7)向前行进至所述成型出料口(10),与所述成型出料口(10)前端密接无间隙;密封装置密封物料输送管(1)的成型出料口(10);推料塞(7)向后回退至所述推料塞(7)前端不堵塞进料口(3);S2.进料口(3)进料,泥料从所述进料口(3)落入物料输送管(1)内;S3.推料塞(7)前移,所述推料塞(7)前端滑过所述进料口(3),堵塞进料口(3),停止进料;所述推料塞(7)继续前移,直至推力大于设定值P千帕,压紧所述物料输送管(1)内泥料;S4.密封装置移动,打开所述成型出料口(10),推料塞(7)继续前移,将泥料从物料输送管(1)内挤压排出至指定长度;S5.切断物料输送管(1)管口排出的物料后,密封装置重新密封成型出料口(10);S6.重复步骤S3-S4,直至所述推料塞(7)前行进至所述成型出料口(10),与所述成型出料口(10)前端密接无间隙。
发明内容
本发明的目的是为了解决现有技术中的不足,提供一种可在真空状态下连续出料到常压环境中,且物料除与输送管及推料塞外,完全不接触任何装置的用于污泥真空干化机的出料输送装置。
为解决上述技术问题,本发明采用的技术方法是:本发明公开了一种用于污泥真空干化机的出料输送装置,包括物料输送管,所述物料输送管上设有对接真空干化机的进料口和成型出料口;所述进料口垂直设置在所述物料输送管上方,所述成型出料口设置在所述物料输送管末端;在所述物料输送管内,设有可沿所述物料腔长度方向往复运动,且与所述物料输送管内壁滑动密封的推料塞;所述推料塞前端可到达所述成型出料口,所述推料塞末端不到达所述进料口;所述推料塞的厚度大于所述进料口到所述成型出料口的最远长度;所述成型出料口的出料端设有可移动的密封装置;当所述推料塞前端滑过所述进料口后,所述密封装置移动至所述成型出料口的出料端,所述推料塞与密封装置在所述物料输送管内形成密封区。
进一步的,所述密封装置包括可覆盖所述成型出料口的密封塞;所述密封塞与所述成型出料口接触面的面积大于所述成型出料口的截面面积;所述密封塞可沿所述成型出料口的出料口平面滑动,所述密封塞末端不到达所述成型出料口。
进一步的,所述密封塞下端设有用于切断所述成型出料口挤出物料的切料刀头。
进一步的,所述成型出料口包含若干平行所述物料输送管的成型管;相邻所述成型管间密闭,物料不可通过。
进一步的,所述成型管管口处设有倒角,两相邻所述成型管管口的倒角相切。
进一步的,所述推料塞末端设有推料杆及驱动所述推料杆的驱动机(5)。
进一步的,所述密封装置移动轨迹垂直所述物料输送管。
本发明还公开了一种用于污泥真空干化机的出料方法,基于上述用于污泥真空干化机的出料输送装置,包括如下步骤,S1.推料塞向前行进至所述成型出料口,与所述成型出料口前端密接无间隙;密封装置密封物料输送管的成型出料口;推料塞向后回退至所述推料塞前端不堵塞进料口;S2.进料口进料,泥料从所述进料口落入物料输送管内;S3.推料塞前移,所述推料塞前端滑过所述进料口,堵塞进料口,停止进料;所述推料塞继续前移,直至推力大于设定值P千帕,压紧所述物料输送管内泥料;S4.密封装置移动,打开所述成型出料口,推料塞继续前移,将泥料从物料输送管内挤压排出至指定长度;S5.切断物料输送管管口排出的物料后,密封装置重新密封成型出料口;S6.重复步骤S3-S5,直至所述推料塞前行进至所述成型出料口,与所述成型出料口前端密接无间隙。
有益效果:1.本申请中的推料塞具备一定长度,具体为推料塞前端可到达所述成型出料口,所述推料塞末端不到达所述进料口,即所述推料塞的厚度大于所述进料口到所述成型出料口的最远长度,本设计的优待在于,在非进料状态下,推料塞始终以堵住进料口,省去了进料口封堵设备;同样在输送物料过程中,推料塞同时可以发挥阻断进料的作用,保证装置的密封性,省去额外的阻断进料装置,节约成本;由于推料塞末端不到达所述进料口,保障物料输送管内污泥始终无法接触推料塞的推动设备,使得在整个输送空间内,形成无任何内部机械结构的输送腔,保持输送空间绝对无杂质,避免了污泥与活塞杆的接触,延长了活塞杆的使用寿命,使得输送空间内的污泥无法触碰其他机械结构,有利于提高设备和管道的寿命,防止磨损。解决了设备老化、堵塞等。
2.本申请中的出料输送装置采用的成型管可通过调整管径来控制污泥硬度,使污泥在出料时更易形成小粒状,便于后续开展进一步的无害化处理和资源化处置;同时外导流管于进口处相外切,减少了推料塞的阻力。
(发明人:葛仕福;孙霄峰;于洋;朱冰星;黄德铭)






