公布日:2024.04.19
申请日:2024.03.01
分类号:C02F1/00(2023.01)I;C02F1/50(2023.01)I;B01F27/95(2022.01)I;B01F35/12(2022.01)I
摘要
本发明提供一种工业污水的除臭装置,污水处理领域,包括分离箱(100)与除臭箱(200),分离箱(100)设置在除臭箱(200)顶面且分离箱(100)上侧设置离心转筒组件,离心转筒组件通过螺杆驱动组件控制其转动,分离箱(100)底面且绕其中轴线均匀设置多个浮力连通组件;除臭箱(200)底面设置旋转杆(41),旋转杆(41)外壁对称设置两根连接杆(42),连接杆(42)远离旋转杆的一端分别设置弧形刮板(43),旋转杆(41)中部设置搅拌进料组件,且搅拌进料组件与弧形刮板(43)内壁中部连接。该装置能够对污水进行有效的固液分离、同时实现除臭剂与污水的均匀混合,确保快速、全面、高效的污水除臭。

权利要求书
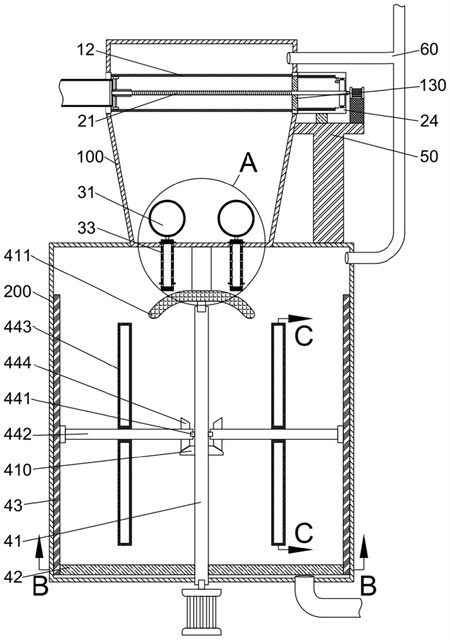
1.一种工业污水的除臭装置,其特征在于:包括分离箱与除臭箱,分离箱固定设置在除臭箱顶面且分离箱上侧设置离心转筒组件,离心转筒组件包括第一转盘、过滤筒与第二转盘,第一转盘与第二转盘同轴设置且分别与分离箱两侧侧壁转动连接,过滤筒设置在分离箱内腔,其两端分别与第一转盘、第二转盘相互靠近的一侧侧面固定连接,离心转筒组件通过螺杆驱动组件控制其转动;分离箱底面且绕其中轴线均匀设置多个浮力连通组件;除臭箱底面中部同轴设置旋转杆,旋转杆位于除臭箱底面上侧的外壁对称设置两根连接杆,连接杆远离旋转杆的一端分别设置弧形刮板,弧形刮板外壁与除臭箱内壁相抵,旋转杆中部设置搅拌进料组件,且搅拌进料组件与弧形刮板内壁中部连接。
2.根据权利要求1所述的一种工业污水的除臭装置,其特征在于:所述第一转盘中部同轴设置进水管,进水管贯穿第一转盘且与其转动连接,进水管远离第一转盘的一端与污水排放端连通。
3.根据权利要求1或2所述的一种工业污水的除臭装置,其特征在于:所述螺杆驱动组件包括螺杆、螺纹套、环形刮板、驱动套与棘轮机构,进水管内壁设置支撑架,第二转盘中部开设锥孔且锥孔内设置封闭板;螺杆一端与支撑架中部转动连接、另一端贯穿封闭板中部,螺杆位于封闭板左侧的外壁由右向左依次设置螺纹段、第一光滑段且螺杆位于封闭板右侧的外壁设置第二光滑段,支撑架靠近第二转盘的一侧侧面且位于螺杆外壁固定设置第一弹簧;螺纹套同轴设置在螺杆外壁且螺纹套内壁能与螺杆的螺纹段螺纹连接,环形刮板同轴设置在螺纹套靠近第一转盘的一侧且环形刮板内壁通过多根支撑杆与螺纹套外壁连接,环形刮板外壁与过滤筒内壁接触;驱动套固定设置在第二转盘远离第一转盘的一侧侧面且驱动套与第二转盘同轴设置,驱动套为环形结构且驱动套远离第二转盘的一端内壁设置环形凸台,环形凸台与封闭板之间通过多根第二弹簧连接;螺杆对应环形凸台的外壁设置棘轮机构。
4.根据权利要求3所述的一种工业污水的除臭装置,其特征在于:所述棘轮机构包括定位盘、转轴、棘爪与弹片,定位盘固定套接在螺杆位于环形凸台的外壁且定位盘外壁通过密封滚珠轴承与环形凸台内壁转动连接,定位盘靠近第二转盘的一侧侧面设置转轴且转轴外壁设置棘爪,环形凸台内壁对应棘爪开设棘轮孔,棘爪远离转轴的一端通过弹片与定位盘对应端面连接。
5.根据权利要求1~4任一项所述的一种工业污水的除臭装置,其特征在于:所述除臭箱顶面且对应驱动套设置支撑座,支撑座对应驱动套设置转动座、驱动套转动卡接在转动座内;螺杆远离第一转盘的端部与第一电机输出轴固定连接,支撑座对应第一电机设置电机座,第一电机固定设置在电机座上。
6.根据权利要求3所述的一种工业污水的除臭装置,其特征在于:所述浮力连通组件包括浮球、连接绳与连通管,连通管贯穿分离箱底面且与其滑动连接,连通管内部设置空腔,连通管外壁由上至下依次设置多列与空腔连通的通孔且每列通孔绕连通管的中轴线均匀分布;浮球设置在分离箱内且浮球底部通过连接绳与对应的连通管顶部连接。
7.根据权利要求1所述的一种工业污水的除臭装置,其特征在于:所述除臭箱下侧设置第二电机,旋转杆底端贯穿除臭箱底面后、与第二电机输出轴固定连接;除臭箱底面一侧设置出水管。
8.根据权利要求1所述的一种工业污水的除臭装置,其特征在于:所述搅拌进料组件包括出液咀、搅拌杆、分散盘与第一锥齿轮,出液咀分别设置在旋转杆两侧,搅拌杆对应出液咀设置且搅拌杆一端与出液咀转动连接、另一端与对应的弧形刮板转动连接;分散盘为圆盘结构,分散盘固定套接在搅拌杆中部外壁且与搅拌杆同轴设置,分散盘中部设置分散空腔且分散空腔侧壁均匀设置分散微孔,出液咀通过设置在搅拌杆内部的导管与分散空腔连通且出液咀与导管转动连接;搅拌杆靠近旋转杆的一端外壁固定套接第一锥齿轮,旋转杆外壁固定套接第二锥齿轮且第二锥齿轮分别与两个第一锥齿轮啮合,出液咀与设置在旋转杆内部的导管连通。
发明内容
针对以上现有技术存在的问题,本发明的目的在于提供一种工业污水的除臭装置,该除臭装置一是有效解决污水中含有的固体杂质易反复产生臭味的问题,二是解决除臭剂扩散速率慢、除臭剂与污水混合均匀性差的问题,从而实现及时、全面、高效的污水除臭。
本发明的目的通过以下技术方案实现:
一种工业污水的除臭装置,包括分离箱与除臭箱,分离箱固定设置在除臭箱顶面且分离箱上侧设置离心转筒组件,离心转筒组件包括第一转盘、过滤筒与第二转盘,第一转盘与第二转盘同轴设置且分别与分离箱两侧侧壁转动连接,过滤筒设置在分离箱内腔,其两端分别与第一转盘、第二转盘相互靠近的一侧侧面固定连接,离心转筒组件通过螺杆驱动组件控制其转动;分离箱底面且绕其中轴线均匀设置多个浮力连通组件,浮力连通组件用于连通分离箱与除臭箱内腔;除臭箱底面中部同轴设置旋转杆,旋转杆位于除臭箱底面上侧的外壁对称设置两根连接杆,连接杆远离旋转杆的一端分别设置弧形刮板,弧形刮板外壁与除臭箱内壁相抵,旋转杆中部设置搅拌进料组件,且搅拌进料组件与弧形刮板内壁中部连接,用于除臭剂的导入与混合。
基于上述方案的进一步优化,所述第一转盘中部同轴设置进水管,进水管贯穿第一转盘且与其转动连接,进水管远离第一转盘的一端与污水排放端连通。
基于上述方案的进一步优化,所述螺杆驱动组件包括螺杆、螺纹套、环形刮板、驱动套与棘轮机构,进水管内壁设置支撑架,第二转盘中部开设锥孔且锥孔内设置封闭板;螺杆一端与支撑架中部转动连接、另一端贯穿封闭板中部,螺杆位于封闭板左侧的外壁由右向左依次设置螺纹段、第一光滑段且螺杆位于封闭板右侧的外壁设置第二光滑段,支撑架靠近第二转盘的一侧侧面且位于螺杆外壁固定设置第一弹簧;螺纹套同轴设置在螺杆外壁且螺纹套内壁能与螺杆的螺纹段螺纹连接,环形刮板同轴设置在螺纹套靠近第一转盘的一侧且环形刮板内壁通过多根支撑杆与螺纹套外壁连接,环形刮板外壁与过滤筒内壁接触;驱动套固定设置在第二转盘远离第一转盘的一侧侧面且驱动套与第二转盘同轴设置,驱动套为环形结构且驱动套远离第二转盘的一端内壁设置环形凸台,环形凸台与封闭板之间通过多根第二弹簧连接;螺杆对应环形凸台的外壁设置棘轮机构。
基于上述方案的进一步优化,所述棘轮机构包括定位盘、转轴、棘爪与弹片,定位盘固定套接在螺杆位于环形凸台的外壁且定位盘外壁通过密封滚珠轴承与环形凸台内壁转动连接,定位盘靠近第二转盘的一侧侧面设置转轴且转轴外壁设置棘爪,环形凸台内壁对应棘爪开设棘轮孔,棘爪远离转轴的一端通过弹片与定位盘对应端面连接。
基于上述方案的进一步优化,所述除臭箱顶面且对应驱动套设置支撑座,支撑座对应驱动套设置转动座、驱动套转动卡接在转动座内;螺杆远离第一转盘的端部与第一电机输出轴固定连接,支撑座对应第一电机设置电机座,第一电机固定设置在电机座上。
基于上述方案的进一步优化,所述浮力连通组件包括浮球、连接绳与连通管,连通管贯穿分离箱底面且与其(即分离箱底面)滑动连接,连通管内部设置空腔,连通管外壁由上至下依次设置多列与空腔连通的通孔且每列通孔绕连通管的中轴线均匀分布;浮球设置在分离箱内且浮球底部通过连接绳与对应的连通管顶部连接。
基于上述方案的进一步优化,相邻两列所述通孔之间的距离大于分离箱底面的厚度。
基于上述方案的进一步优化,所述连通管外壁且位于最上端的一列通孔上侧与最下端的一列通孔上侧分别固定设置环形限位圈,用于对连通管上移或下移的位置进行硬限位。
基于上述方案的进一步优化,所述除臭箱下侧设置第二电机,旋转杆底端贯穿除臭箱底面后、与第二电机输出轴固定连接;除臭箱底面一侧设置出水管。
基于上述方案的进一步优化,所述搅拌进料组件包括出液咀、搅拌杆、分散盘与第一锥齿轮,出液咀分别设置在旋转杆两侧,搅拌杆对应出液咀设置且搅拌杆一端与出液咀转动连接、另一端与对应的弧形刮板转动连接;分散盘为圆盘结构,分散盘固定套接在搅拌杆中部外壁且与搅拌杆同轴设置,分散盘中部设置分散空腔且分散空腔侧壁均匀设置分散微孔,出液咀通过设置在搅拌杆内部的导管与分散空腔连通且出液咀与导管转动连接;搅拌杆靠近旋转杆的一端外壁固定套接第一锥齿轮,旋转杆外壁固定套接第二锥齿轮且第二锥齿轮分别与两个第一锥齿轮啮合,出液咀与设置在旋转杆内部的导管连通。
基于上述方案的进一步优化,所述旋转杆顶端设置弧形导板且旋转杆顶端与弧形导板底面设置的连接咀转动连接,弧形导板顶面通过定位杆与分离箱底面固定连接;位于旋转杆内部的导管远离出液咀的一端与连接咀连通且连接咀通过导管与外部除臭剂进液端连通。
基于上述方案的进一步优化,所述分离箱与除臭箱的顶端分别设置导气管,导气管一端分别与分离箱或除臭箱内腔连通、另一端与外部气体收集装置连通,用于收集、处理潜在溢出的臭气。
以下是本发明具有的技术效果:
本申请通过第一转盘、过滤筒与第二转盘组成的离心转筒组件,一是对进入的污水进行固液分离、避免污水中含有的固体颗粒杂质堵塞浮力连通组件的通孔,造成水流不畅、影响污水的除臭处理效率;二是对污水中难处理的具有臭味的固体颗粒杂质进行过滤,达到对污水初步除味的效果。通过螺杆驱动组件的设置,即由螺杆、螺纹套、环形刮板、驱动套与棘轮机构进行配合,实现螺杆正、反转向的不同功能,正转时带动离心转筒组件转动、实现污水的固液分离,反转时带动螺纹套滑动、实现对过滤筒,进而避免固体颗粒杂质影响过滤效率、同时无需频繁启停装置实现对固体颗粒杂质的处理,保证装置的运行平稳与连续性。通过浮力连通组件的设置,通过浮力实现分离箱与除臭箱之间污水流量的控制,一是确保分离箱具备一定的蓄水能力、避免除臭箱内待处理的水量过大而溢出、造成污水外溢,二是自动完成间断式污水除臭、提高污水的除臭效率。通过旋转杆、连接杆与搅拌进料组件的配合,通过绕旋转杆公转的分散盘以及绕搅拌杆自转的分散盘的反复转动,实现除臭剂在除臭箱内的均匀、快速扩散,进而保证除臭剂与污水中的化合物、细菌等充分接触,提高除臭剂与污水的混合均匀性,从而提高除臭剂对于化合物的分解效率以及对细菌等的杀灭程度,提高除臭效果;此外,通过弧形刮板的设置,一是对搅拌进料组件进行有效定位,避免其旋转过程中出现晃动或径向跳动、进而造成锥齿轮卡齿,二是对除臭箱内壁进行清洁、刮除,进一步提高污水与除臭剂混合的均匀性、提高除臭效果。
本申请通过先固液分离、再除臭的方式,从而有效去除污水中易分解、反应发臭的化合物、细菌、固体颗粒杂质等,确保对于污水臭味的去处效果;本申请除臭装置结构简单、操作便捷,能够有效用于各种工业污水的臭味去除,实用性强。
(发明人:谈涛;何莉;黄礼昕;齐龙;冉瑞龙)






