公布日:2024.04.16
申请日:2023.12.11
分类号:B01D33/01(2006.01)I;B01D33/44(2006.01)I;B01D33/80(2006.01)I;B01D36/00(2006.01)I
摘要
本发明涉及污水除渣技术领域,提出了一种餐厨垃圾污水除渣装置,包括箱体、过滤板、弹性件和转辊,其中,所述箱体的底侧开设有开口;所述过滤板滑动设置在所述箱体上,所述过滤板上开设有通水孔,所述过滤板上固定设置有限位凸起;所述弹性件设置在所述箱体和所述过滤板之间;所述转辊的周侧上固定设置有螺旋叶片,所述螺旋叶片选择性地与所述过滤板滑动连接,并选择性地抵持所述限位凸起。本发明通过在箱体上设置滑动的过滤板,利用弹性件与螺旋叶片和限位凸起的配合,可以让过滤板沿转辊的轴向往复移动,不仅可以加快本除渣装置的除渣效率,还不会对整个装置以及装置内的污水造成较大幅度的振动,起到了良好的防护效果。

权利要求书
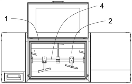
1.餐厨垃圾污水除渣装置,其特征在于:包括箱体(1)、过滤板(2)、弹性件(3)和转辊(4),其中,所述箱体(1)侧视呈U形,所述箱体(1)的底侧开设有开口(101);所述过滤板(2)滑动设置在所述箱体(1)上,并封堵所述开口(101),所述过滤板(2)上开设有通水孔(201),所述过滤板(2)上固定设置有限位凸起(21);所述弹性件(3)设置在所述箱体(1)和所述过滤板(2)之间,用于使所述过滤板(2)的一端与所述箱体(1)相抵持;所述转辊(4)转动设置在所述箱体(1)上,所述转辊(4)的周侧上固定设置有螺旋叶片(41),所述螺旋叶片(41)选择性地与所述过滤板(2)滑动连接,并选择性地抵持所述限位凸起(21),所述螺旋叶片(41)抵持所述限位凸起(21)时,先带动所述限位凸起(21)与所述螺旋叶片(41)进行滑动,再与所述限位凸起(21)相分离。
2.如权利要求1所述的餐厨垃圾污水除渣装置,其特征在于:所述箱体(1)上固定设置有接水盒(11),所述接水盒(11)位于所述通水孔(201)的底部。
3.如权利要求2所述的餐厨垃圾污水除渣装置,其特征在于:所述接水盒(11)内固定设置有滑杆(111);所述过滤板(2)上固定设置有多个加强板(22),且所述滑杆(111)与所述加强板(22)滑动连接。
4.如权利要求3所述的餐厨垃圾污水除渣装置,其特征在于:所述弹性件(3)为拉簧,所述弹性件(3)的两端分别固定设置在所述箱体(1)和所述加强板(22)上。
5.如权利要求4所述的餐厨垃圾污水除渣装置,其特征在于:所述通水孔(201)为长条孔;所述接水盒(11)内固定设置有清洁杆(112),所述清洁杆(112)远离所述接水盒(11)的一端位于所述通水孔(201)内,并与之滑动连接。
6.如权利要求5所述的餐厨垃圾污水除渣装置,其特征在于:所述清洁杆(112)远离所述接水盒(11)的一端与所述过滤板(2)远离所述接水盒(11)的一侧相平齐。
7.如权利要求6所述的餐厨垃圾污水除渣装置,其特征在于:所述过滤板(2)倾斜设置,且所述过滤板(2)与地面的间距沿由所述过滤板(2)靠近所述弹性件(3)的一端至所述过滤板(2)远离所述弹性件(3)的一端逐渐增大。
8.如权利要求1所述的餐厨垃圾污水除渣装置,其特征在于:所述螺旋叶片(41)设置有多个,多个所述螺旋叶片(41)沿所述转辊(4)的中心线螺旋分布。
9.如权利要求8所述的餐厨垃圾污水除渣装置,其特征在于:其中一个所述螺旋叶片(41)与所述限位凸起(21)选择性抵持。
10.如权利要求1所述的餐厨垃圾污水除渣装置,其特征在于:还包括加热管(5),所述加热管(5)固定设置在所述箱体(1)的底部。
发明内容
有鉴于此,本发明提出了餐厨垃圾污水除渣装置,利用让过滤板进行往复滑动,在保证污水除渣效率得到提升的前提下,可以减小对装置使用寿命和污水除渣质量所造成的影响。
本发明的技术方案是这样实现的:本发明提供了餐厨垃圾污水除渣装置,包括箱体、过滤板、弹性件和转辊,其中,
所述箱体侧视呈U形,所述箱体的底侧开设有开口;
所述过滤板滑动设置在所述箱体上,并封堵所述开口,所述过滤板上开设有通水孔,所述过滤板上固定设置有限位凸起;
所述弹性件设置在所述箱体和所述过滤板之间,用于使所述过滤板的一端与所述箱体相抵持;
所述转辊转动设置在所述箱体上,所述转辊的周侧上固定设置有螺旋叶片,所述螺旋叶片选择性地与所述过滤板滑动连接,并选择性地抵持所述限位凸起,所述螺旋叶片抵持所述限位凸起时,先带动所述限位凸起与所述螺旋叶片进行滑动,再与所述限位凸起相分离。
在以上技术方案的基础上,优选的,所述箱体上固定设置有接水盒,所述接水盒位于所述通水孔的底部。
更进一步优选的,所述接水盒内固定设置有滑杆;
所述过滤板上固定设置有多个加强板,且所述滑杆与所述加强板滑动连接。
更进一步优选的,所述弹性件为拉簧,所述弹性件的两端分别固定设置在所述箱体和所述加强板上。
更进一步优选的,所述通水孔为长条孔;
所述接水盒内固定设置有清洁杆,所述清洁杆远离所述接水盒的一端位于所述通水孔内,并与之滑动连接。
更进一步优选的,所述清洁杆远离所述接水盒的一端与所述过滤板远离所述接水盒的一侧相平齐。
更进一步优选的,所述过滤板倾斜设置,且所述过滤板与地面的间距沿由所述过滤板靠近所述弹性件的一端至所述过滤板远离所述弹性件的一端逐渐增大。
在以上技术方案的基础上,优选的,所述螺旋叶片设置有多个,多个所述螺旋叶片沿所述转辊的中心线螺旋分布。
更进一步优选的,其中一个所述螺旋叶片与所述限位凸起选择性抵持。
在以上技术方案的基础上,优选的,还包括加热管,所述加热管固定设置在所述箱体的底部。
本发明的餐厨垃圾污水除渣装置相对于现有技术具有以下有益效果:
(1)通过在箱体上设置滑动的过滤板,利用弹性件与螺旋叶片和限位凸起的配合,可以让过滤板沿转辊的轴向往复移动,不仅可以加快本除渣装置的除渣效率,还不会对整个装置以及装置内的污水造成较大幅度的振动,起到了良好的防护效果;
(2)通过设置接水盒,并在接水盒中设置与通水孔滑动连接的清洁杆,可以在过滤板滑动的过程中对通水孔进行清洁,从而避免了通水孔发生堵塞;
(3)通过设置加热管,可以对污水进行加热,避免污水中的油污凝固后阻碍污水除渣操作的快速进行。
(发明人:王德奎;王德坤;周宇霖)






