公布日:2023.10.03
申请日:2023.07.28
分类号:C02F9/00(2023.01)I;C02F1/00(2023.01)N;C02F1/66(2023.01)N;C02F1/52(2023.01)N;C02F3/12(2023.01)N;C02F3/28(2023.01)N;C02F101/16(2006.01)N
摘要
本发明公开了一种低碳高效脱氮的方法,快速混合器的DO浓度值控制在0.5?/L~1?/L,反硝化反应区的DO浓度值控制在0.1?/L~0.2?/L;厌氧氨氧化反应区的DO浓度值为0?/L~0.05?/L,污泥回流比控制在30%~60%,内回流比控制在150%~200%,通过严格控制DO浓度值,将DO浓度值控制在最适宜的有效值内,持续稳定的创造了亚硝态氮环境,为后续厌氧氨氧化菌获取稳定反应基质亚硝态氮提供了前提条件,设置反复多次周期性回流循环,呈多倍提升脱氮反应效率,低碳氮比条件下实现厌氧氨氧化协同脱氮,提高功能菌群的丰度,能够节省80%有机碳源,进而降低了污泥产量和温室气体排放。

权利要求书
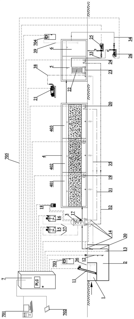
1.一种低碳高效脱氮的方法,其特征在于,包括以下步骤:S1、市政污水经过收集管导流后进入格栅井,通过格栅机去除粗大的悬浮物;S2、调节池对市政污水进行水量调节、水质均化,得到中和污水;S3、将中和污水经过潜水提升泵输送至快速混合器,随之中和污水依次进入循环式厌氧氨氧化生物反应器的亚硝态氮稳定获取区、反硝化反应区和厌氧氨氧化反应区,经过循环式厌氧氨氧化生物反应器处理的少量剩余污泥通过内回流管线回流至快速混合器,同时投加PAC药剂,经快速混合器混合后进入循环式厌氧氨氧化生物反应器,反复循环,将NH4氧化为N2,直至氨氮质量浓度小于1.3?/L,其中,快速混合器的DO浓度值控制在0.5?/L~1?/L,反硝化反应区的DO浓度值控制在0.1?/L~0.2?/L,厌氧氨氧化反应区的DO浓度值控制在0?/L~0.05?/L,污泥回流比控制在30%~60%,内回流比控制在150%~200%;S4、将步骤S3中的污水通入MBR膜池,MBR膜池用于实现泥水固液分离,污泥混合液通过污泥回流管线回流至快速混合器,再生水进入回用水池。
2.如权利要求1所述的一种低碳高效脱氮的方法,其特征在于:在步骤S3中,包括如下步骤:S31、少量剩余污泥经过快速混合器快速混合后进入亚硝态氮稳定获取区,高浓度的NO3-抑制的正向反应,亚硝态氮稳定获取区化学反应式为:NH4++2O2→NO2-+2H2ONH3+1.5O2→NO2-+2H++H2O经过亚硝态氮稳定获取区提高亚硝态氮NO2-的浓度;S32、步骤S31出水进入反硝化反应区中,通过反硝化作用将NO3-还原为NO2-,在通过反硝化作用将NO2-还原为氮气;之后,进入厌氧氨氧化反应区,厌氧氨氧化反应区利用厌氧氨氧化菌,以NO2-作为电子受体,将NH4氧化为N2,反硝化反应区、厌氧氨氧化反应区化学反应式为:NH4++1.5NO3-→0.5N2+2H2ONH4++1.5NO2-+0.5H2O→0.5N2+2H++2H2O。
3.如权利要求1所述的一种低碳高效脱氮的方法,其特征在于:格栅机后端设有进水水质检测管线,进水水质检测管线连接进水水质检测系统,进水水质检测系统将采集的COD、BOD、氨氮、总磷和总氮数据通过网线传送至PLC智能控制系统,通过AI程序实时监测进水碳氮比值。
4.如权利要求3所述的一种低碳高效脱氮的方法,其特征在于:调节池内部设有浮球液位计,调节池末端设有潜水提升泵连接提升管线,提升管线上设有电磁流量计,浮球液位计通过信号线将液位信号传输至PLC智能控制系统。
5.如权利要求1~4任意一项所述的一种低碳高效脱氮的方法,其特征在于:快速混合器内设有DO传感器和PH传感器,DO传感器和PH传感器经多参数在线检测仪将采集到的DO和PH数据通过数据传输线传送至PLC智能控制系统;快速混合器通过加药管线分别与碳源加药装置、PAC加药装置连接。
6.如权利要求5所述的一种低碳高效脱氮的方法,其特征在于:MBR膜池内部设有膜组件,膜组件下端设有曝气装置,曝气装置通过曝气管线与风机连接,膜组件上端通过产水管线与产水泵进水端、反洗泵出水端连接,其中,产水泵出水连接回用水池,反洗泵进水端通过反洗管线连接回用水池;MBR膜池末端底部设有污泥回流泵,污泥回流泵通过污泥回流管线连接快速混合器,污泥回流管线上设有电磁流量计;MBR膜池底部设有放空排泥管线以连通调节池。
7.如权利要求5所述的一种低碳高效脱氮的方法,其特征在于:回用水池末端设有出水水质检测管线;出水水质检测管线连接出水水质检测系统,出水水质检测系统将采集的COD、BOD、氨氮、总磷和总氮数据通过数据传输线传送至PLC智能控制系统,通过程序实时监测出水水质。
8.如权利要求7所述的一种低碳高效脱氮的方法,其特征在于:PLC智能控制系统包括AI算力模块,AI算力模块读取DO浓度和PH浓度实时数据,根据实时采集DO浓度值大小与设定限值进行对比计算,控制增强或减弱污泥回流泵运行频率,调节回流比数值大小,控制快速混合器的DO浓度保持在1mg/L。
9.如权利要求8所述的一种低碳高效脱氮的方法,其特征在于:亚硝态氮稳定获取区和反硝化反应区内部均设有循环推流器,厌氧氨氧化反应区内末端设有内回流泵,内回流泵通过内回流管线连接快速混合器,内回流管线上设有电磁流量计。
10.如权利要求9所述的一种低碳高效脱氮的方法,其特征在于:亚硝态氮稳定获取区、反硝化反应区和厌氧氨氧化反应区底部均设有放空排泥管线连通调节池。
发明内容
为了克服现有技术的不足,本发明提供一种低碳高效脱氮的方法,以解决污水出水总氮过高的问题,从而实现市政污水高效处理的同时,提高再生水品质。
本发明技术方案如下:一种低碳高效脱氮的方法,包括以下步骤:
S1、市政污水经过收集管导流后进入格栅井,通过格栅机去除粗大的悬浮物;
S2、调节池对市政污水进行水量调节、水质均化,得到中和污水;
S3、将中和污水经过潜水提升泵输送至快速混合器,随之中和污水依次进入循环式厌氧氨氧化生物反应器的亚硝态氮稳定获取区、反硝化反应区和厌氧氨氧化反应区,经过循环式厌氧氨氧化生物反应器处理的少量剩余污泥通过内回流管线回流至快速混合器,同时投加PAC药剂,经快速混合器混合后进入循环式厌氧氨氧化生物反应器,反复循环,将NH4氧化为N2,直至氨氮质量浓度小于1.3?/L,其中,快速混合器的DO浓度值控制在0.5?/L~1?/L,反硝化反应区的DO浓度值控制在0.1?/L~0.2?/L,厌氧氨氧化反应区的DO浓度值控制在0?/L~0.05?/L,污泥回流比控制在30%~60%,内回流比控制在150%~200%;
S4、将步骤S3中的污水通入MBR膜池,MBR膜池用于实现泥水固液分离,污泥混合液通过污泥回流管线回流至快速混合器,再生水进入回用水池。
值得一体的是,外回流比也叫污泥回流比,与之相对的内回流比是硝化液回流比,污泥回流比的定义是污泥回流量与曝气池进水量的比值。
进一步地,在步骤S3中,包括如下步骤:
S31、少量剩余污泥经过快速混合器快速混合后进入亚硝态氮稳定获取区,高浓度的NO3-抑制的正向反应,亚硝态氮稳定获取区化学反应式为:
NH4++2O2→NO2-+2H2O
NH3+1.5O2→NO2-+2H++H2O
经过亚硝态氮稳定获取区提高亚硝态氮NO2-的浓度,然后进入下一个除氮处理周期;
S32、步骤S31出水进入反硝化反应区中,通过反硝化作用将NO3-还原为NO2-,在通过反硝化作用将NO2-还原为氮气;之后,进入厌氧氨氧化反应区,厌氧氨氧化反应区利用厌氧氨氧化菌,以NO2-作为电子受体,将NH4氧化为N2,反硝化反应区、厌氧氨氧化反应区化学反应式为:
NH4++1.5NO3-→0.5N2+2H2O
NH4++1.5NO2-+0.5H2O→0.5N2+2H++2H2O。
进一步地,格栅机后端设有进水水质检测管线;进水水质检测管线连接进水水质检测系统,进水水质检测系统将采集的COD、BOD、氨氮、总磷和总氮数据通过网线传送至PLC智能控制系统,通过AI程序实时监测进水碳氮比值。
进一步地,调节池内部设有浮球液位计,调节池末端设有潜水提升泵连接提升管线,提升管线上设有电磁流量计,浮球液位计通过信号线将液位信号传输至PLC智能控制系统。
进一步地,快速混合器内设有DO传感器和PH传感器,DO传感器和PH传感器经多参数在线检测仪将采集到的DO和PH数据通过数据传输线传送至PLC智能控制系统;快速混合器通过加药管线分别与碳源加药装置、PAC加药装置连接。
进一步地,MBR膜池内部设有膜组件,膜组件下端设有曝气装置,曝气装置通过曝气管线与风机连接,膜组件上端通过产水管线与产水泵进水端、反洗泵出水端连接,其中,产水泵出水连接回用水池,反洗泵进水端通过反洗管线连接回用水池;MBR膜池末端底部设有污泥回流泵,污泥回流泵通过污泥回流管线连接快速混合器,污泥回流管线上设有电磁流量计;MBR膜池底部设有放空排泥管线以连通调节池。
进一步地,回用水池末端设有出水水质检测管线;出水水质检测管线连接出水水质检测系统,出水水质检测系统将采集的COD、BOD、氨氮、总磷和总氮数据通过数据传输线传送至PLC智能控制系统,通过程序实时监测出水水质。
进一步地,PLC智能控制系统包括AI算力模块,AI算力模块读取DO浓度和PH浓度实时数据,根据实时采集DO浓度值大小与设定限值进行对比计算,控制增/减污泥回流泵运行频率,调节回流比数值大小,控制快速混合器的DO浓度保持在1mg/L。
进一步地,亚硝态氮稳定获取区和反硝化反应区内部均设有循环推流器,厌氧氨氧化反应区内末端设有内回流泵,内回流泵通过内回流管线连接快速混合器,内回流管线上设有电磁流量计。
进一步地,亚硝态氮稳定获取区、反硝化反应区和厌氧氨氧化反应区底部均设有放空排泥管线连通调节池。
根据上述方案的本发明,其有益效果在于:
(1)本发明提供了一种低碳高效脱氮的方法,快速混合器的DO浓度值控制在0.5?/L~1?/L,反硝化反应区的DO浓度值控制在0.1?/L~0.2?/L;厌氧氨氧化反应区的DO浓度值为0?/L~0.05?/L,污泥回流比控制在30%~60%,内回流比控制在150%~200%,通过严格控制DO浓度值,将DO浓度值控制在最适宜的有效值内,持续稳定的创造了亚硝态氮环境,为后续厌氧氨氧化菌获取稳定反应基质亚硝态氮提供了前提条件,设置反复多次周期性回流循环,呈多倍提升脱氮反应效率,低碳氮比条件下实现厌氧氨氧化协同脱氮,提高功能菌群的丰度,能够节省80%有机碳源,进而降低了污泥产量和温室气体排放,而且,能够使得出水水质稳定达标且优于国家一级A标准和《城市污水再生利用城市杂用水水质》标准。
(2)本发明提供了一种低碳高效脱氮的方法,应用搭载AI算力模块的PLC智能控制技术,高效、科学、实时计算循环式厌氧氨氧化生物反应器前端亚硝态氮稳定获取区的需氧量、内外回流比,使生物系统运行和出水水质更加稳定,同时应用搭载AI算力模块的PLC智能控制技术更符合生化系统运行,降低人工操作强度,提高了污水处理的效率和效果,从而实现节能降耗目标,实现智能与水资源循环利用的高度吻合。
(发明人:彭加顺;吴利肖;朱乐乐;刘高军)






