公布日:2023.10.31
申请日:2023.09.08
分类号:C02F1/04(2023.01)I;C02F1/00(2023.01)I
摘要
本发明涉及工业废水处理技术领域,更具体地说,是一种高浓度工业废水处理装置,包括底座、控制箱、处理箱、进水管以及排水管,所述处理箱和控制箱均设置在底座上,所述处理箱内设置有筛选仓和蒸馏腔,所述筛选仓和蒸馏腔之间设置有若干个通孔,所述进水管上设置有电磁阀,所述处理箱上设置有与筛选仓连通的进水通道,所述废水处理装置还包括:过滤系统,设置在筛选仓内,用于对工业废水做过滤处理;蒸馏系统,设置在蒸馏腔内,用于对过滤后的废水做蒸馏处理,所述过滤系统和蒸馏系统连接,过滤系统工作时控制蒸馏系统同步工作;整个装置自动化程度高,相对于传统的废水处理装置,本装置的过滤效果更佳,工作人员投入量降低且蒸馏效率更高。

权利要求书
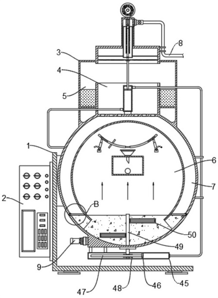
1.一种高浓度工业废水处理装置,包括底座、控制箱、处理箱、进水管以及排水管,所述处理箱和控制箱均设置在底座上,所述处理箱内设置有筛选仓和蒸馏腔,所述筛选仓和蒸馏腔之间设置有若干个通孔,所述进水管上设置有电磁阀,所述处理箱上设置有与筛选仓连通的进水通道,其特征在于,所述废水处理装置还包括:过滤系统,设置在筛选仓内,用于对工业废水做过滤处理;蒸馏系统,设置在蒸馏腔内,用于对过滤后的废水做蒸馏处理,所述过滤系统和蒸馏系统连接,过滤系统工作时控制蒸馏系统同步工作;其中所述过滤系统包括:顶板,活动设置在筛选仓内;底板,活动设置在筛选仓内且位于顶板的一侧,所述底板和顶板连接,所述底板上设置有滤网;回收仓,设置在处理箱上且与筛选仓连通;驱动模块,设置在顶板和处理箱之间,废水冲击底板下移时通过驱动模块控制顶板和底板转动;以及传动模块,设置在筛选仓内且将底板和蒸馏系统连接,所述底板运动时通过传动模块控制蒸馏系统工作;所述蒸馏系统包括:流道,设置在蒸馏腔内;加热模块,设置在处理箱上,用于加热蒸馏腔内的废水;接水模块,设置在蒸馏腔内且与排水管连通,用于冷凝水蒸气并将水从排水管排出;以及监控模块,设置在流道内且与控制箱电性连接,用于监控蒸馏腔内的水位高度;所述加热模块包括:转轴,活动设置在蒸馏腔内;加热器,数量为若干个且交错布设在转轴的外壁上;驱动箱,设置在处理箱内,所述驱动箱内活动设置有与转轴同轴连接的齿轮;二号活塞,活动设置在处理箱内且两者之间弹性连接,所述传动模块工作时可向驱动箱内充气;以及齿条,设置在二号活塞上且与齿轮相啮合;所述接水模块包括:冷凝板,数量为一组且对称活动设置在蒸馏腔内,相邻冷凝板之间通过软板连接;滑柱,每个所述冷凝板上均成型有导轨,所述滑柱活动设置在导轨内;气缸,活动设置在蒸馏腔内且其活动端和滑柱连接,所述气缸和传动模块连接;排水箱,设置在蒸馏腔内且与排水管连通;以及接水漏斗,设置在排水箱上且位于冷凝板和排水箱之间;所述传动模块包括:空心管,设置在筛选仓内且位于底板的一侧;一号活塞,活动设置在空心管内且将空心管分隔为一号腔体和二号腔体,所述一号活塞通过滑杆和底板活动连接;一号输出管,连接在一号腔体和气缸之间;以及二号输出管,连接在二号腔体和驱动箱连通。
2.根据权利要求1所述的高浓度工业废水处理装置,其特征在于,所述驱动模块包括:滑动筒,活动设置在进水通道内且与顶板连接;驱动管,设置在处理箱上,所述驱动管内壁上成型有螺旋槽;滑动座,活动设置在驱动管内且与顶板连接,所述滑动座上滑动嵌设有与螺旋槽滑动配合的滚珠;以及固定箱,活动设置在处理箱上,所述固定箱内收卷有发条,所述滑动座上活动设置有拉环,所述拉环和发条的自由端连接。
3.根据权利要求2所述的高浓度工业废水处理装置,其特征在于,所述固定箱和发条之间设置有控制单元,用于控制电磁阀的启闭。
4.根据权利要求3所述的高浓度工业废水处理装置,其特征在于,所述控制单元包括导电头和导电片;所述导电头活动设置在固定箱上成型的导槽上,所述导电片设置在固定箱上且位于导电头的移动路径上,所述导电头和发条连接。
5.根据权利要求1所述的高浓度工业废水处理装置,其特征在于,所述监控模块包括:浮板,一端通过螺纹轴活动连接在流道内,所述浮板内设置有卡槽,所述螺纹轴上设置有与卡槽滑动配合的卡条;监控箱,设置在处理箱内,所述监控箱内设置有与控制箱电性连接的压力传感器;监控块,活动设置在监控箱内且与螺纹轴活动连接,所述螺纹轴和监控箱螺纹配合;以及抵触头,活动设置在监控块和压力传感器之间,所述抵触头和监控块之间通过弹性件连接。
6.一种高浓度工业废水处理方法,包括权利要求1所述的废水处理装置,其特征在于,所述废水处理方法具体步骤如下:S100:通过控制电磁阀打开能够将废水输入到进水通道内;S200:废水落在底板上时能够冲击底板并使得底板以及顶板下移,在驱动模块的作用下,控制底板、顶板以及滤网转动,能够将遗留在滤网上的杂质甩入回收仓内;S300:经过过滤处理的废水顺着通孔进入蒸馏腔内,通过传动模块控制蒸馏系统工作对废水做蒸馏处理并最终将洁净水从排水管排出。
发明内容
本发明的目的在于提供一种高浓度工业废水处理装置,以解决上述背景技术中提出的问题。
为实现上述目的,本发明提供如下技术方案:
一种高浓度工业废水处理装置,包括底座、控制箱、处理箱、进水管以及排水管,所述处理箱和控制箱均设置在底座上,所述处理箱内设置有筛选仓和蒸馏腔,所述筛选仓和蒸馏腔之间设置有若干个通孔,所述进水管上设置有电磁阀,所述处理箱上设置有与筛选仓连通的进水通道,所述废水处理装置还包括:
过滤系统,设置在筛选仓内,用于对工业废水做过滤处理;
蒸馏系统,设置在蒸馏腔内,用于对过滤后的废水做蒸馏处理,所述过滤系统和蒸馏系统连接,过滤系统工作时控制蒸馏系统同步工作;其中
所述过滤系统包括:
顶板,活动设置在筛选仓内;
底板,活动设置在筛选仓内且位于顶板的一侧,所述底板和顶板连接,所述底板上设置有滤网;
回收仓,设置在处理箱上且与筛选仓连通;
驱动模块,设置在顶板和处理箱之间,废水冲击底板下移时通过驱动模块控制顶板和底板转动;以及
传动模块,设置在筛选仓内且将底板和蒸馏系统连接,所述底板运动时通过传动模块控制蒸馏系统工作。
本申请更进一步的技术方案:所述驱动模块包括:
滑动筒,活动设置在进水通道内且与顶板连接;
驱动管,设置在处理箱上,所述驱动管内壁上成型有螺旋槽;
滑动座,活动设置在驱动管内且与顶板连接,所述滑动座上滑动嵌设有与螺旋槽滑动配合的滚珠;以及
固定箱,活动设置在处理箱上,所述固定箱内收卷有发条,所述滑动座上活动设置有拉环,所述拉环和发条的自由端连接。
本申请更进一步的技术方案:所述固定箱和发条之间设置有控制单元,用于控制电磁阀的启闭。
本申请更进一步的技术方案:所述控制单元包括导电头和导电片;
所述导电头活动设置在固定箱上成型的导槽上,所述导电片设置在固定箱上且位于导电头的移动路径上,所述导电头和发条连接。
本申请又进一步的技术方案:所述蒸馏系统包括:
流道,设置在蒸馏腔内;
加热模块,设置在处理箱上,用于加热蒸馏腔内的废水;
接水模块,设置在蒸馏腔内且与排水管连通,用于冷凝水蒸气并将水从排水管排出;以及
监控模块,设置在流道内且与控制箱电性连接,用于监控蒸馏腔内的水位高度。
本申请又进一步的技术方案:所述加热模块包括:
转轴,活动设置在蒸馏腔内;
加热器,数量为若干个且交错布设在转轴的外壁上;
驱动箱,设置在处理箱内,所述驱动箱内活动设置有与转轴同轴连接的齿轮;
二号活塞,活动设置在处理箱内且两者之间弹性连接,所述传动模块工作时可向驱动箱内充气;以及
齿条,设置在二号活塞上且与齿轮相啮合。
本申请又进一步的技术方案:所述接水模块包括:
冷凝板,数量为一组且对称活动设置在蒸馏腔内,相邻冷凝板之间通过软板连接;
滑柱,每个所述冷凝板上均成型有导轨,所述滑柱活动设置在导轨内;
气缸,活动设置在蒸馏腔内且其活动端和滑柱连接,所述气缸和传动模块连接;
排水箱,设置在蒸馏腔内且与排水管连通;以及
接水漏斗,设置在排水箱上且位于冷凝板和排水箱之间。
本申请再进一步的技术方案:所述传动模块包括:
空心管,设置在筛选仓内且位于底板的一侧;
一号活塞,活动设置在空心管内且将空心管分隔为一号腔体和二号腔体,所述一号活塞通过滑杆和底板活动连接;
一号输出管,连接在一号腔体和气缸之间;以及
二号输出管,连接在二号腔体和驱动箱连通。
本申请再进一步的技术方案:所述监控模块包括:
浮板,一端通过螺纹轴活动连接在流道内,所述浮板内设置有卡槽,所述螺纹轴上设置有与卡槽滑动配合的卡条;
监控箱,设置在处理箱内,所述监控箱内设置有与控制箱电性连接的压力传感器;
监控块,活动设置在监控箱内且与螺纹轴活动连接,所述螺纹轴和监控箱螺纹配合;以及
抵触头,活动设置在监控块和压力传感器之间,所述抵触头和监控块之间通过弹性件连接。
一种高浓度工业废水处理方法,包括上述技术方案所述的废水处理装置,所述废水处理方法具体步骤如下:
S100:通过控制电磁阀打开能够将废水输入到进水通道内;
S200:废水落在底板上时能够冲击底板并使得底板以及顶板下移,在驱动模块的作用下,控制底板、顶板以及滤网转动,能够将遗留在滤网上的杂质甩入回收仓内;
S300:经过过滤处理的废水顺着通孔进入蒸馏腔内,通过传动模块控制蒸馏系统工作对废水做蒸馏处理并最终将洁净水从排水管排出。
采用本发明实施例提供的技术方案,与现有技术相比,具有如下有益效果:
本发明实施例通过设置过滤系统和蒸馏系统,一方面能够利用废水进入进水通道时对底板的冲击力,使得底板和滤网上下移动的过程中旋转,实现对废水进行过滤处理的同时,还能够利用离心力的作用将滤网上的杂质清理且统一收集,另一方面,能够利用联动的结构,带动蒸馏系统工作,对过滤后的废水进行高效蒸馏从而得到洁净水,整个装置自动化程度高,相对于传统的废水处理装置,本装置的过滤效果更佳,工作人员投入量降低且蒸馏效率更高。
(发明人:陆赛飞;张峰;丁浩澎;曾文勇;张薇薇)






