公布日:2023.10.03
申请日:2023.08.09
分类号:C02F3/28(2023.01)I;B01F27/91(2022.01)I
摘要
本发明属于国产农村野外A片性视频技术领域,尤其是一种复合厌氧反应器,本发明包括:反应器罐体,用于对污水的厌氧处理,反应器罐体上分别连接有进料管和出料管;浮渣清理机构,用于对反应器罐体顶部浮渣层清理;搅拌机构,搅拌机构包括搅拌电机、连接在搅拌电机上的转动轴,转动轴转动时带动浮渣清理机构对浮渣层清理;搅拌器,用于对反应器罐体底部污泥层搅拌,固定安装在转动轴上,反应器罐体底部设有排污泥管;本发明通过在反应器罐体顶部设有浮渣清理机构,对反应器罐体顶部的浮渣进行清理,避免反应器罐体顶部浮渣聚集影响混合液反应。

权利要求书
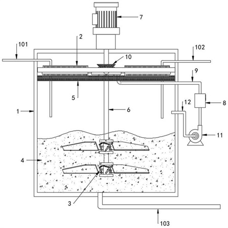
1.一种复合厌氧反应器,其特征在于,包括:反应器罐体(1),用于对污水的厌氧处理,所述反应器罐体(1)上分别连接有进料管(101)和出料管(102);浮渣清理机构(2),用于对反应器罐体(1)顶部浮渣层(5)清理;搅拌机构,所述搅拌机构包括搅拌电机(7)、连接在搅拌电机(7)上的转动轴(6),转动轴(6)转动时带动浮渣清理机构(2)对浮渣层(5)清理;搅拌器(3),用于对反应器罐体(1)底部污泥层(4)搅拌,固定安装在所述转动轴(6)上,所述反应器罐体(1)底部设有排污泥管(103)。
2.根据权利要求1所述的一种复合厌氧反应器,其特征在于,所述浮渣清理机构(2)包括:环形结构的收集壳体(21),设置在转动轴(6)的外围;若干个可以转动的外筒(22),均匀设置在所述收集壳体(21)的周侧,所述外筒(22)表面沿其径向均匀设有若干个进料口(221);若干个内筒(24),设置在对应所述外筒(22)内部且与收集壳体(21)固定连接;所述内筒(24)表面设有进料嘴(241);外筒(22)转动时,浮渣通过进料口(221)进入外筒(22)后,再通过进料嘴(241)进入内筒(24)内。
3.根据权利要求2所述的一种复合厌氧反应器,其特征在于,所述外筒(22)内部固定连接有转动杆(25),转动连接在所述收集壳体(21)上,所述转动杆(25)一端延伸至所述收集壳体(21)内圈且固定连接有从动锥齿轮(23),所述转动轴(6)上固定连接有与所述从动锥齿轮(23)啮合的主动锥齿轮(10);所述转动杆(25)表面连接有螺旋叶片(27),设置在内筒(24)内部,用于将内筒(24)内的浮渣输送至收集壳体(21)内。
4.根据权利要求3所述的一种复合厌氧反应器,其特征在于,所述所述浮渣清理机构(2)还包括安装环(28),与反应器罐体(1)内壁固定连接,用于将浮渣清理机构(2)固定在所述反应器罐体(1)内部,所述外筒(22)与所述安装环(28)转动连接。
5.根据权利要求4所述的一种复合厌氧反应器,其特征在于,所述外筒(22)表面位于所述进料口(221)一侧设有导料板(26),外筒(22)转动时,浮渣沿着导料板(26)表面通过进料口(221)进入外筒(22)内。
6.根据权利要求5所述的一种复合厌氧反应器,其特征在于,所述导料板(26)包括:直板(261),与外筒(22)外表面固定连接,所述直板(261)表面设有若干滤水孔(263);弯板(262),设置在直板(261)上;且所述导料板(26)两端设有挡板(264)。
7.根据权利要求6所述的一种复合厌氧反应器,其特征在于,所述收集壳体(21)上连接有排渣管(9),所述排渣管(9)的一端连接有排渣泵(11);所述排渣泵(11)上连接有循环管(12),与反应器罐体(1)连接;且所述排渣管(9)上连接有滤渣装置(8);排渣泵(11)通过排渣管(9)将收集壳体(21)内的浮渣和污水的混合物抽出,混合物通过滤渣装置(8)过滤,浮渣停留在滤渣装置(8)内,污水过滤后经过循环管(12)再次进入反应器罐体(1)内。
8.根据权利要求7所述的一种复合厌氧反应器,其特征在于,所述滤渣装置(8)包括滤筒(81),所述滤筒(81)内通过支架(83)固定连接有滤板(82),所述滤筒(81)上设有用于清理滤板(82)表面浮渣的清理口(84)。
9.根据权利要求1或8所述的一种复合厌氧反应器,其特征在于,所述搅拌器(3)包括:连接座(31),呈“工”字形结构,与转动轴(6)固定连接;若干个搅拌叶片(32),所述搅拌叶片(32)上连接有叶片转轴(33),所述叶片转轴(33)与所述连接座(31)转动连接。
10.根据权利要求9所述的一种复合厌氧反应器,其特征在于,所述叶片转轴(33)上固定连接有拉杆(34),所述拉杆(34)与连接座(31)之间连接有拉簧(35),且所述连接座(31)上设有用于对拉杆(34)限位的挡块(36)。
发明内容
针对现有技术的不足,本发明提供了一种复合厌氧反应器,通过在反应器罐体顶部设有浮渣清理机构,对反应器罐体顶部的浮渣进行清理,旨在解决背景技术中的问题。
为达到上述技术目的,本发明的具体技术方案如下,本发明提出的一种复合厌氧反应器,包括:反应器罐体,用于对污水的厌氧处理,所述反应器罐体上分别连接有进料管和出料管;浮渣清理机构,用于对反应器罐体顶部浮渣层清理;搅拌机构,所述搅拌机构包括搅拌电机、连接在搅拌电机上的转动轴,转动轴转动时带动浮渣清理机构对浮渣层清理;搅拌器,用于对反应器罐体底部污泥层搅拌,固定安装在所述转动轴上,所述反应器罐体底部设有排污泥管。
作为本发明的一种优选技术方案,所述浮渣清理机构包括:环形结构的收集壳体,设置在转动轴的外围;若干个可以转动的外筒,均匀设置在所述收集壳体的周侧,所述外筒表面沿其径向均匀设有若干个进料口;若干个内筒,设置在对应所述外筒内部且与收集壳体固定连接;所述内筒表面设有进料嘴;外筒转动时,浮渣通过进料口进入外筒后,再通过进料嘴进入内筒内。
作为本发明的一种优选技术方案,所述外筒内部固定连接有转动杆,转动连接在所述收集壳体上,所述转动杆一端延伸至所述收集壳体内圈且固定连接有从动锥齿轮,所述转动轴上固定连接有与所述从动锥齿轮啮合的主动锥齿轮;所述转动杆表面连接有螺旋叶片,设置在内筒内部,用于将内筒内的浮渣输送至收集壳体内。
作为本发明的一种优选技术方案,所述所述浮渣清理机构还包括安装环,与反应器罐体内壁固定连接,用于将浮渣清理机构固定在所述反应器罐体内部,所述外筒与所述安装环转动连接。
作为本发明的一种优选技术方案,所述外筒表面位于所述进料口一侧设有导料板,外筒转动时,浮渣沿着导料板表面通过进料口进入外筒内。
作为本发明的一种优选技术方案,所述导料板包括:直板,与外筒外表面固定连接,所述直板表面设有若干滤水孔;弯板,设置在直板上;且所述导料板两端设有挡板。
作为本发明的一种优选技术方案,所述收集壳体上连接有排渣管,所述排渣管的一端连接有排渣泵;所述排渣泵上连接有循环管,与反应器罐体连接;且所述排渣管上连接有滤渣装置;排渣泵通过排渣管将收集壳体内的浮渣和污水的混合物抽出,混合物通过滤渣装置过滤,浮渣停留在滤渣装置内,污水过滤后经过循环管再次进入反应器罐体内。
作为本发明的一种优选技术方案,所述滤渣装置包括滤筒,所述滤筒内通过支架固定连接有滤板,所述滤筒上设有用于清理滤板表面浮渣的清理口。
作为本发明的一种优选技术方案,所述搅拌器包括:连接座,呈“工”字形结构,与转动轴固定连接;若干个搅拌叶片,所述搅拌叶片上连接有叶片转轴,所述叶片转轴与所述连接座转动连接。
作为本发明的一种优选技术方案,所述叶片转轴上固定连接有拉杆,所述拉杆与连接座之间连接有拉簧,且所述连接座上设有用于对拉杆限位的挡块。
本发明中的有益效果为:
1、本发明通过在反应器罐体顶部设有浮渣清理机构,浮渣清理机构通过设有外筒、内筒和收集壳体,外筒转动时,浮渣通过进料口和进料嘴进入内筒内,并通过螺旋叶片输送至收集壳体,然后通过排渣泵抽出,达到对反应器罐体顶部浮渣清理的目的,避免反应器罐体顶部浮渣聚集影响混合液反应。
2、本发明搅拌器通过设有可转动的搅拌叶片,叶片转动轴上连接有拉杆,拉杆与连接座之间连接有拉簧,当其搅拌器启动时,由于污泥粘性大、阻力大,搅拌叶片在受到阻力后由倾斜状态转动至近似水平状态,减小了搅拌叶片与污泥之间的接触面积,进而减小了转动阻力,对搅拌叶片和搅拌器起到保护的作用。
(发明人:陆军;卓顺智;张维;易鑫荣;徐河民)






