公布日:2023.09.29
申请日:2023.07.28
分类号:B30B9/22(2006.01)I;B30B9/24(2006.01)I;B30B9/26(2006.01)I;B30B15/00(2006.01)I;C02F11/123(2019.01)I
摘要
本发明涉及压泥机技术领域,尤其涉及塑料行业专用压泥机。其技术方案包括:压泥机本体、连接罩、转轴、支撑架和滤布,所述压泥机本体一侧外壁安装有连接罩,所述连接罩两侧外壁均开设有走料口,所述连接罩内壁下端一侧转动安装有转轴,所述连接罩内壁下端一侧插接安装有等距平行分布的进液管,所述连接罩内壁上下两侧均安装有支撑架,所述支撑架内部对称开设有活动孔,所述活动孔内部活动安装有连接杆,所述连接杆一端外壁安装有卡套,通过设置挤压辊、喷头和搅拌杆,达到了对滤布进行清洁的效果,使滤布外壁的残存污泥脱落,且搅使滤布内部的水分排出,保证滤布的干燥性,保证滤布的清洁性。

权利要求书
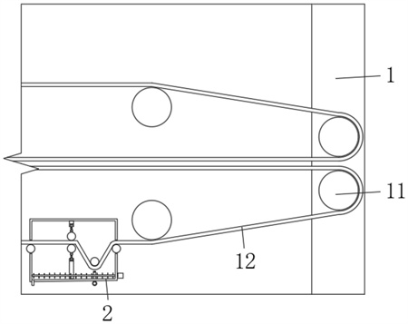
1.塑料行业专用压泥机,包括压泥机本体(1)、连接罩(2)、转轴(3)、支撑架(4)和滤布(12),其特征在于:所述压泥机本体(1)一侧外壁安装有连接罩(2),所述连接罩(2)两侧外壁均开设有走料口(21),所述连接罩(2)内壁下端一侧转动安装有转轴(3),所述连接罩(2)内壁下端一侧插接安装有等距平行分布的进液管(25),所述连接罩(2)内壁上下两侧均安装有支撑架(4),所述支撑架(4)内部对称开设有活动孔(41),所述活动孔(41)内部活动安装有连接杆(42),所述连接杆(42)一端外壁安装有卡套(43)。
2.根据权利要求1所述的塑料行业专用压泥机,其特征在于:所述压泥机本体(1)外壁安装有等距平行分布的传动辊(11),所述传动辊(11)外壁设置有滤布(12),所述传动辊(11)能够驱动滤布(12)发生移动,从而通过滤布(12)能够通过挤压对泥浆进行挤压过滤,使泥浆内部的水分通过滤布(12)排出。
3.根据权利要求1所述的塑料行业专用压泥机,其特征在于:所述走料口(21)内壁一侧转动安装有第一导向辊(22),所述第一导向辊(22)与滤布(12)外壁相接触,所述第一导向辊(22)保证滤布(12)在走料口(21)内部的移动流畅性。
4.根据权利要求1所述的塑料行业专用压泥机,其特征在于:所述连接罩(2)内壁一侧转动安装有第二导向辊(23),所述滤布(12)位于第二导向辊(23)外壁,且第二导向辊(23)能够对滤布(12)的移动轨迹进行限制。
5.根据权利要求1所述的塑料行业专用压泥机,其特征在于:所述连接罩(2)内壁下端一侧插接安装有排污管(27),所述连接罩(2)内部的污水通过排污管(27)排出,所述连接罩(2)内壁下端采用倾斜形状设计,能够保证连接罩(2)内部液体的排出流畅性。
6.根据权利要求1所述的塑料行业专用压泥机,其特征在于:所述转轴(3)贯穿连接罩(2)一端外壁设置有电机本体(32),所述电机本体(32)能够带动转轴(3)发生圆周转动;所述转轴(3)外壁安装有等距平行分布的搅拌杆(31),所述转轴(3)和搅拌杆(31)能够对连接罩(2)内部的污水进行搅拌,对污水中的泥块进行破碎,避免污泥排出时堵塞。
7.根据权利要求1所述的塑料行业专用压泥机,其特征在于:所述所述进液管(25)下端外壁一侧插接安装有连通管(24),所述连通管(24)与外置的水泵相连接,能够使清洗液体加压输送至进液管(25)内部。
8.根据权利要求1所述的塑料行业专用压泥机,其特征在于:所述进液管(25)上端外壁一侧插接安装有喷头(26),所述进液管(25)颞部的清洗液体能够通过喷头(26)喷出,从而对滤布(12)进行冲洗。
9.根据权利要求1所述的塑料行业专用压泥机,其特征在于:所述连接杆(42)一侧外壁设置有弹簧(44),所述卡套(43)通过弹簧(44)与支撑架(4)之间弹性连接。
10.根据权利要求1所述的塑料行业专用压泥机,其特征在于:所述卡套(43)内部转动安装有挤压辊(45),所述滤布(12)位于挤压辊(45)之间,且挤压辊(45)能够对滤布(12)进行挤压,使滤布(12)内部的液体挤出。
发明内容
本发明的目的在于提供塑料行业专用压泥机,以解决上述背景技术中提出的问题。
为实现上述目的,本发明提供如下技术方案:塑料行业专用压泥机,包括压泥机本体、连接罩、转轴、支撑架和滤布,所述压泥机本体一侧外壁安装有连接罩,所述连接罩两侧外壁均开设有走料口,所述连接罩内壁下端一侧转动安装有转轴,所述连接罩内壁下端一侧插接安装有等距平行分布的进液管,所述连接罩内壁上下两侧均安装有支撑架,所述支撑架内部对称开设有活动孔,所述活动孔内部活动安装有连接杆,所述连接杆一端外壁安装有卡套。
使用本技术方案中塑料行业专用压泥机时,泥浆在滤布之间,且通过传动辊对滤布上的泥浆进行压滤,使污泥脱水,冲洗液体通过喷头对滤布外壁进行冲洗,使滤布外壁的残存污泥脱落,且搅拌杆对污水中的泥块进行打碎,污水通过排污管排出,挤压辊通过弹簧对滤布进行挤压,使滤布内部的水分排出。
优选的,所述压泥机本体外壁安装有等距平行分布的传动辊,所述传动辊外壁设置有滤布,所述传动辊能够驱动滤布发生移动,从而通过滤布能够通过挤压对泥浆进行挤压过滤,使泥浆内部的水分通过滤布排出。
优选的,所述走料口内壁一侧转动安装有第一导向辊,所述第一导向辊与滤布外壁相接触,所述第一导向辊保证滤布在走料口内部的移动流畅性。
优选的,所述连接罩内壁一侧转动安装有第二导向辊,所述滤布位于第二导向辊外壁,且第二导向辊能够对滤布的移动轨迹进行限制。
优选的,所述连接罩内壁下端一侧插接安装有排污管,所述连接罩内部的污水通过排污管排出,所述连接罩内壁下端采用倾斜形状设计,能够保证连接罩内部液体的排出流畅性。
优选的,所述转轴贯穿连接罩一端外壁设置有电机本体,所述电机本体能够带动转轴发生圆周转动;
所述转轴外壁安装有等距平行分布的搅拌杆,所述转轴和搅拌杆能够对连接罩内部的污水进行搅拌,对污水中的泥块进行破碎,避免污泥排出时堵塞。
优选的,所述所述进液管下端外壁一侧插接安装有连通管,所述连通管与外置的水泵相连接,能够使清洗液体加压输送至进液管内部。
优选的,所述进液管上端外壁一侧插接安装有喷头,所述进液管颞部的清洗液体能够通过喷头喷出,从而对滤布进行冲洗。
优选的,所述连接杆一侧外壁设置有弹簧,所述卡套通过弹簧与支撑架之间弹性连接。
优选的,所述卡套内部转动安装有挤压辊,所述滤布位于挤压辊之间,且挤压辊能够对滤布进行挤压,使滤布内部的液体挤出。
与现有技术相比,本发明的有益效果是:本发明通过设置挤压辊、喷头和搅拌杆,达到了对滤布进行清洁的效果,泥浆在滤布之间,且通过传动辊对滤布上的泥浆进行压滤,使污泥脱水,冲洗液体通过喷头对滤布外壁进行冲洗,使滤布外壁的残存污泥脱落,且搅拌杆对污水中的泥块进行打碎,污水通过排污管排出,挤压辊通过弹簧对滤布进行挤压,使滤布内部的水分排出,保证滤布的干燥性,保证滤布的清洁性。
(发明人:张盼松)






