公布日:2023.09.22
申请日:2023.06.07
分类号:C02F11/13(2019.01)I;B01D53/26(2006.01)I;B08B1/00(2006.01)I;C02F11/00(2006.01)I
摘要
本发明公开了一种封闭循环处理模块及带此模块的污泥干化系统及工艺,包括封闭箱,所述封闭箱的底部中间固定设置有排料端,所述封闭箱的内腔设置有干化处理组件,所述封闭箱的前端左右两侧均固定设置有热风机,本发明涉及污泥干化技术领域。该封闭循环处理模块及带此模块的污泥干化系统及工艺,通过挤出管、刀片、齿条以及第一齿轮之间的相互配合,能将挤出的污泥切成小块的泥球,小块的泥球能与热空气充分接触,进而使污泥中的水分快速分离出来,实现彻底干化的目的,通过贯通盒、吹气管、弧形罩以及吹气口之间的相互配合,能延长小块泥球落进弧形罩中的时间,使泥球表面彻底干化,避免之后出现粘连的情况。

权利要求书
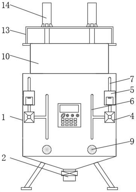
1.一种封闭循环处理模块,包括封闭箱,其特征在于:所述封闭箱的底部中间固定设置有排料端,所述封闭箱的内腔设置有干化处理组件,所述封闭箱的前端左右两侧均固定设置有热风机,所述封闭箱的前端左右两侧且位于对应热风机的上方均固定设置有容纳盒,两个所述热风机的排气端均固定连通有T型管,两个所述热风机的进气端均与相邻容纳盒的内部固定连通,两个所述容纳盒的顶部均固定连通有抽气管,两个所述抽气管的顶部均与封闭箱的内部固定连通,两个所述容纳盒的内部均填充有干燥剂颗粒,所述封闭箱前端下部的左右两侧均固定设置有第一伺服电机。
2.根据权利要求1所述的一种封闭循环处理模块,其特征在于:所述干化处理组件包括两个贯通盒,两个所述贯通盒的前后端均通过支杆与封闭箱的内壁固定连接,两个所述贯通盒的内壁一圈均开设有汇通腔,所述汇通腔的前端与对应T型管的顶部固定连通,所述贯通盒的内壁均匀固定设置有若干与汇通腔相连通的吹气管,两个所述贯通盒的顶部前后端均开设有滑槽,所述贯通盒的顶部左右两侧均固定设置有清洁套机构,每个所述滑槽的内部均滑动设置有滑块,前部两个滑块的顶部之间以及后部两个滑块的顶部之间均固定设置有连杆,左部两个所述连杆之间以及右部两个连杆之间均固定设置有刀片。
3.根据权利要求2所述的一种封闭循环处理模块,其特征在于:前部所述连杆的前端之间以及后部两个连杆的后端之间均固定设置有齿条,两个所述贯通盒的前部之间以及后部之间均固定设置有承载板,每个所述承载板的顶部均固定设置有第二伺服电机,所述第二伺服电机的输出端固定设置有第一齿轮,所述第一齿轮与相邻齿条啮合连接。
4.根据权利要求2所述的一种封闭循环处理模块,其特征在于:所述贯通盒的内腔下部前后壁之间固定设置有导向条机构,所述贯通盒的底部前后端均固定设置有连板,两个所述连板之间固定贯穿有转轴,所述转轴固定连接在封闭箱的内腔前后壁之间,所述转轴的外部转动套设有弧形罩,所述弧形罩的内壁开设有通气腔,所述通气腔的前端与对应T型管的底部通过软管固定连通,所述通气腔靠近贯通盒的一侧均匀开设有若干吹气口。
5.根据权利要求4所述的一种封闭循环处理模块,其特征在于:所述弧形罩的底部前后端均固定设置有弧形齿条,所述封闭箱内腔左右两侧的前后壁之间均转动设置有轴杆,所述轴杆的前端与对应第一伺服电机的输出端固定连接,所述轴杆的外壁前后端均固定套设有第二齿轮,所述第二齿轮的顶部与对应弧形齿条的底部相啮合,所述转轴的底部均匀固定设置有若干搅拌杆。
6.根据权利要求2所述的一种封闭循环处理模块,其特征在于:每个所述清洁套机构均包括清洁刮套,所述清洁刮套的底部固定连接在贯通盒的顶部,所述清洁刮套的内腔远离刀片的一侧均匀固定设置有若干第一弹簧,若干所述第一弹簧靠近刀片的一侧之间固定设置有推条。
7.根据权利要求4所述的一种封闭循环处理模块,其特征在于:所述导向条机构包括支撑条,所述支撑条固定连接在贯通盒内腔下部的前后壁之间,所述支撑条的内部从前到后均匀开设有若干缓冲腔,每个所述缓冲腔的内部均滑动贯穿有T型杆,所述T型杆的底部与缓冲腔的底部之间通过第二弹簧固定连接,所述T型杆的顶部固定设置有弧形导向罩。
8.根据权利要求1所述的一种带有封闭循环处理模块的污泥干化系统,包括污泥放置箱,其特征在于:所述污泥放置箱的底部固定连接在封闭箱的顶部,所述污泥放置箱的底部左右两侧从前到后均固定贯穿有若干挤出管,每个所述挤出管的底部均贯穿封闭箱的顶部,所述污泥放置箱和挤出管的内壁均固定贯穿有若干电热丝。
9.根据权利要求8所述的一种带有封闭循环处理模块的污泥干化系统,其特征在于:所述污泥放置箱的顶部左右两侧之间固定设置有支架,所述支架的顶部左右两侧均固定设置有液压杆,两个所述液压杆的底部之间固定设置有滑动贯穿污泥放置箱内部的推板。
10.一种实施权利要求9所述带有封闭循环处理模块的污泥干化系统的干化工艺,其特征在于:该工艺包括以下步骤:步骤一、电热丝通电发热,将污泥放置在污泥放置箱的内部,然后启动液压杆,带动推板下移,使推板位于污泥放置箱的内部,电热丝对污泥放置箱中的污泥进行加热,使污泥实现初步的脱水干化;步骤二、然后再次启动液压杆,将推板向下推动,慢慢向下挤压污泥,最底部的污泥被挤入挤出管中,经过挤出管的过程中,污泥进一步脱水干化,然后在干化处理组件的作用下,从挤出管中被挤出的污泥先被切成泥球,泥球下落经过干化处理组件的内部;步骤三、热风机工作,通过T型管向干化处理组件中吹入热气,吹向经过干化处理组件中的泥球,使泥球实现彻底的脱水干化,潮湿的热气被热风机通过抽气管再次抽吸出来,先经过容纳盒的内部,在干燥剂颗粒的作用下,潮湿的热气被干燥,干燥之后的热气继续吹向封闭箱的内部实现循环。
发明内容
针对现有技术的不足,本发明提供了一种封闭循环处理模块及带此模块的污泥干化系统及工艺,解决了使污泥与热空气的接触面积有限,无法使污泥中的水分快速分离出来,存在干化不彻底的情况的问题。
为实现以上目的,本发明通过以下技术方案予以实现:一种封闭循环处理模块,包括封闭箱,所述封闭箱的底部中间固定设置有排料端,所述封闭箱的内腔设置有干化处理组件,所述封闭箱的前端左右两侧均固定设置有热风机,所述封闭箱的前端左右两侧且位于对应热风机的上方均固定设置有容纳盒,两个所述热风机的排气端均固定连通有T型管,两个所述热风机的进气端均与相邻容纳盒的内部固定连通,两个所述容纳盒的顶部均固定连通有抽气管,两个所述抽气管的顶部均与封闭箱的内部固定连通,两个所述容纳盒的内部均填充有干燥剂颗粒,所述封闭箱前端下部的左右两侧均固定设置有第一伺服电机。
优选的,所述干化处理组件包括两个贯通盒,两个所述贯通盒的前后端均通过支杆与封闭箱的内壁固定连接,两个所述贯通盒的内壁一圈均开设有汇通腔,所述汇通腔的前端与对应T型管的顶部固定连通,所述贯通盒的内壁均匀固定设置有若干与汇通腔相连通的吹气管,两个所述贯通盒的顶部前后端均开设有滑槽,所述贯通盒的顶部左右两侧均固定设置有清洁套机构,每个所述滑槽的内部均滑动设置有滑块,前部两个滑块的顶部之间以及后部两个滑块的顶部之间均固定设置有连杆,左部两个所述连杆之间以及右部两个连杆之间均固定设置有刀片。
优选的,前部所述连杆的前端之间以及后部两个连杆的后端之间均固定设置有齿条,两个所述贯通盒的前部之间以及后部之间均固定设置有承载板,每个所述承载板的顶部均固定设置有第二伺服电机,所述第二伺服电机的输出端固定设置有第一齿轮,所述第一齿轮与相邻齿条啮合连接。
优选的,所述贯通盒的内腔下部前后壁之间固定设置有导向条机构,所述贯通盒的底部前后端均固定设置有连板,两个所述连板之间固定贯穿有转轴,所述转轴固定连接在封闭箱的内腔前后壁之间,所述转轴的外部转动套设有弧形罩,所述弧形罩的内壁开设有通气腔,所述通气腔的前端与对应T型管的底部通过软管固定连通,所述通气腔靠近贯通盒的一侧均匀开设有若干吹气口。
优选的,所述弧形罩的底部前后端均固定设置有弧形齿条,所述封闭箱内腔左右两侧的前后壁之间均转动设置有轴杆,所述轴杆的前端与对应第一伺服电机的输出端固定连接,所述轴杆的外壁前后端均固定套设有第二齿轮,所述第二齿轮的顶部与对应弧形齿条的底部相啮合,所述转轴的底部均匀固定设置有若干搅拌杆。
优选的,每个所述清洁套机构均包括清洁刮套,所述清洁刮套的底部固定连接在贯通盒的顶部,所述清洁刮套的内腔远离刀片的一侧均匀固定设置有若干第一弹簧,若干所述第一弹簧靠近刀片的一侧之间固定设置有推条。
优选的,所述导向条机构包括支撑条,所述支撑条固定连接在贯通盒内腔下部的前后壁之间,所述支撑条的内部从前到后均匀开设有若干缓冲腔,每个所述缓冲腔的内部均滑动贯穿有T型杆,所述T型杆的底部与缓冲腔的底部之间通过第二弹簧固定连接,所述T型杆的顶部固定设置有弧形导向罩。
一种带有封闭循环处理模块的污泥干化系统,包括污泥放置箱,所述污泥放置箱的底部固定连接在封闭箱的顶部,所述污泥放置箱的底部左右两侧从前到后均固定贯穿有若干挤出管,每个所述挤出管的底部均贯穿封闭箱的顶部,所述污泥放置箱和挤出管的内壁均固定贯穿有若干电热丝。
优选的,所述污泥放置箱的顶部左右两侧之间固定设置有支架,所述支架的顶部左右两侧均固定设置有液压杆,两个所述液压杆的底部之间固定设置有滑动贯穿污泥放置箱内部的推板。
本发明还提供了一种带有封闭循环处理模块的污泥干化系统的干化工艺,具体工艺包括以下步骤:
步骤一、电热丝通电发热,将污泥放置在污泥放置箱的内部,然后启动液压杆,带动推板下移,使推板位于污泥放置箱的内部,电热丝对污泥放置箱中的污泥进行加热,使污泥实现初步的脱水干化;
步骤二、然后再次启动液压杆,将推板向下推动,慢慢向下挤压污泥,最底部的污泥被挤入挤出管中,经过挤出管的过程中,污泥进一步脱水干化,然后在干化处理组件的作用下,从挤出管中被挤出的污泥先被切成泥球,泥球下落经过干化处理组件的内部;
步骤三、热风机工作,通过T型管向干化处理组件中吹入热气,吹向经过干化处理组件中的泥球,使泥球实现彻底的脱水干化,潮湿的热气被热风机通过抽气管再次抽吸出来,先经过容纳盒的内部,在干燥剂颗粒的作用下,潮湿的热气被干燥,干燥之后的热气继续吹向封闭箱的内部实现循环。
有益效果
本发明提供了一种封闭循环处理模块及带此模块的污泥干化系统及工艺。与现有技术相比具备以下有益效果:
1、一种封闭循环处理模块及带此模块的污泥干化系统及工艺,通过挤出管、刀片、齿条以及第一齿轮之间的相互配合,能将挤出的污泥切成小块的泥球,小块的泥球能与热空气充分接触,进而使污泥中的水分快速分离出来,实现彻底干化的目的。
2、一种封闭循环处理模块及带此模块的污泥干化系统及工艺,通过贯通盒、吹气管、弧形罩以及吹气口之间的相互配合,能延长小块泥球落进弧形罩中的时间,使泥球表面彻底干化,避免之后发生粘连。
3、一种封闭循环处理模块及带此模块的污泥干化系统及工艺,通过清洁刮套、第一弹簧以及推条之间的相互配合,能及时将刀片表面粘附的污泥刮除,刮下的污泥最终被推条再次推出,保证清洁刮套和刀片之后的正常使用。
4、一种封闭循环处理模块及带此模块的污泥干化系统及工艺,通过容纳盒、T型管、抽气管以及干燥剂颗粒之间的相互配合,使热风能循环利用,降低热量流失,提高能源的利用率。
(发明人:叶向东;方晓敏;张侃;柴慧建;盛程浩;李志洲;张志伟;王著汇)






