公布日:2023.10.24
申请日:2022.03.29
分类号:C02F3/28(2006.01)I;C02F101/38(2006.01)N;C02F101/16(2006.01)N
摘要
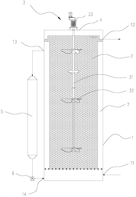
本发明提供了一种含氮废水处理装置,其包括:反应器罐体,为立式设置,其下端设有供废水进入的进水口,其上端设有供废水流出的出水口;所述反应器罐体内具有供反硝化细菌附着的流化填料;立式多层搅拌器,包括转轴和多组搅拌叶片;所述转轴从所述反应器罐体的顶部竖直向下伸入罐内,多组所述搅拌叶片沿高度方向上下间隔设于所述转轴上,所述搅拌叶片随着转轴转动以搅拌所述流化填料。该装置将反应器罐体竖向立式设计,在不影响处理废水总体积的情况下,可以通过增加罐体的高度而减小占地面积,适用于场地面积受限的应用环境,提高适用范围。

权利要求书
1.一种含氮废水处理装置,其特征在于,包括:反应器罐体,为立式设置,其下端设有供废水进入的进水口,其上端设有供废水流出的出水口;所述反应器罐体内具有供反硝化细菌附着的流化填料;立式多层搅拌器,包括转轴和多组搅拌叶片;所述转轴从所述反应器罐体的顶部竖直向下伸入罐内,多组所述搅拌叶片沿高度方向上下间隔设于所述转轴上,所述搅拌叶片随着转轴转动以搅拌所述流化填料。
2.根据权利要求1所述的含氮废水处理装置,其特征在于,所述流化填料为多孔结构的柔性聚氨酯海绵。
3.根据权利要求2所述的含氮废水处理装置,其特征在于,所述流化填料的填充率为30%~40%。
4.根据权利要求1所述的含氮废水处理装置,其特征在于,所述反应器罐体的高度为15m~20m。
5.根据权利要求1所述的含氮废水处理装置,其特征在于,所述转轴的下端至少向下超出所述反应器罐体的中部,并接近底部。
6.根据权利要求1所述的含氮废水处理装置,其特征在于,所述反应器罐体为圆柱状,所述反应器罐体的顶部敞开,从而供气体从罐内逸出以排入大气。
7.根据权利要求6所述的含氮废水处理装置,其特征在于,所述含氮废水处理装置还包括安装横梁,所述安装横梁沿横向架设于所述反应器罐体的顶部敞口上方;所述立式多层搅拌器还包括搅拌驱动单元,所述搅拌驱动单元固定在所述安装横梁上,所述搅拌驱动单元具有竖直朝下的输出端,所述输出端伸入罐内,并连接于所述转轴以驱动所述转轴转动。
8.根据权利要求1所述的含氮废水处理装置,其特征在于,所述出水口环绕于所述反应器罐体的上端侧壁上,所述出水口为堰口形式。
9.根据权利要求1所述的含氮废水处理装置,其特征在于,所述含氮废水处理装置还包括扰流板;所述扰流板设于所述反应器罐体的内侧面上。
10.根据权利要求1所述的含氮废水处理装置,其特征在于,所述反应器罐体的上端开设有供废水循环流出的循环出口,所述循环出口低于所述出水口;所述反应器罐体的下端开设有对应的循环进口;所述含氮废水处理装置还包括循环缓冲器和循环泵;所述循环缓冲器立式设于所述反应器罐体的旁侧,所述循环缓冲器的下端通过上部管道与所述循环进口连接,所述循环泵设于该上部管道上;所述循环缓冲器的上端通过下部管道与所述循环出口连接。
发明内容
本发明的目的在于提供一种含氮废水处理装置,以解决现有技术中MBBR反硝化池占地面积大、处理效率低的问题。
为解决上述技术问题,本发明采用如下技术方案:
一种含氮废水处理装置,包括:反应器罐体,为立式设置,其下端设有供废水进入的进水口,其上端设有供废水流出的出水口;所述反应器罐体内具有供反硝化细菌附着的流化填料;立式多层搅拌器,包括转轴和多组搅拌叶片;所述转轴从所述反应器罐体的顶部竖直向下伸入罐内,多组所述搅拌叶片沿高度方向上下间隔设于所述转轴上,所述搅拌叶片随着转轴转动以搅拌所述流化填料。
根据本发明的一个方面,所述流化填料为多孔结构的柔性聚氨酯海绵。
根据本发明的一个方面,所述流化填料的填充率为30%~40%。
根据本发明的一个方面,所述反应器罐体的高度为15m~20m。
根据本发明的一个方面,所述转轴的下端至少向下超出所述反应器罐体的中部,并接近底部。
根据本发明的一个方面,所述反应器罐体为圆柱状,所述反应器罐体的顶部敞开,从而供气体从罐内逸出以排入大气。
根据本发明的一个方面,所述含氮废水处理装置还包括安装横梁,所述安装横梁沿横向架设于所述反应器罐体的顶部敞口上方;所述立式多层搅拌器还包括搅拌驱动单元,所述搅拌驱动单元固定在所述安装横梁上,所述搅拌驱动单元具有竖直朝下的输出端,所述输出端伸入罐内,并连接于所述转轴以驱动所述转轴转动。
根据本发明的一个方面,所述出水口环绕于所述反应器罐体的上端侧壁上,所述出水口为堰口形式。
根据本发明的一个方面,所述含氮废水处理装置还包括扰流板;所述扰流板设于所述反应器罐体的内侧面上。
根据本发明的一个方面,所述反应器罐体的上端开设有供废水循环流出的循环出口,所述循环出口低于所述出水口;所述反应器罐体的下端开设有对应的循环进口;所述含氮废水处理装置还包括循环缓冲器和循环泵;所述循环缓冲器立式设于所述反应器罐体的旁侧,所述循环缓冲器的下端通过上部管道与所述循环进口连接,所述循环泵设于该上部管道上;所述循环缓冲器的上端通过下部管道与所述循环出口连接。
由上述技术方案可知,本发明提供的一种含氮废水处理装置至少具有如下优点和积极效果:
1、该装置将反应器罐体竖向立式设计,在不影响处理废水总体积的情况下,可以通过增加罐体的高度而减小占地面积,适用于场地面积受限的应用环境,提高适用范围。
2、多组搅拌叶片沿高度方向上下间隔设于转轴上,确保在罐内的填料无论是在顶部还是在底部都能够被搅拌,使得填料呈现为流化状态,避免出现局部填料堆积的现象,可提高硝态氮体积负荷和处理效率。
(发明人:施正兵;吴文华;武海洋;孙爱平;王晶)






