公布日:2024.04.12
申请日:2024.02.28
分类号:E03F5/04(2006.01)I;E03F5/06(2006.01)I;E03F5/14(2006.01)I;E03F7/00(2006.01)I
摘要
本发明提供了一种简易可预处理污水的自动倾倒地漏装置,包括下水连接管和地漏,下水连接管左侧设有带坡度的杂质收集区,下水连接管上连接有杂质过滤区,杂质过滤区上方连接有地漏输送管,杂质过滤区左侧连接有地漏分离区,地漏输送管侧面连接有污水导流管。污水导流管和地漏输送管的顶端均与地面一齐,杂质过滤区的外壁面上设有电机和齿轮联动器,杂质过滤区内设有地漏固定器,电机的驱动端与齿轮联动器相连,齿轮联动器与地漏固定器相连;杂质过滤区与地漏分离区连通,且地漏分离区左侧为开口设置。本发明涉及日常污水预处理领域,本发明的简易可预处理污水的自动倾倒地漏装置,可以对毛发、沐浴液等杂质进行统一过滤及回收。

权利要求书
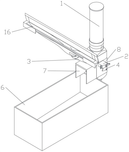
1.一种简易可预处理污水的自动倾倒地漏装置,包括下水连接管(5)和地漏(10),所述下水连接管(5)左侧设有带坡度的杂质收集区(6),所述下水连接管(5)上连接有杂质过滤区(8),所述杂质过滤区(8)上方连接有地漏输送管(1),所述杂质过滤区(8)左侧连接有地漏分离区(7),所述地漏输送管(1)侧面连接有污水导流管(3),其特征在于:所述污水导流管(3)和所述地漏输送管(1)的顶端均与地面一齐,所述杂质过滤区(8)的外壁面上设有电机(2)和齿轮联动器(4),所述杂质过滤区(8)内设有地漏固定器(9),所述电机(2)的驱动端与所述齿轮联动器(4)相连,所述齿轮联动器(4)与所述地漏固定器(9)相连;所述杂质过滤区(8)与所述地漏分离区(7)连通,且所述地漏分离区(7)左侧及底部为开口设置。
2.根据权利要求1所述的简易可预处理污水的自动倾倒地漏装置,其特征在于:所述地漏固定器(9)包括地漏固定架(11)和导向板(12);所述地漏固定架(11)底部设有轴,通过所述轴与地漏固定器(9)上的所述齿轮联动器(4)连接;所述导向板(12)与所述齿轮联动器(4)连接,所述导向板(12)位于所述地漏固定架(11)左侧。
3.根据权利要求2所述的简易可预处理污水的自动倾倒地漏装置,其特征在于:所述齿轮联动器(4)的数量为两个,两个所述齿轮联动器(4)分别安装于所述地漏固定器(9)相对的两个外壁面上;所述齿轮联动器(4)包括主动齿轮(13)、从动齿轮(14)和半齿轮(15);所述主动齿轮(13)的齿轮轴安装于所述杂质过滤区(8)的外壁上;所述从动齿轮(14)的齿轮轴穿过所述杂质过滤区(8)与导向板(12)连接;两个所述半齿轮(15)分别与所述轴的两端连接,以便于控制所述地漏固定架(11)摆动;所述主动齿轮(13)与所述电机(2)的动力输出端相连;所述主动齿轮(13)与所述从动齿轮(14)啮合和所述半齿轮(15)啮合。
4.根据权利要求1所述的简易可预处理污水的自动倾倒地漏装置,其特征在于:所述污水导流管(3)上设有污水收集口(16)以及与所述污水收集口(16)所匹配的可开合的盖体,所述地漏输送管(1)上设有与所述地漏输送管(1)所匹配的盖体。
5.根据权利要求1所述的简易可预处理污水的自动倾倒地漏装置,其特征在于:所述地漏(10)内部设有小勾以便于毛发倒挂;所述地漏(10)上方设有斜长条形漏水口;所述地漏(10)采用可降解材质。
6.根据权利要求1所述的简易可预处理污水的自动倾倒地漏装置,其特征在于:所述带坡度的杂质收集区(6)内部靠近所述地漏分离区(7)侧为坡度高处,所述带坡度的杂质收集区(6)内部远离所述地漏分离区(7)侧为坡度低处。
发明内容
有鉴于此,本发明旨在提出一种简易可预处理污水的自动倾倒地漏装置,以解决现如今无法对毛发、沐浴液等杂质进行统一过滤及回收的问题,从而降低人为清洁频次及成本。
为达到上述目的,本发明的技术方案是这样实现的:
一种简易可预处理污水的自动倾倒地漏装置,包括下水连接管和地漏,所述下水连接管左侧设有带坡度的杂质收集区,所述下水连接管上连接有杂质过滤区,所述杂质过滤区上方连接有地漏输送管,所述杂质过滤区左侧连接有地漏分离区,所述地漏输送管侧面连接有污水导流管,所述污水导流管和所述地漏输送管的顶端均与地面一齐,所述杂质过滤区的外壁面上设有电机和齿轮联动器,所述杂质过滤区内设有地漏固定器,所述电机的驱动端与所述齿轮联动器相连,所述齿轮联动器与所述地漏固定器相连;
所述杂质过滤区与所述地漏分离区连通,且所述地漏分离区左侧及底部为开口设置。
进一步的,所述地漏固定器包括地漏固定架和导向板;
所述地漏固定架底部设有轴,通过所述轴与所述地漏固定器上的齿轮联动器连接;
所述导向板与所述齿轮联动器连接,所述导向板位于所述地漏固定架左侧。
进一步的,所述齿轮联动器的数量为两个,两个所述齿轮联动器分别安装于所述地漏固定器相对的两个外壁面上;
所述齿轮联动器包括主动齿轮、从动齿轮和半齿轮;
所述主动齿轮的齿轮轴安装于所述杂质过滤区的外壁上;
所述从动齿轮的齿轮轴穿过所述杂质过滤区与导向板连接;
两个所述半齿轮分别与所述轴的两端连接与所述地漏固定器连接,以便于控制所述地漏固定架摆动;
所述主动齿轮与所述电机的动力输出端相连;
所述主动齿轮与所述从动齿轮啮合和所述半齿轮啮合。
进一步的,所述污水导流管上设有污水收集口以及与所述污水收集口所匹配的可开合的盖体,所述地漏输送管上设有与所述地漏输送管所匹配的盖体。
进一步的,所述地漏内部设有小勾以便于毛发倒挂;
所述地漏上方设有斜长条形漏水口;
所述地漏采用可降解材质。
进一步的,所述带坡度的杂质收集区内部靠近所述地漏分离区侧为坡度高处,所述带坡度的杂质收集区内部远离所述地漏分离区侧为坡度低处。
相对于现有技术,本发明具有以下优势:
本发明所述的简易可预处理污水的自动倾倒地漏装置,可美化浴室表面。污水收集口嵌于浴室侧面内部且平行于地面,从而做到更加隐形。同时通过在污水排入下水管前放置本装置可有效地初步过滤杂质,通过大型污水收集口降低污水在浴室表面堵塞的可能性,提升表面的美观整洁度。
本装置通过过滤分离大型杂质,如:毛发、沐浴液泡沫;从而大幅降低下水管中堵塞的可能性。安装本装置可避免使用化学溶解剂,从而提升浴室及相连的水管的耐用性能。从而可以帮助延长管道使用年限。
降低人为清洁频次及成本,环保耗材可回收。经过过滤的杂质可通过倾倒装置自动与污水分离,在降低人工清洁的必要性的同时,也对环境进行了保护。
(发明人:王天赐;姜欣;谢晚仪)






