公布日:2024.04.12
申请日:2024.03.11
分类号:C02F1/52(2023.01)I;C02F1/38(2023.01)I
摘要
本发明涉及污水絮凝技术领域,具体为一种高效的污水絮凝处理装置,包括有底座,底座顶部转动设有絮凝筒,絮凝筒的内部设有投放部,底座的顶部设有提水部。通过旋转的絮凝筒带动污水同向旋转产生漩涡,利用漩涡旋转产生的吸附力将絮凝剂与污水反应产生的絮凝物进行聚集,通过设置在反应部偏心处进行圆周运动的投放部,来定时定量的对絮凝剂进行投放,且投放的过程中持续流动的污水会扩散絮凝剂的投放面积,从而提高装置的净化效率,通过提水板向上移动,此时两个水密板受到水的重力作用向下翻转闭合,将絮凝后的水向上刮动,水受到提升后通过多个排水槽流入集水槽的内部,紧接着通过排水管排入外部收集装置内部,从而快速将絮凝物和污水分离。

权利要求书
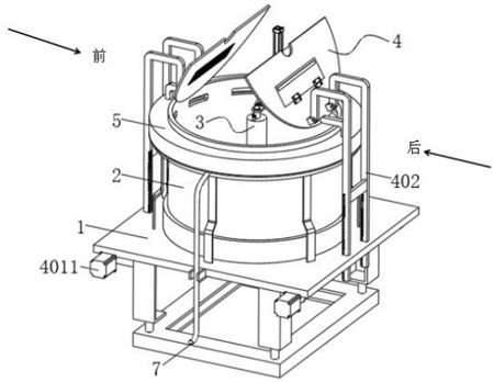
1.一种高效的污水絮凝处理装置,其特征在于:包括有:底座(1);絮凝筒(2),所述底座(1)顶部转动设有絮凝筒(2);投放部(3),所述絮凝筒(2)的内部设有投放部(3),所述投放部(3)用于絮凝剂的释放,所述投放部(3)包括有匡扶架(301),所述匡扶架(301)固定连接在底座(1)的顶部右端,所述匡扶架(301)呈L形设置,所述匡扶架(301)顶壁上固定连接有第一气缸(302),所述第一气缸(302)的输出轴底端固定连接有第二气缸(303),所述第二气缸(303)的输出轴端部固定连接有载板(304),所述载板(304)的顶部固定连接有投放电机(305),所述投放电机(305)的输出轴活动贯穿载板(304),并延伸至其底部,所述投放电机(305)输出轴底端固定连接有旋壁(306),所述旋壁(306)底部固定连接有投放筒(307),所述投放筒(307)的外壁上贯穿开设有伸缩槽(308),所述伸缩槽(308)的内部滑动连接有挡板(309),所述挡板(309)的外围面上开设有多个上下分布的分水孔(3010),所述挡板(309)的顶部开设有布水道(3011),所述布水道(3011)与多个分水孔(3010)相连通,所述投放筒(307)的内壁上部固定连接有漏斗(3015),所述漏斗(3015)的底部出口处固定连接有絮凝阀腔(3016),所述絮凝阀腔(3016)的内部滑动连接有滑阀杆(3017),所述滑阀杆(3017)的外壁上固定连接有一个第一阀块(3018)以及一个第二阀块(3019),所述絮凝阀腔(3016)的外壁下部贯穿开设有出水孔(3020),所述出水孔(3020)固定连接有释放软管(3021),所述释放软管(3021)的另一端与布水道(3011)的顶部连接,所述旋壁(306)的顶部固定连接有压缩气筒(3022),所述压缩气筒(3022)的左端固定连接有压缩管(3023),所述压缩管(3023)远离压缩气筒(3022)的一端固定连接有止逆阀(3024),所述止逆阀(3024)固定连接在投放筒(307)的顶部入口端,所述压缩气筒(3022)的外壁上开设有多个吸气口(3025),所述压缩气筒(3022)的内壁上滑动连接有活塞(3026),所述活塞(3026)的右端固定连接有顶杆(3027),所述活塞(3026)的左端固定连接有第二弹簧(3028),所述第二弹簧(3028)的左端与压缩气筒(3022)的左壁固定连接,所述载板(304)的底部固定连接有固定套(3029),所述固定套(3029)位于投放电机(305)输出轴的外围,所述固定套(3029)的外壁底部固定连接有凸轮块(3030),所述凸轮块(3030)的外缘与顶杆(3027)的端部抵接;提水部(4),所述底座(1)的顶部设有提水部(4),所述提水部(4)用于净水的提取;所述挡板(309)内侧面上固定连接有多个第一弹簧(3012),多个所述第一弹簧(3012)远离挡板(309)的一端共同连接有一个限位板(3013),所述限位板(3013)固定连接在投放筒(307)的内壁上,所述挡板(309)靠近限位板(3013)的一侧面固定连接有凸轮座(3014),所述凸轮座(3014)的顶部与滑阀杆(3017)的底部抵接;所述底座(1)的底部固定连接有第一伺服电机(9),所述第一伺服电机(9)的输出轴活动贯穿底座(1),并延伸至其顶部,所述第一伺服电机(9)的输出轴顶端与絮凝筒(2)的底部固定连接。
2.根据权利要求1所述的一种高效的污水絮凝处理装置,其特征在于:所述提水部(4)包括有导向孔(401),所述导向孔(401)数量为四个,四个所述导向孔(401)开设在底座(1)上,所述导向孔(401)的内部均滑动连接有支撑架(402),所述支撑架(402)的顶端铰接有提水板(404),所述提水板(404)数量为两个,两个所述提水板(404)呈前后分布,所述提水板(404)呈半圆形设置,且所述提水板(404)的直径与絮凝筒(2)的内径相同,所述提水板(404)的圆心处贯穿开设有弧形凹口(405),所述弧形凹口(405)的直径与投放筒(307)的外径相同,所述提水板(404)的顶部开设有让位槽(406),所述让位槽(406)的底壁上贯穿开设有过水槽(407),所述提水板(404)的顶部铰接有水密板(408),所述水密板(408)位于让位槽(406)的顶部。
3.根据权利要求2所述的一种高效的污水絮凝处理装置,其特征在于:所述过水槽(407)的内壁上固定连接有滤网(409)。
4.根据权利要求2所述的一种高效的污水絮凝处理装置,其特征在于:所述提水部(4)还包括有两个前后分布的第二伺服电机(4011),两个所述第二伺服电机(4011)固定安装在底座(1)的侧面下部,且两个所述第二伺服电机(4011)的输出轴端部均固定连接有扭转杆(4012),两个所述扭转杆(4012)的输出轴上均固定连接有两个左右分布的齿轮(4013),所述齿轮(4013)的外围均啮合有齿块(4010),所述齿块(4010)固定连接在支撑架(402)的内侧面上,所述扭转杆(4012)的外壁上转动连接有两个转动座(4014),两个所述转动座(4014)固定连接在底座(1)的表部。
5.根据权利要求1所述的一种高效的污水絮凝处理装置,其特征在于:所述絮凝筒(2)的外壁上部贯穿开设有多个排水槽(201),多个所述排水槽(201)呈圆周阵列分布,所述絮凝筒(2)的外壁上套设有集水槽(5),所述集水槽(5)位于多个排水槽(201)的外围,所述集水槽(5)的底部固定连接有多个支撑柱(8),多个所述支撑柱(8)呈圆周阵列分布,且多个所述支撑柱(8)的底部均与底座(1)的顶部固定连接,所述集水槽(5)的外壁上固定连接有排水管(7),所述排水管(7)与集水槽(5)的内部相连通。
6.根据权利要求5所述的一种高效的污水絮凝处理装置,其特征在于:所述集水槽(5)的顶部固定连接有两个前后分布的挡块(6),两个所述挡块(6)位于两个提水板(404)的外围,且两个所述挡块(6)均呈L形设置。
发明内容
为此,本发明提供一种高效的污水絮凝处理装置,以解决上述的问题。
本发明提供如下技术方案:一种高效的污水絮凝处理装置,包括有:
底座;
絮凝筒,所述底座顶部转动设有絮凝筒;
投放部,所述絮凝筒的内部设有投放部,所述投放部用于絮凝剂的释放,所述投放部包括有匡扶架,所述匡扶架固定连接在底座的顶部右端,所述匡扶架呈L形设置,所述匡扶架顶壁上固定连接有第一气缸,所述第一气缸的输出轴底端固定连接有第二气缸,所述第二气缸的输出轴端部固定连接有载板,所述载板的顶部固定连接有投放电机,所述投放电机的输出轴活动贯穿载板,并延伸至其底部,所述投放电机输出轴底端固定连接有旋壁,所述旋壁底部固定连接有投放筒,所述投放筒的外壁上贯穿开设有伸缩槽,所述伸缩槽的内部滑动连接有挡板,所述挡板的外围面上开设有多个上下分布的分水孔,所述挡板的顶部开设有布水道,所述布水道与多个分水孔相连通,所述投放筒的内壁上部固定连接有漏斗,所述漏斗的底部出口处固定连接有絮凝阀腔,所述絮凝阀腔的内部滑动连接有滑阀杆,所述滑阀杆的外壁上固定连接有一个第一阀块以及一个第二阀块,所述絮凝阀腔的外壁下部贯穿开设有出水孔,所述出水孔固定连接有释放软管,所述释放软管的另一端与布水道的顶部连接,所述旋壁的顶部固定连接有压缩气筒,所述压缩气筒的左端固定连接有压缩管,所述压缩管远离压缩气筒的一端固定连接有止逆阀,所述止逆阀固定连接在投放筒的顶部入口端,所述压缩气筒的外壁上开设有多个吸气口,所述压缩气筒的内壁上滑动连接有活塞,所述活塞的右端固定连接有顶杆,所述活塞的左端固定连接有第二弹簧,所述第二弹簧的左端与压缩气筒的左壁固定连接,所述载板的底部固定连接有固定套,所述固定套位于投放电机输出轴的外围,所述固定套的外壁底部固定连接有凸轮块,所述凸轮块的外缘与顶杆的端部抵接;
提水部,所述底座的顶部设有提水部,所述提水部用于净水的提取。
作为本发明优选的方案,所述挡板内侧面上固定连接有多个第一弹簧,多个所述第一弹簧远离挡板的一端共同连接有一个限位板,所述限位板固定连接在投放筒的内壁上,所述挡板靠近限位板的一侧面固定连接有凸轮座,所述凸轮座的顶部与滑阀杆的底部抵接。
作为本发明优选的方案,所述提水部包括有导向孔,所述导向孔数量为四个,四个所述导向孔开设在底座上,所述导向孔的内部均滑动连接有支撑架,所述支撑架的顶端铰接有提水板,所述提水板数量为两个,两个所述提水板呈前后分布,所述提水板呈半圆形设置,且所述提水板的直径与絮凝筒的内径相同,所述提水板的圆心处贯穿开设有弧形凹口,所述弧形凹口的直径与投放筒的外径相同,所述提水板的顶部开设有让位槽,所述让位槽的底壁上贯穿开设有过水槽,所述提水板的顶部铰接有水密板,所述水密板位于让位槽的顶部。
作为本发明优选的方案,所述过水槽的内壁上固定连接有滤网。
作为本发明优选的方案,所述提水部还包括有两个前后分布的第二伺服电机,两个所述第二伺服电机固定安装在底座的侧面下部,且两个所述第二伺服电机的输出轴端部均固定连接有扭转杆,两个所述扭转杆的输出轴上均固定连接有两个左右分布的齿轮,所述齿轮的外围均啮合有齿块,所述齿块固定连接在支撑架的内侧面上,所述扭转杆的外壁上转动连接有两个转动座,两个所述转动座固定连接在底座的表部。
作为本发明优选的方案,所述絮凝筒的外壁上部贯穿开设有多个排水槽,多个所述排水槽呈圆周阵列分布,所述絮凝筒的外壁上套设有集水槽,所述集水槽位于多个排水槽的外围,所述集水槽的底部固定连接有多个支撑柱,多个所述支撑柱呈圆周阵列分布,且多个所述支撑柱的底部均与底座的顶部固定连接,所述集水槽的外壁上固定连接有排水管,所述排水管与集水槽的内部相连通。
作为本发明优选的方案,所述集水槽的顶部固定连接有两个前后分布的挡块,两个所述挡块位于两个提水板的外围,且两个所述挡块均呈L形设置。
作为本发明优选的方案,所述底座的底部固定连接有第一伺服电机,所述第一伺服电机的输出轴活动贯穿底座,并延伸至其顶部,所述第一伺服电机的输出轴顶端与絮凝筒的底部固定连接。
与现有技术相比,本发明的有益效果是:
1、本发明中,通过设置持续旋转的絮凝筒,使絮凝筒内的污水同向旋转产生漩涡,利用漩涡旋转产生的吸附力将絮凝剂与污水反应产生的絮凝物进行聚集,通过设置在反应部偏心处进行圆周运动的投放部,来定时定量的对絮凝剂进行投放,且投放的过程中持续流动的污水会扩散絮凝剂的投放面积,从而提高装置的净化效率。
2、本发明中,通过投放电机驱动旋壁旋转期间,会带动压缩气筒一同旋转,使得顶杆沿着固定套的径向同步转动,使得在凸轮块以及第二弹簧的共同配合下推动活塞在压缩气筒内部左右摆动,当活塞摆动至右止点时,空气通过多个吸气口进入压缩气筒的内腔中,随着活塞的左移,则向左压缩空气,将压缩的空气通过压缩管压入止逆阀内部使得空气通过止逆阀的输出端进入投放筒的内部,对投放筒内部进行增压,从而加快絮凝剂释放时的排出压力,从而提高絮凝剂释放速度。
3、本发明中,通过提水板向上移动,此时两个水密板受到水的重力作用向下翻转闭合,两个提水板将絮凝后的水向上刮动,水受到提升后通过多个排水槽流入集水槽的内部,紧接着通过排水管排入外部收集装置内部,从而快速将絮凝物和污水分离,随着提水板的继续上移,两个挡块对抵在提水板的边缘部位,两个提水板向上翻转,便于后续对絮凝筒的内部进行清理。
(发明人:钟宇翔;燕亚平;张惊宇;汪波;赵杰;孙轶男)






