公布日:2023.10.24
申请日:2023.07.10
分类号:C02F9/00(2023.01)I;C02F1/62(2023.01)N;C02F1/70(2023.01)N;C02F1/66(2023.01)N;C02F3/34(2023.01)N;C02F3/32(2023.01)N;C02F101/20(2006.01)N;C02F101
/10(2006.01)N;C02F101/30(2006.01)N;C02F103/10(2006.01)N
摘要
本发明公开了一种矿山酸性废水生态处理系统及其处理方法,属于水污染治理领域。本发明的生态处理系统,包括DOM反应沉淀池单元、生物炭基滤池单元和人工湿地净化单元;矿山酸性废水首先通过废水进水管和生物炭衍生DOM混合后进入DOM反应沉淀池单元,在反应沉淀池内进行氧化还原反应和泥水分离;DOM反应沉淀池单元混合液溢流进入生物炭基滤池单元,经过微生物及填料净化后的废水溢流排入人工湿地净化单元,在末端深度净化后达标排放。本发明对矿山酸性废水中的阴、阳重金属离子及硫酸盐等污染物均有较好的去除效果,具有结构简单、便于维护、“以废治废”的特点,能够在低投资、低运行成本的情况下解决矿山酸性废水难处理、治理成本高的难题。

权利要求书
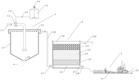
1.一种矿山酸性废水生态处理系统,其特征在于:包括DOM反应沉淀池单元(1);所述DOM反应沉淀池单元(1)包括DOM储存罐(1.3)和反应沉淀池(1.7),两者通过DOM输送管(1.4)连通;所述DOM储存罐(1.3)内储存有生物炭衍生DOM,所述生物炭衍生DOM为园林废弃物水热炭化液相产物或园林废弃物高温热解炭水洗液;矿山酸性废水和生物炭衍生DOM在反应沉淀池(1.7)中进行氧化还原反应。
2.根据权利要求1所述的一种矿山酸性废水生态处理系统,其特征在于:所述DOM输送管(1.4)上设置计量泵(1.5);所述反应沉淀池(1.7)里的生物炭衍生DOM含量为300~500mgC/L。
3.根据权利要求1所述的一种矿山酸性废水生态处理系统,其特征在于:还包括生物炭基滤池单元(2);所述生物炭基滤池单元(2)包括池本体以及池本体内的填料层,填料层由下至上依次为钢渣填料层(2.3)、生物炭填料层(2.4)和砾石填料层(2.5);所述反应沉淀池(1.7)的上部通过沉淀池出水管(1.10)与池本体的底部连通。
4.根据权利要求3所述的一种矿山酸性废水生态处理系统,其特征在于:所述填料层外部以及各填料层之间均设有填料层格栅框架(2.2)。
5.根据权利要求3所述的一种矿山酸性废水生态处理系统,其特征在于:所述生物炭填料层(2.4)里的生物炭为园林废弃物在水热反应釜中水热反应得到的水热炭或在管式炉中高温厌氧烧制而成的热解炭。
6.根据权利要求3所述的一种矿山酸性废水生态处理系统,其特征在于:所述钢渣填料层(2.3)里的钢渣粒径为2~6mm;所述生物炭填料层(2.4)中生物炭粒径为1~4mm;所述砾石填料层(2.5)里的砾石粒径为8~20mm;所述钢渣填料层(2.3)、生物炭填料层(2.4)和砾石填料层(2.5)的体积比为1-2:2-4:1-2。
7.根据权利要求3至6任一所述的一种矿山酸性废水生态处理系统,其特征在于:还包括人工湿地净化单元(3);所述人工湿地净化单元(3)为表流型人工湿地,湿地中种植湿地植物(3.1)。
8.根据权利要求7所述的一种矿山酸性废水生态处理系统,其特征在于:所述DOM反应沉淀池单元(1)的水力停留时间为16~24h;所述生物炭基滤池单元(2)的水力停留时间为8~12h;所述人工湿地净化单元(3)的水力停留时间为32~64h;所述反应沉淀池(1.7)底部的泥沙定期通过其底部的沉淀池排泥管(1.8)排出池外,排泥频率为每月2~4次;所述生物炭基滤池单元(2)滤池池本体底部的污泥定期通过其底部的滤池排泥管(2.7)排出池外,排泥频率为每月1~2次。
9.根据权利要求7所述的一种矿山酸性废水生态处理系统,其特征在于:所述DOM反应沉淀池单元(1)、生物炭基滤池单元(2)和人工湿地净化单元(3)在水流方向先后布置成整套系统,且设置高度依次降低。
10.一种矿山酸性废水生态处理系统的处理方法,其特征在于,步骤为:S1、矿山酸性废水通过废水进水管(1.1)和生物炭衍生DOM混合后进入反应沉淀池(1.7),在池中完成氧化还原反应和泥水分离后,混合液从池顶溢流排出至生物炭基滤池单元(2)的池本体底部;S2、混有生物炭衍生DOM的废水在池本体内向上移动,依次通过钢渣填料层(2.3)、生物炭填料层(2.4)和砾石填料层(2.5);通过各填料层净化后的中间水从池本体的池顶溢流排出至人工湿地净化单元(3);S3、中间水再由人工湿地净化单元(3)中的湿地植物(3.1)净化后通过湿地排水管(3.2)达标排放。
发明内容
1、要解决的问题
针对现有各种AMD的治理方法存在易发生二次污染或净化效果较差的问题,本发明提供一种矿山酸性废水生态处理系统及其处理方法,通过生物炭衍生DOM对矿山酸性废水进行氧化还原反应,具有操作简单、管理便捷、出水水质好、耐冲击负荷强、适用范围广等特点,达到低投资、低运行成本的情况下解决矿山酸性废水难处理、治理成本高的技术效果。
2、技术方案
为解决上述问题,本发明采用如下的技术方案。
一种矿山酸性废水生态处理系统,包括DOM(DissolvedOrganicMatter可溶性有机物)反应沉淀池单元;所述DOM反应沉淀池单元包括DOM储存罐和反应沉淀池,两者通过DOM输送管连通;所述DOM储存罐内储存有生物炭衍生DOM;矿山酸性废水(AMD)和生物炭衍生DOM在反应沉淀池中进行氧化还原反应。所述生物炭衍生DOM为园林废弃物水热炭化液相产物或园林废弃物高温热解炭水洗液,生物炭衍生DOM的添加可为硫酸盐还原菌、湿地植物提供生长所需碳源和养分,且富含多种活性官能团,能够参与重金属的氧化还原过程,较好地解决了矿山酸性废水中缺乏碳源和养分的问题。
作为技术方案的进一步改进,DOM输送管上设置计量泵,控制生物炭衍生DOM的添加量;所述反应沉淀池里的生物炭衍生DOM含量为300~500mgC/L,通过该含量来限定生物炭衍生DOM的添加量,使之在避免发生二次污染的前提下,达到排水标准的净化效果。
作为技术方案的进一步改进,还包括生物炭基滤池单元,将生物炭衍生DOM参与重金属的氧化还原过程后的杂质进行吸附、沉淀、中和等进一步的处理;所述生物炭基滤池单元包括池本体以及池本体内的填料层,填料层由下至上依次为钢渣填料层、生物炭填料层和砾石填料层;所述反应沉淀池的上部通过沉淀池出水管与池本体的底部连通。钢渣中含有的碱性成分能够对矿山酸性废水进行中和,提高废水pH,防止酸性过高抑制微生物生长,并对废水中的重金属离子具有吸附、沉淀脱除的效果;生物炭采用园林废弃物制备得到,具有成本低廉、比表面积大、表面官能团丰富、吸附性能强等特点,并且生物炭丰富的多孔结构能够为硫酸盐还原菌提供良好的附着环境,使其在复杂环境中依然能高效将SO42-还原为S2-,S2-与废水中的重金属离子结合形成溶解度较低的金属硫化物,从而起到去除硫酸盐和重金属离子的目的;砾石具有均匀布水、防止滤料流失、易挂膜的特点,可以起到承托层的作用。
作为技术方案的进一步改进,填料层外部以及各填料层之间均设有填料层格栅框架,方便分层管理;格栅框架还可以设计为一种类似抽屉的前后抽动式活动容器,在填料层格栅框架所在高度的容器框侧壁上开设有检查更换口,填料层格栅框架可通过检查更换口在容器框内进出,以便维护管理。
作为技术方案的进一步改进,生物炭填料层里的生物炭为园林废弃物在水热反应釜中水热反应得到的水热炭或在管式炉中高温厌氧烧制而成的热解炭,制作方便,成本低,而且碳源充足。
作为技术方案的进一步改进,钢渣填料层里的钢渣粒径为2~6mm;所述生物炭填料层中生物炭粒径为1~4mm;所述砾石填料层里的砾石粒径为8~20mm;所述钢渣填料层、生物炭填料层和砾石填料层的体积比为1-2:2-4:1-2。
作为技术方案的进一步改进,还包括人工湿地净化单元;所述人工湿地净化单元为表流型人工湿地,湿地中种植湿地植物;利用湿地中植物根系及其所形成的微环境进一步净化废水中残留的重金属和有机质,经过人工湿地深度净化后通过湿地排水管达标排放。
作为技术方案的进一步改进,DOM反应沉淀池单元的水力停留时间为16~24h;所述生物炭基滤池单元的水力停留时间为8~12h;所述人工湿地净化单元的水力停留时间为32~64h;所述反应沉淀池底部的泥沙定期通过其底部的沉淀池排泥管排出池外,排泥频率为每月2~4次;所述生物炭基滤池单元滤池池本体底部的污泥定期通过其底部的滤池排泥管排出池外,排泥频率为每月1~2次。
作为技术方案的进一步改进,DOM反应沉淀池单元、生物炭基滤池单元和人工湿地净化单元在水流方向先后布置成整套系统,且设置高度依次降低,可达到自动化管理的效果,无需额外提供动力。
一种矿山酸性废水生态处理系统的处理方法,具体步骤为:
S1、矿山酸性废水通过废水进水管和生物炭衍生DOM混合后进入反应沉淀池,在池中完成氧化还原反应和泥水分离后,混合液从池顶溢流排出至生物炭基滤池单元的池本体底部;
S2、混有生物炭衍生DOM的废水在池本体内向上移动,依次通过钢渣填料层、生物炭填料层和砾石填料层;通过各填料层净化后的中间水从池本体的池顶溢流排出至人工湿地净化单元;
S3、中间水再由人工湿地净化单元中的湿地植物净化后通过湿地排水管达标排放。
3、有益效果
相比于现有技术,本发明的有益效果为:
(1)本发明一种矿山酸性废水生态处理系统及其处理方法,生物炭衍生DOM用于矿山酸性废水的治理中。生物炭衍生DOM是生物炭在制备与应用过程中释放出的最具活性和流动性的部分,研究表明,生物炭衍生DOM的成分主要包括COD、丰富的N、P、K营养元素、木质素、腐殖酸和酚酸等有机酸,可对环境的pH、污染物性质产生较大影响。本发明通过工程设计,合理利用了生物炭衍生DOM的环境特性,使得生物炭衍生DOM在反应沉淀池内与矿山酸性废水混合反应,生物炭衍生DOM不仅可以充当电子供体,通过还原作用将矿山酸性废水中的Fe(Ⅲ)还原为Fe(Ⅱ),还可以起到电子穿梭体的作用,促进Fe(Ⅱ)对废水中Cr(Ⅵ)的还原,降低重金属Cr的生物毒性,也使其流动性降低,易于沉淀和被吸附。此外,生物炭源DOM中的碳源可为后续处理环节中的硫酸盐还原菌提供生长所需能源和电子供体,在末端处理中亦可为人工湿地植物提供养分,较好地解决了矿山酸性废水中缺乏碳源和养分的问题;
(2)本发明一种矿山酸性废水生态处理系统及其处理方法,生物炭基滤池单元中的填料依次选用钢渣、生物炭、砾石组合填料。钢渣中含有的碱性成分能够对矿山酸性废水进行中和,提高废水pH,防止酸性过高抑制微生物生长,并对废水中的重金属离子具有吸附、沉淀脱除的效果;生物炭采用园林废弃物制备得到,具有成本低廉、比表面积大、表面官能团丰富、吸附性能强等特点,并且生物炭丰富的多孔结构能够为硫酸盐还原菌提供良好的附着环境,使其在复杂环境中依然能高效将SO42-还原为S2-,S2-与废水中的重金属离子结合形成溶解度较低的金属硫化物,从而起到去除硫酸盐和重金属离子的目的;砾石具有均匀布水、防止滤料流失、易挂膜的特点,可以起到承托层的作用;
(3)本发明一种矿山酸性废水生态处理系统及其处理方法,在进水前端设置反应沉淀池,既可以使矿山酸性废水中的泥沙等杂质沉淀排除,避免后端滤池被堵塞,又可以使生物炭源DOM和废水充分混合反应;生物炭基滤池单元采用池底进水顶部出水的方式,既能够避免填料层内部出现短流或优势流,又可以使填料层一直处于水饱和状态,形成厌氧状态,有助于硫酸盐还原菌的生长和产生还原作用;在生物炭基滤池单元后面加设人工湿地净化单元,可以利用湿地中植物根系及其所形成的微环境进一步净化废水中残留的重金属和有机质,使得矿山酸性废水深度净化后达标排放。
(发明人:汪世旭;钱元弟;申书威;何兆芳;孙亮;张强;刘晓松)






