公布日:2024.04.09
申请日:2023.12.21
分类号:C02F1/52(2023.01)I;C02F1/00(2023.01)I
摘要
本发明提供了一种矿用手动污水净化装置,包括手动离心机构和沉淀过滤机构;所述手动离心机构包括有固定支撑筒,所述固定支撑筒的上部安装有转动内齿环,所述转动内齿环的内部啮合连接有螺纹杆,所述固定支撑筒的内部活动安装有转动筒,所述转动筒的活动安装有弹簧,所述螺纹杆的端部与所述弹簧的端部连接,所述转动筒的底部固定连接有贯穿所述固定支撑筒和所述安装板的连接轴,所述连接轴的底部连接有离心搅拌器;本发明设有手动离心机构和沉淀过滤机构,设置的手动离心机构和沉淀过滤机构的体积较小,便于在矿井中进行运行使用,方便进行操作,快速的实现对污水进行处理,沉淀过滤机构便于对污水进行过滤处理,再次进行净化污水。

权利要求书
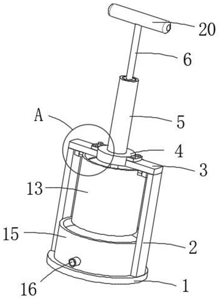
1.一种矿用手动污水净化装置,其特征在于,包括手动离心机构和沉淀过滤机构;包括有底座(1),所述底座(1)的上部两侧固定安装有立板(2),两侧所述立板(2)的顶部固定安装有顶板(3),所述顶板(3)的中间设有安装板(4),所述手动离心机构安装在所述安装板(4)的上部,且部分所述手动离心机构设置在所述安装板(4)的下部,所述沉淀过滤机构活动安装在所述底座(1)的上部,且所述沉淀过滤机构设置在所述手动离心机构的下部;所述手动离心机构包括有安装在所述安装板(4)上部的固定支撑筒(5),所述固定支撑筒(5)的上部安装有转动内齿环(7),所述转动内齿环(7)的内部啮合连接有螺纹杆(6),所述固定支撑筒(5)的内部活动安装有转动筒(11),所述转动筒(11)的活动安装有弹簧(9),所述螺纹杆(6)的端部与所述弹簧(9)的端部连接,所述转动筒(11)的底部固定连接有贯穿所述固定支撑筒(5)和所述安装板(4)的连接轴(27),所述连接轴(27)的底部连接有离心搅拌器(12);所述顶板(3)和所述安装板(4)下部卡合安装有离心桶(13),所述离心桶(13)的内部固定安装有滤网桶(19),所述离心桶(13)在所述滤网桶(19)和所述离心桶(13)之间缝隙上开设有若干个流水孔(14),所述流水孔(14)对应处于所述沉淀过滤机构的上部。
2.根据权利要求1所述的一种矿用手动污水净化装置,其特征在于,所述安装板(4)的两侧固定设有第一固定耳(25),两侧所述第一固定耳(25)通过固定螺栓(26)固定安装在两侧的所述顶板(3)上。
3.根据权利要求1所述的一种矿用手动污水净化装置,其特征在于,所述离心桶(13)的上端两侧固定设有第二固定耳(21),两侧所述顶板(3)的下部分别固定设有L型卡板(24),所述第二固定耳(21)活动卡合连接在所述L型卡板(24)的内部。
4.根据权利要求1所述的一种矿用手动污水净化装置,其特征在于,所述螺纹杆(6)的顶端固定设有按压把手(20),所述螺纹杆(6)的底端固定设有接触板(8),所述接触板(8)与所述弹簧(9)的上端固定连接,所述接触板(8)设置在所述转动内齿环(7)的下部,且所述接触板(8)活动处于所述转动筒(11)的内部。
5.根据权利要求1所述的一种矿用手动污水净化装置,其特征在于,所述转动筒(11)的底部内活动安装有轴承环(10),所述弹簧(9)的底端固定安装在所述轴承环(10)的内部,所述转动筒(11)和所述固定支撑筒(5)之间镶嵌安装有若干个滚珠(23),若干个所述滚珠(23)在所述转动筒(11)进行转动的时候,提供支撑力和降低摩擦力。
6.根据权利要求1所述的一种矿用手动污水净化装置,其特征在于,所述连接轴(27)的底部套接有连接筒(22),所述连接筒(22)与所述离心搅拌器(12)上端的连接杆卡合套接,所述离心搅拌器(12)设置有三根翅板。
7.根据权利要求1所述的一种矿用手动污水净化装置,其特征在于,所述沉淀过滤机构中包括有过滤桶(15),所述过滤桶(15)活动设置在所述底座(1)的上部,所述过滤桶(15)的边缘贴合在所述立板(2)的内侧。
8.根据权利要求2所述的一种矿用手动污水净化装置,其特征在于,所述过滤桶(15)的内部固定设有支撑环(17),所述支撑环(17)的上部安装有过滤芯(18),所述过滤芯(18)设置若干层,分别为设置在两侧的粗格栅、两侧粗格栅内侧的细网板,两侧所述细网板内侧的纤维过滤层和两侧纤维过滤之间的活性炭过滤层。9.根据权利要求8所述的一种矿用手动污水净化装置,其特征在于,所述过滤桶(15)的一侧连通有排水管(16),所述排水管(16)设置在所述支撑环(17)的下部。
10.一种矿用手动污水净化装置的使用方法,其特征在于,包括有以下步骤:S1、对矿用手动污水净化装置进行组装:在将矿用手动污水净化装置携带到矿井下的时候,将离心搅拌器(12)放入到离心桶(13)的内部,然后将离心桶(13)通过L型卡板(24)和第二固定耳(21)进行卡合安装,然后再将离心搅拌器(12)通过连接筒(22)与连接轴(27)进行卡合连接,再将沉淀过滤机构放置到底座(1)上;S2、进行手动离心处理:将矿井下的污水输入到过滤桶(15)的内部,然后添加絮凝剂到污水中,再通过按压把手(20)进行下压,使得螺纹杆(6)能够实现下移,且螺纹杆(6)在转动内齿环(7)的时候,转动内齿环(7)带动转动筒(11)进行转动,使得转动筒(11)能够带动离心搅拌器(12)进行转动,实现对滤网桶(19)内的污水进行混合搅拌和离心处理;S3、复位操作:在螺纹杆(6)进行下压后,此时弹簧(9)对螺纹杆(6)进行支撑升起,便于实现往复运作,便于进行离心处理;S4、过滤后的流入到沉淀过滤机构中:滤网桶(19)内的污水在离心搅拌器(12)和净水剂的作用下,使得水中的煤尘、岩尘颗粒悬浮物在絮凝剂的作用下胶结成固体杂质,然后净化后的水流入到离心桶(13)和滤网桶(19)之间,并且通过流水孔(14)流入到过滤桶(15)的内部;S5、离心絮凝后的污水进行沉淀过滤:流入到过滤桶(15)内部的水,在过滤芯(18)的过滤下,干净的水流入到过滤桶(15)的底部,然后通过排水管(16)进行排出,便于使用。
发明内容
为了弥补以上不足,本发明提供了一种矿用手动污水净化装置,旨在改善传统的净化装置无法有效对矿井水进行过滤处理,而大型的污水处理系统则因装置过于巨大而无法在矿井中运用等问题。
本发明实施例提供了一种矿用手动污水净化装置,包括手动离心机构和沉淀过滤机构;
包括有底座,所述底座的上部两侧固定安装有立板,两侧所述立板的顶部固定安装有顶板,所述顶板的中间设有安装板,所述手动离心机构安装在所述安装板的上部,且部分所述手动离心机构设置在所述安装板的下部,所述沉淀过滤机构活动安装在所述底座的上部,且所述沉淀过滤机构设置在所述手动离心机构的下部;
所述手动离心机构包括有安装在所述安装板上部的固定支撑筒,所述固定支撑筒的上部安装有转动内齿环,所述转动内齿环的内部啮合连接有螺纹杆,所述固定支撑筒的内部活动安装有转动筒,所述转动筒的活动安装有弹簧,所述螺纹杆的端部与所述弹簧的端部连接,所述转动筒的底部固定连接有贯穿所述固定支撑筒和所述安装板的连接轴,所述连接轴的底部连接有离心搅拌器;
所述顶板和所述安装板下部卡合安装有离心桶,所述离心桶的内部固定安装有滤网桶,所述离心桶在所述滤网桶和所述离心桶之间缝隙上开设有若干个流水孔,所述流水孔对应处于所述沉淀过滤机构的上部。
在上述实现过程中,本发明设有手动离心机构和沉淀过滤机构,设置的手动离心机构和沉淀过滤机构的体积较小,便于在矿井中进行运行使用,方便进行操作,快速的实现对污水进行处理,即手动离心机构通过螺纹杆实现对转动筒和离心搅拌器进行带动,便于离心搅拌器在离心桶和滤网桶内对污水进行混合搅拌和离心处理,有效的高速旋转矿井水,便于将水中的煤尘、岩尘等颗粒悬浮物在絮凝剂的作用下胶结成固体杂质,便于实现对污水过滤,以及螺纹杆通过弹簧进行复位,便于螺纹杆进行往复运行,实现持续性的混合搅拌,以及沉淀过滤机构便于对污水进行过滤处理,再次进行净化污水。
在一种具体的实施方案中,所述安装板的两侧固定设有第一固定耳,两侧所述第一固定耳通过固定螺栓固定安装在两侧的所述顶板上。
在上述实现过程中,第一固定耳的设定便于将安装板与顶板进行固定安装连接,提高稳定性。
在一种具体的实施方案中,所述离心桶的上端两侧固定设有第二固定耳,两侧所述顶板的下部分别固定设有L型卡板,所述第二固定耳活动卡合连接在所述L型卡板的内部。
在上述实现过程中,第二固定耳和L型卡板的设定便于将离心桶进行固定安装,保持稳定性,并且便于拆卸处理。
在一种具体的实施方案中,所述螺纹杆的顶端固定设有按压把手,所述螺纹杆的底端固定设有接触板,所述接触板与所述弹簧的上端固定连接,所述接触板设置在所述转动内齿环的下部,且所述接触板活动处于所述转动筒的内部。
在上述实现过程中,按压把手的设定便于对螺纹杆进行挤压,使得螺纹杆能够向下移动,且接触板便于螺纹杆与弹簧进行连接,对弹簧进行挤压,且螺纹杆与转动内齿环进行啮合连接,使得螺纹杆在进行下移的时候,能够带动转动内齿环进行转动。
在一种具体的实施方案中,所述转动筒的底部内活动安装有轴承环,所述弹簧的底端固定安装在所述轴承环的内部,所述转动筒和所述固定支撑筒之间镶嵌安装有若干个滚珠,若干个所述滚珠在所述转动筒进行转动的时候,提供支撑力和降低摩擦力。
在上述实现过程中,轴承环的设定便于弹簧进行连接和转动,使得滚珠的安装,便于对转动筒进行支撑和降低摩擦力。
在一种具体的实施方案中,所述连接轴的底部套接有连接筒,所述连接筒与所述离心搅拌器上端的连接杆卡合套接,所述离心搅拌器设置有三根翅板。
在上述实现过程中,连接筒的设定便于连接轴与离心搅拌器进行连接,实现对离心搅拌器进行带动,实现离心搅拌器能够实现转动,对污水进行混合搅拌。
在一种具体的实施方案中,所述沉淀过滤机构中包括有过滤桶,所述过滤桶活动设置在所述底座的上部,所述过滤桶的边缘贴合在所述立板的内侧。
在上述实现过程中,过滤桶安放在底座的上部,便于进行安装和拆卸,并且过滤桶贴合在立板的内侧,便于保持过滤桶的稳定性。
在一种具体的实施方案中,所述过滤桶的内部固定设有支撑环,所述支撑环的上部安装有过滤芯,所述过滤芯设置若干层,分别为设置在两侧的粗格栅、两侧粗格栅内侧的细网板,两侧所述细网板内侧的纤维过滤层和两侧纤维过滤之间的活性炭过滤层。
在上述实现过程中,支撑环的设定便于对过滤芯进行支撑安装,且通过粗格栅和细网板对纤维过滤层和活性炭过滤层进行限位和固定。
在一种具体的实施方案中,所述过滤桶的一侧连通有排水管,所述排水管设置在所述支撑环的下部。
在一种具体的实施方案中,排水管的设定便于对过滤桶内过滤后的净水进行排出。
一种矿用手动污水净化装置的使用方法,包括有以下步骤:
S1、对矿用手动污水净化装置进行组装:在将矿用手动污水净化装置携带到矿井下的时候,将离心搅拌器放入到离心桶的内部,然后将离心桶通过L型卡板和第二固定耳进行卡合安装,然后再将离心搅拌器通过连接筒与连接轴进行卡合连接,再将沉淀过滤机构放置到底座上;
S2、进行手动离心处理:将矿井下的污水输入到过滤桶的内部,然后添加絮凝剂到污水中,再通过按压把手进行下压,使得螺纹杆能够实现下移,且螺纹杆在转动内齿环的时候,转动内齿环带动转动筒进行转动,使得转动筒能够带动离心搅拌器进行转动,实现对滤网桶内的污水进行混合搅拌和离心处理;
S3、复位操作:在螺纹杆进行下压后,此时弹簧对螺纹杆进行支撑升起,便于实现往复运作,便于进行离心处理;
S4、过滤后的流入到沉淀过滤机构中:滤网桶内的污水在离心搅拌器和净水剂的作用下,使得水中的煤尘、岩尘颗粒悬浮物在絮凝剂的作用下胶结成固体杂质,然后净化后的水流入到离心桶和滤网桶之间,并且通过流水孔流入到过滤桶的内部;
S5、离心絮凝后的污水进行沉淀过滤:流入到过滤桶内部的水,在过滤芯的过滤下,干净的水流入到过滤桶的底部,然后通过排水管进行排出,便于使用。
与现有技术相比,本发明的有益效果:
本发明设有手动离心机构和沉淀过滤机构,设置的手动离心机构和沉淀过滤机构的体积较小,便于在矿井中进行运行使用,方便进行操作,快速的实现对污水进行处理,即手动离心机构通过螺纹杆实现对转动筒和离心搅拌器进行带动,便于离心搅拌器在离心桶和滤网桶内对污水进行混合搅拌和离心处理,有效的高速旋转矿井水,便于将水中的煤尘、岩尘等颗粒悬浮物在絮凝剂的作用下胶结成固体杂质,便于实现对污水过滤,以及螺纹杆通过弹簧进行复位,便于螺纹杆进行往复运行,实现持续性的混合搅拌,以及沉淀过滤机构便于对污水进行过滤处理,再次进行净化污水。
(发明人:丁尧;徐爱国;陈长岭;张生;郜光辉)






