公布日:2023.09.19
申请日:2023.06.14
分类号:F23G5/44(2006.01)I;F23G5/04(2006.01)I;F23G5/46(2006.01)I;F22D1/00(2006.01)I;C02F11/13(2019.01)I
摘要
本发明涉及发电技术领域,公开了一种污泥干化与垃圾炉耦合燃烧发电系统,包括依次连通的污泥仓、泵入装置、干燥机、分离器、污泥干粉仓、输送装置、进料斗、垃圾焚烧炉。本发明解决了现有技术存在的能耗高、效率低、成本高等问题。

权利要求书
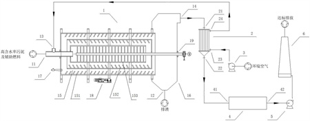
1.一种污泥干化与垃圾炉耦合燃烧发电系统,其特征在于,包括依次连通的污泥仓(1)、泵入装置、干燥机(4)、分离器(5)、污泥干粉仓(7)、输送装置、进料斗(12)、垃圾焚烧炉(10)。
2.根据权利要求1所述的一种污泥干化与垃圾炉耦合燃烧发电系统,其特征在于,还包括乏气管道(16)、灰斗(11),分离器(5)、乏气管道(16)、灰斗(11)、垃圾焚烧炉(10)依次连通。
3.根据权利要求1所述的一种污泥干化与垃圾炉耦合燃烧发电系统,其特征在于,还包括乏气喷嘴(17),分离器(5)、乏气喷嘴(17)、垃圾焚烧炉(10)依次连通。
4.根据权利要求1所述的一种污泥干化与垃圾炉耦合燃烧发电系统,其特征在于,还包括引风机(6)、省煤器(15)、余热炉(18),垃圾焚烧炉(10)、余热炉(18)、省煤器(15)、引风机(6)、干燥机(4)依次连通。
5.根据权利要求1所述的一种污泥干化与垃圾炉耦合燃烧发电系统,其特征在于,泵入装置包括螺旋给料机(2)、污泥泵(3),污泥仓(1)、螺旋给料机(2)、污泥泵(3)、干燥机(4)依次连通。
6.根据权利要求5所述的一种污泥干化与垃圾炉耦合燃烧发电系统,其特征在于,污泥泵(3)为柱塞泵。
7.根据权利要求1所述的一种污泥干化与垃圾炉耦合燃烧发电系统,其特征在于,干燥机(4)为旋翼式流化态干燥机。
8.根据权利要求1所述的一种污泥干化与垃圾炉耦合燃烧发电系统,其特征在于,分离器(5)为旋风分离器。
9.根据权利要求1至8任一项所述的一种污泥干化与垃圾炉耦合燃烧发电系统,其特征在于,输送装置包括第一输送机(8)、第二输送机(9),污泥干粉仓(7)、第一输送机(8)、第二输送机(9)、进料斗(12)依次连通。
10.根据权利要求9所述的一种污泥干化与垃圾炉耦合燃烧发电系统,其特征在于,第一输送机(8)为螺旋输送机,第二输送机(9)为皮带输送机。
发明内容
为克服现有技术的不足,本发明提供了一种污泥干化与垃圾炉耦合燃烧发电系统,解决现有技术存在的能耗高、效率低、成本高等问题。
本发明解决上述问题所采用的技术方案是:
一种污泥干化与垃圾炉耦合燃烧发电系统,包括依次连通的污泥仓、泵入装置、干燥机、分离器、污泥干粉仓、输送装置、进料斗、垃圾焚烧炉。
作为一种优选的技术方案,还包括乏气管道、灰斗,分离器、乏气管道、灰斗、垃圾焚烧炉依次连通。
作为一种优选的技术方案,还包括乏气喷嘴,分离器、乏气喷嘴、垃圾焚烧炉依次连通。
作为一种优选的技术方案,还包括引风机、省煤器、余热炉,垃圾焚烧炉、余热炉、省煤器、引风机、干燥机依次连通。
作为一种优选的技术方案,泵入装置包括螺旋给料机、污泥泵,污泥仓、螺旋给料机、污泥泵、干燥机依次连通。
作为一种优选的技术方案,污泥泵为柱塞泵。
作为一种优选的技术方案,干燥机为旋翼式流化态干燥机。
作为一种优选的技术方案,分离器为旋风分离器。
作为一种优选的技术方案,输送装置包括第一输送机、第二输送机,污泥干粉仓、第一输送机、第二输送机、进料斗依次连通。
作为一种优选的技术方案,第一输送机为螺旋输送机,第二输送机为皮带输送机。
本发明相比于现有技术,具有以下有益效果:
本发明较完善解决了市政污泥的资源化利用的技术瓶颈问题,是生活垃圾炉耦合市政污泥发电的关键技术,干化提质技术组合灵活,调节手段丰富,在进料系统侧混合给料,在垃圾锅炉耦合焚烧,垃圾炉中温烟气余热得到充分利用,处置系统充分节能,可实现垃圾发电机组深度灵活性改造,实现污泥减量化、资源化、无害化处理,并且实现清洁发电,效益显著,具有现实社会意义和极高的经济价值。
(发明人:马煜;安仁敏;杨章宁;王杜佳;朱以周;鲁佳易;潘绍成;冉?雒?/span>;董康)






