公布日:2023.10.24
申请日:2023.07.17
分类号:B01D29/90(2006.01)I;B01D29/03(2006.01)I
摘要
本发明公开了一种绿色建造建筑施工废水处理装置及其使用方法,涉及建筑施工废水处理技术领域,解决了建筑施工废水处理装置在对废水预处理过滤时,废水过滤的效率较低,容易堆积在滤网表面,且过滤效果较差,难以对废水进行挤压渗透过滤,且装置的耗能较大成本较高的问题。一种绿色建造建筑施工废水处理装置及其使用方法,包括底座机构,所述底座机构的顶端固定安装有输水箱,所述输水箱的顶端固定安装有进水箱。本发明通过活动圆台和刮水板的配合,通过废水倒入输水箱内部时对刮水板的冲击而使活动圆台转动,从而使活动圆台对传动机构进行传动而带动挤压机构在底座的内部循环升降对废水进行挤压过滤,减少装置的耗能。

权利要求书
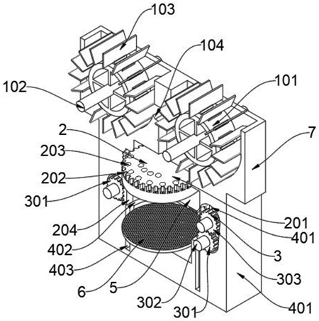
1.一种绿色建造建筑施工废水处理装置,包括底座机构(4),所述底座机构(4)的顶端固定安装有输水箱(7),所述输水箱(7)的顶端固定安装有进水箱(8),其特征在于:所述输水箱(7)内部的两侧均活动安装有驱动机构(1),所述底座机构(4)内部的顶端活动安装有挤压机构(2),所述底座机构(4)内部的底端固定安装有过滤网(6),所述挤压机构(2)和过滤网(6)之间活动安装有堵塞机构(5),所述底座机构(4)的内部活动安装有传动机构(3);所述挤压机构(2)包括挤压台(201)、挤压台轮齿(202)和L型固定杆(204),所述挤压台(201)活动安装在底座机构(4)内部的顶端位置,所述挤压台(201)外表面靠近顶端的位置设有多个挤压台轮齿(202),所述挤压台(201)两侧的外表面均固定安装有L型固定杆(204);所述传动机构(3)包括升降齿轮(301)、从动齿轮(303)和两个角度调整齿轮(305),两个所述升降齿轮(301)分别活动安装在底座机构(4)内部的两侧位置,其中一侧的所述升降齿轮(301)的顶端啮合连接有从动齿轮(303),两个所述角度调整齿轮(305)分别位于底座机构(4)内部靠近顶端和底端的位置,且角度调整齿轮(305)与底座机构(4)的内壁转动连接。
2.根据权利要求1所述的一种绿色建造建筑施工废水处理装置,其特征在于:所述挤压机构(2)还包括通水孔(203)和配合块(205),所述挤压台(201)的顶端表面设有多个通水孔(203),所述挤压台(201)的底端表面固定安装有配合块(205),每两个所述挤压台轮齿(202)之间均设有通孔,所述挤压台(201)的顶端表面呈圆弧状凸起,两个所述L型固定杆(204)之间的夹角为一百五十度。
3.根据权利要求1所述的一种绿色建造建筑施工废水处理装置,其特征在于:所述传动机构(3)还包括齿轮转轴(302)、传动带(304)和传动齿轮(306),所述角度调整齿轮(305)的一侧均啮合连接有传动齿轮(306),所述传动齿轮(306)均位于角度调整齿轮(305)下方位置的一侧与角度调整齿轮(305)啮合,所述升降齿轮(301)、从动齿轮(303)、角度调整齿轮(305)和传动齿轮(306)的内部均轴连接有齿轮转轴(302),所述从动齿轮(303)内部的齿轮转轴(302)与一个传动齿轮(306)内部的齿轮转轴(302)通过传动带(304)活动连接,未与从动齿轮(303)啮合连接的所述升降齿轮(301)内部的齿轮转轴(302)与另一个传动齿轮(306)内部的齿轮转轴(302)通过传动带(304)活动连接。
4.根据权利要求1所述的一种绿色建造建筑施工废水处理装置,其特征在于:所述驱动机构(1)包括活动圆台(101)、圆台转轴(102)、刮水板(103)、集水槽(104)和连通槽(105),两个所述活动圆台(101)分别活动安装在输水箱(7)内部的两侧位置,所述活动圆台(101)的内部均活动安装有圆台转轴(102),所述活动圆台(101)的外表面均固定安装有多个刮水板(103),所述输水箱(7)内部的中心位置固定安装有隔板,所述隔板的表面设有集水槽(104),所述集水槽(104)的内部设有连通槽(105)。
5.根据权利要求1所述的一种绿色建造建筑施工废水处理装置,其特征在于:所述底座机构(4)包括底座(401)、升降槽(402)、固定杆放置槽(403)、排水管(404)、第一齿轮槽(405)和第二齿轮槽(406),所述底座(401)固定安装在输水箱(7)的底端表面,所述底座(401)的内部靠近挤压机构(2)的位置均设有升降槽(402),所述升降槽(402)内部的底端均设有固定杆放置槽(403),所述底座(401)内部靠近传动机构(3)的位置分别设有两个第一齿轮槽(405)和两个第二齿轮槽(406),所述底座(401)的后侧表面固定安装有排水管(404),所述升降槽(402)和固定杆放置槽(403)均呈弧形槽状,所述升降槽(402)和固定杆放置槽(403)内部的弧形角度均为三十度。
6.根据权利要求5所述的一种绿色建造建筑施工废水处理装置,其特征在于:所述堵塞机构(5)包括堵水板(501)、T型活动槽(502)、通水槽(503)和T型滑动块(504),所述堵水板(501)活动安装在底座(401)的内部表面,所述底座(401)内部靠近堵水板(501)的位置设有两个T型活动槽(502),所述堵水板(501)的外表面固定安装有两个T型滑动块(504),所述T型滑动块(504)均活动卡入T型活动槽(502)的内部,所述堵水板(501)顶端表面的中心位置设有通水槽(503),所述T型活动槽(502)的内部均活动安装有压缩弹簧,所述压缩弹簧均与T型滑动块(504)活动连接。
7.根据权利要求5所述的一种绿色建造建筑施工废水处理装置,其特征在于:所述进水箱(8)的顶端固定安装有进水管(9),所述进水箱(8)内部的底端表面固定安装有两个分水管(10),所述过滤网(6)均固定安装在底座(401)的内部表面,所述输水箱(7)内部的两侧通过隔板分隔成两个集水腔,所述集水腔的底部均呈圆弧状。
8.根据权利要求2所述的一种绿色建造建筑施工废水处理装置,其特征在于:所述配合块(205)活动卡入通水槽(503)的内部,所述L型固定杆(204)均活动卡入升降槽(402)的内部,所述L型固定杆(204)的外侧均设有多个轮齿,所述L型固定杆(204)外侧的轮齿均与升降齿轮(301)啮合连接,所述挤压台轮齿(202)均与角度调整齿轮(305)啮合连接。
9.根据权利要求3所述的一种绿色建造建筑施工废水处理装置,其特征在于:所述升降齿轮(301)和从动齿轮(303)均活动安装在第一齿轮槽(405)的内部,所述角度调整齿轮(305)和传动齿轮(306)均活动安装在第二齿轮槽(406)的内部,两个所述传动齿轮(306)内部的齿轮转轴(302)均分别与两个圆台转轴(102)通过传动带(304)活动连接。
10.一种根据权利要求1-9中的任意一项中所述的绿色建造建筑施工废水处理装置的使用方法,其特征在于:所述使用方法包括以下步骤:S1:先将废水通过进水管(9)倒入进水箱(8)的内部,随后废水会通过进水箱(8)的内部向两侧的分水管(10)分流,随后通过分水管(10)倒入输水箱(7)的内部,废水在进入输水箱(7)内部的时候,会撞击到刮水板(103)的表面,从而使两侧的活动圆台(101)受到废水的推力而分别逆时针和顺时针转动,此时废水会堆积在集水腔的底部而由于圆弧状无法直接通过集水槽(104)和连通槽(105)的内部倒入底座(401)中,此时刮水板(103)受到废水的推力转动而将废水从集水腔的内部推入集水槽(104)的位置,从而将废水从输水箱(7)的内部推入底座(401)的内部;S2:当废水通过连通槽(105)倒入底座(401)内部时,废水会先倒入到挤压台(201)的顶端表面,此时由于圆弧状凸起的挤压台(201)而使废水向挤压台(201)的外围移动,废水会通过通水孔(203)和挤压台轮齿(202)之间的通孔流入挤压台(201)下方的位置,随后通过堵水板(501)中心的通水槽(503)流入过滤网(6)的表面,从而通过过滤网(6)对废水进行过滤;S3:当废水流入底座(401)内部堆积在过滤网(6)的上方位置,且活动圆台(101)在转动的同时,会使圆台转轴(102)通过传动带(304)带动传动齿轮(306)转动,此时传动齿轮(306)会跟随活动圆台(101)同时转动而带动角度调整齿轮(305)转动,从而使两侧的角度调整齿轮(305)分别逆时针和顺时针转动,同时传动齿轮(306)会通过传动带(304)同时带动一侧的升降齿轮(301)和另一侧的从动齿轮(303)转动,而从动齿轮(303)会带动和其啮合的升降齿轮(301)转动,从而使两个升降齿轮(301)均逆时针转动;S4:当挤压台(201)位于底座(401)内部的最上方位置时,一侧的L型固定杆(204)会与升降齿轮(301)啮合,另一侧的L型固定杆(204)会由于两个L型固定杆(204)之间夹角的原因而不与另一个升降齿轮(301)啮合,且挤压台轮齿(202)会与逆时针转动的角度调整齿轮(305)啮合,随后通过角度调整齿轮(305)使挤压台轮齿(202)顺时针转动三十度,从而使L型固定杆(204)在升降槽(402)和固定杆放置槽(403)的内部转动,此时两侧的L型固定杆(204)会交换与升降齿轮(301)啮合的情况,此时被从动齿轮(303)驱动转动的升降齿轮(301)逆时针转动的同时会使挤压台(201)下降,此时挤压台(201)的底端会撞击到堵水板(501)的表面而带动堵水板(501)同时下降,且同时配合块(205)会与通水槽(503)配合安装从而使通水孔(203)和挤压台轮齿(202)之间通孔被堵水板(501)堵塞,此时新流入的废水会堆积在挤压台(201)的上方位置,同时位于挤压台(201)与过滤网(6)之间的废水会由于挤压台(201)的下压而通过过滤网(6)的滤孔渗透过滤,直至堵水板(501)的底端与过滤网(6)的表面接触S5:当在挤压台(201)与过滤网(6)之间堆积的废水通过挤压台(201)下降而过滤完毕后,此时挤压台(201)会下降至底座(401)内部的最下方位置,此时挤压台(201)的挤压台轮齿(202)会与顺时针转动的角度调整齿轮(305)啮合,从而通过角度调整齿轮(305)使挤压台轮齿(202)逆时针转动三十度,从而使L型固定杆(204)在升降槽(402)和固定杆放置槽(403)的内部向回转动,此时两侧的L型固定杆(204)再一次交换与升降齿轮(301)啮合的情况,此时通过传动带(304)驱动的升降齿轮(301)在逆时针转动的同时会使挤压台(201)上升,挤压台(201)在上升时,堵水板(501)会受到压缩弹簧的弹性跟随上升,当堵水板(501)上升至T型活动槽(502)内部的顶端位置后,挤压台(201)继续向上移动,此时堵水板(501)不再堵塞挤压台(201)表面的通水孔(203)和通孔,挤压台(201)上方的废水会通过通水孔(203)和通孔流入挤压台(201)的下方位置通过过滤网(6)过滤,从而使挤压台(201)可在底座(401)的内部循环升降对废水进行挤压渗透过滤。
发明内容
本发明的目的在于提供一种绿色建造建筑施工废水处理装置及其使用方法,以解决上述背景技术中提出建筑施工废水处理装置在对废水预处理过滤时,废水过滤的效率较低,容易堆积在滤网表面,且过滤效果较差,难以对废水进行挤压渗透过滤,且装置的耗能较大成本较高等问题。
为实现上述目的,本发明提供如下技术方案:一种绿色建造建筑施工废水处理装置,包括底座机构,所述底座机构的顶端固定安装有输水箱,所述输水箱的顶端固定安装有进水箱,所述输水箱内部的两侧均活动安装有驱动机构,所述底座机构内部的顶端活动安装有挤压机构,所述底座机构内部的底端固定安装有过滤网,所述挤压机构和过滤网之间活动安装有堵塞机构,所述底座机构的内部活动安装有传动机构;
所述挤压机构包括挤压台、挤压台轮齿和L型固定杆,所述挤压台活动安装在底座机构内部的顶端位置,所述挤压台外表面靠近顶端的位置设有多个挤压台轮齿,所述挤压台两侧的外表面均固定安装有L型固定杆;
所述传动机构包括升降齿轮、从动齿轮和角度调整齿轮,两个所述升降齿轮分别活动安装在底座机构内部的两侧位置,其中一侧的所述升降齿轮的顶端啮合连接有从动齿轮,两个所述角度调整齿轮分别位于底座机构内部靠近顶端和底端的位置,且角度调整齿轮与底座机构的内壁转动连接。
优选的,所述挤压机构还包括通水孔和配合块,所述挤压台的顶端表面设有多个通水孔,所述挤压台的底端表面固定安装有配合块,每两个所述挤压台轮齿之间均设有通孔,所述挤压台的顶端表面呈圆弧状凸起,两个所述L型固定杆之间的夹角为一百五十度。
优选的,所述传动机构还包括齿轮转轴、传动带和传动齿轮,所述角度调整齿轮的一侧均啮合连接有传动齿轮,所述传动齿轮均位于角度调整齿轮下方位置的一侧与角度调整齿轮啮合,所述升降齿轮、从动齿轮、角度调整齿轮和传动齿轮的内部均轴连接有齿轮转轴,所述从动齿轮内部的齿轮转轴与一个传动齿轮内部的齿轮转轴通过传动带活动连接,未与从动齿轮啮合连接的所述升降齿轮内部的齿轮转轴与另一个传动齿轮内部的齿轮转轴通过传动带活动连接。优选的,所述驱动机构包括活动圆台、圆台转轴、刮水板、集水槽和连通槽,两个所述活动圆台分别活动安装在输水箱内部的两侧位置,所述活动圆台的内部均活动安装有圆台转轴,所述活动圆台的外表面均固定安装有多个刮水板,所述输水箱内部的中心位置固定安装有隔板,所述隔板的表面设有集水槽,所述集水槽的内部设有连通槽。
优选的,所述底座机构包括底座、升降槽、固定杆放置槽、排水管、第一齿轮槽和第二齿轮槽,所述底座固定安装在输水箱的底端表面,所述底座的内部靠近挤压机构的位置均设有升降槽,所述升降槽内部的底端均设有固定杆放置槽,所述底座内部靠近传动机构的位置分别设有两个第一齿轮槽和两个第二齿轮槽,所述底座的后侧表面固定安装有排水管,所述升降槽和固定杆放置槽均呈弧形槽状,所述升降槽和固定杆放置槽内部的弧形角度均为三十度。
优选的,所述堵塞机构包括堵水板、T型活动槽、通水槽和T型滑动块,所述堵水板活动安装在底座的内部表面,所述底座内部靠近堵水板的位置设有两个T型活动槽,所述堵水板的外表面固定安装有两个T型滑动块,所述T型滑动块均活动卡入T型活动槽的内部,所述堵水板顶端表面的中心位置设有通水槽,所述T型活动槽的内部均活动安装有压缩弹簧,所述压缩弹簧均与T型滑动块活动连接。
优选的,所述进水箱的顶端固定安装有进水管,所述进水箱内部的底端表面固定安装有两个分水管,所述过滤网均固定安装在底座的内部表面,所述输水箱内部的两侧通过隔板分隔成两个集水腔,所述集水腔的底部均呈圆弧状。
优选的,所述配合块活动卡入通水槽的内部,所述L型固定杆均活动卡入升降槽的内部,所述L型固定杆的外侧均设有多个轮齿,所述L型固定杆外侧的轮齿均与升降齿轮啮合连接,所述挤压台轮齿均与角度调整齿轮啮合连接。
优选的,所述升降齿轮和从动齿轮均活动安装在第一齿轮槽的内部,所述角度调整齿轮和传动齿轮均活动安装在第二齿轮槽的内部,两个所述传动齿轮内部的齿轮转轴均分别与两个圆台转轴通过传动带活动连接。
一种绿色建造建筑施工废水处理装置的使用方法,所述使用方法包括以下步骤:
S1:先将废水通过进水管倒入进水箱的内部,随后废水会通过进水箱的内部向两侧的分水管分流,随后通过分水管倒入输水箱的内部,废水在进入输水箱内部的时候,会撞击到刮水板的表面,从而使两侧的活动圆台受到废水的推力而分别逆时针和顺时针转动,此时废水会堆积在集水腔的底部而由于圆弧状无法直接通过集水槽和连通槽的内部倒入底座中,此时刮水板受到废水的推力转动而将废水从集水腔的内部推入集水槽的位置,从而将废水从输水箱的内部推入底座的内部;
S2:当废水通过连通槽倒入底座内部时,废水会先倒入到挤压台的顶端表面,此时由于圆弧状凸起的挤压台而使废水向挤压台的外围移动,废水会通过通水孔和挤压台轮齿之间的通孔流入挤压台下方的位置,随后通过堵水板中心的通水槽流入过滤网的表面,从而通过过滤网对废水进行过滤;
S3:当废水流入底座内部堆积在过滤网的上方位置,且活动圆台在转动的同时,会使圆台转轴通过传动带带动传动齿轮转动,此时传动齿轮会跟随活动圆台同时转动而带动角度调整齿轮转动,从而使两侧的角度调整齿轮分别逆时针和顺时针转动,同时传动齿轮会通过传动带同时带动一侧的升降齿轮和另一侧的从动齿轮转动,而从动齿轮会带动和其啮合的升降齿轮转动,从而使两个升降齿轮均逆时针转动;
S4:当挤压台位于底座内部的最上方位置时,一侧的L型固定杆会与升降齿轮啮合,另一侧的L型固定杆会由于两个L型固定杆之间夹角的原因而不与另一个升降齿轮啮合,且挤压台轮齿会与逆时针转动的角度调整齿轮啮合,随后通过角度调整齿轮使挤压台轮齿顺时针转动三十度,从而使L型固定杆在升降槽和固定杆放置槽的内部转动,此时两侧的L型固定杆会交换与升降齿轮啮合的情况,此时被从动齿轮驱动转动的升降齿轮逆时针转动的同时会使挤压台下降,此时挤压台的底端会撞击到堵水板的表面而带动堵水板同时下降,且同时配合块会与通水槽配合安装从而使通水孔和挤压台轮齿之间通孔被堵水板堵塞,此时新流入的废水会堆积在挤压台的上方位置,同时位于挤压台与过滤网之间的废水会由于挤压台的下压而通过过滤网的滤孔渗透过滤,直至堵水板的底端与过滤网的表面接触
S5:当在挤压台与过滤网之间堆积的废水通过挤压台下降而过滤完毕后,此时挤压台会下降至底座内部的最下方位置,此时挤压台的挤压台轮齿会与顺时针转动的角度调整齿轮啮合,从而通过角度调整齿轮使挤压台轮齿逆时针转动三十度,从而使L型固定杆在升降槽和固定杆放置槽的内部向回转动,此时两侧的L型固定杆再一次交换与升降齿轮啮合的情况,此时通过传动带驱动的升降齿轮在逆时针转动的同时会使挤压台上升,挤压台在上升时,堵水板会受到压缩弹簧的弹性跟随上升,当堵水板上升至T型活动槽内部的顶端位置后,挤压台继续向上移动,此时堵水板不再堵塞挤压台表面的通水孔和通孔,挤压台上方的废水会通过通水孔和通孔流入挤压台的下方位置通过过滤网过滤,从而使挤压台可在底座的内部循环升降对废水进行挤压渗透过滤。
与现有技术相比,本发明的有益效果是:
1、本发明通过活动圆台和刮水板的配合,使装置在对废水进行过滤时,可通过废水倒入输水箱内部时对刮水板的冲击而使活动圆台转动,从而通过活动圆台对传动机构进行传动而带动挤压机构在底座的内部循环升降对废水进行挤压渗透过滤,从而减少装置的耗能。通过升降齿轮和从动齿轮的配合,使装置在使用时可通过升降齿轮对L型固定杆进行传动,从而使挤压台在底座的内部进行升降运动,从而对挤压台底部的废水进行挤压,使其受压而渗透过滤,提高废水的过滤效率。
2、本发明通过堵水板和通水槽的配合,当挤压台在下降时,可通过堵水板和通水槽对挤压台的底部进行堵塞,从而使挤压台在下降时挤压台与过滤网之间的废水不会通过通水孔和通孔回流到挤压台的上方位置。
(发明人:高强;张昆;李斌;罗亚楠;安文智)






