公布日:2024.04.05
申请日:2023.06.26
分类号:C02F7/00(2006.01)I;C02F1/00(2023.01)I;B01D53/047(2006.01)I;B01D46/00(2022.01)I;C02F9/00(2023.01)N;C02F101/10(2006.01)N;C02F101/16(2006.01)N
摘要
本发明公开了一种一体化智能调控型污水处理系统,包括作业平台和设置于作业平台上的智能工控箱、初段进水罐、曝气处理单元和供气单元,曝气处理单元包括有曝气作业箱、位于曝气作业箱下端的污泥排放电动阀门、位于曝气作业箱侧壁并呈贯穿设置的氧浓度传感装置、位于曝气作业箱顶部并呈贯穿设置的水位监测装置、位于曝气作业箱底部并连接污泥排放电动阀门的沉淀底壳结构、位于曝气作业箱靠近供气单元一端的侧壁下部并呈贯穿设置的总进气管。本申请使得污水在进行处理时,能够在一体化设备的集中处理优势上减少污水分散处理的成本,确保污水处理阶段能够较好的完成曝气处理工作,尤其是处于高原山区农村的环境下,为污水处理提供了较好的作业保障。

权利要求书
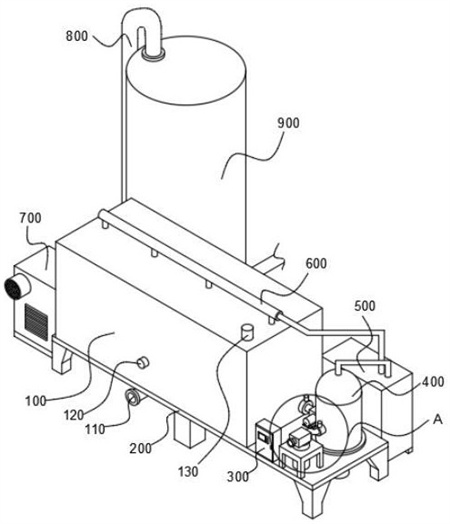
1.一种一体化智能调控型污水处理系统,包括作业平台(200)和设置于作业平台(200)上的曝气处理单元和供气单元(700),其特征在于,所述曝气处理单元包括有曝气作业箱(100)、位于曝气作业箱(100)下端的污泥排放电动阀门(111)、位于曝气作业箱(100)侧壁并呈贯穿设置的氧浓度传感装置(120)、位于曝气作业箱(100)顶部并呈贯穿设置的水位监测装置(130)、位于曝气作业箱(100)底部并连接污泥排放电动阀门(111)的沉淀底壳结构(140)、位于曝气作业箱(100)靠近供气单元(700)一端的侧壁下部并呈贯穿设置的总进气管(150),所述总进气管(150)贯穿至曝气作业箱(100)内部连接有目字曝气管组(160),所述目字曝气管组(160)上端均匀分布连接有喷气嘴(170);所述供气单元(700)包括有机组外壳(710)以及设置于机组外壳(710)内底部的气体压缩机组(760),所述气体压缩机组(760)出气端连接总进气管(150),进气端通过气体管道连接有集气罐(750),所述集气罐(750)顶部可拆卸连接有氧气分子筛装置(740),所述氧气分子筛装置(740)顶部设有进气喉管(730),所述进气喉管(730)另一端贯穿机组外壳(710)一侧的上部可拆卸连接有空气滤清器(720)。
2.根据权利要求1所述的一种一体化智能调控型污水处理系统,其特征在于,还包括有设置于作业平台(200)上的初段进水罐(400),所述初段进水罐(400)底部设有锥台底壳结构(410),所述锥台底壳结构(410)上方设有刮扫叶片(450),所述刮扫叶片(450)中部贯穿设有旋转轴,所述旋转轴底部依次贯穿锥台底壳结构(410)和作业平台(200)并连接有电机(420),且所述刮扫叶片(450)与锥台底壳结构(410)外壁以及初段进水罐(400)内壁之间设有橡胶刮条(451)。
3.根据权利要求2所述的一种一体化智能调控型污水处理系统,其特征在于,所述初段进水罐(400)靠近曝气作业箱(100)一侧下部贯穿镶嵌有初段过滤网板(461),位于初段过滤网板(461)外部的初段进水罐(400)外壁上可拆卸连接有第一电动阀门(460),所述第一电动阀门(460)通过输水管道依次连接有第一抽吸泵(480)和第二电动阀门(180),所述第二电动阀门(180)贯穿固定于曝气作业箱(100)远离供气单元(700)一端的下部,且所述初段进水罐(400)一侧外壁上可拆卸连接有第三电动阀门(470),所述第三电动阀门(470)通过输水管道连接有第二抽吸泵(490),所述第二抽吸泵(490)底部可拆卸连接有支架(491),所述支架(491)底部可拆卸固定于作业平台(200)上。
4.根据权利要求2所述的一种一体化智能调控型污水处理系统,其特征在于,所述旋转轴上穿插连接有两个密封胶环(430)和一个机械密封轴环(440),所述机械密封轴环(440)位于两个密封胶环(430)之间,其中一个所述密封胶环(430)镶嵌于锥台底壳结构(410)中部,另一个所述密封胶环(430)镶嵌于作业平台(200)内。
5.根据权利要求3所述的一种一体化智能调控型污水处理系统,其特征在于,所述支架(491)与曝气作业箱(100)之间设有智能工控箱(300),所述智能工控箱(300)底部固定于作业平台(200)上,且所述智能工控箱(300)通过导线分别与氧浓度传感装置(120)、污泥排放电动阀门(111)、水位监测装置(130)、气体压缩机组(760)、电机(420)、第一电动阀门(460)、第二电动阀门(180)、第三电动阀门(470)、第一抽吸泵(480)、第二抽吸泵(490)呈电性连接。
6.根据权利要求1所述的一种一体化智能调控型污水处理系统,其特征在于,所述氧气分子筛装置(740)一侧贯穿机组外壳(710)分别设有废气排放管(741)和分子筛板更换通道口,且除更换分子筛板的时间段外,所述分子筛板更换通道口为封闭状态。
7.根据权利要求1所述的一种一体化智能调控型污水处理系统,其特征在于,所述沉淀底壳结构(140)中部离地距离小于曝气作业箱(100)两端底部离地距离,且所述沉淀底壳结构(140)中部下端贯穿作业平台(200)并与污泥排放电动阀门(111)为可拆卸连接,所述污泥排放电动阀门(111)排出口连接有出泥管(110)。
8.根据权利要求1所述的一种一体化智能调控型污水处理系统,其特征在于,所述目字曝气管组(160)两侧均可拆卸连接有管道固定件(161),所述管道固定件(161)尾部与曝气作业箱(100)两侧内壁为可拆卸连接。
9.根据权利要求2所述的一种一体化智能调控型污水处理系统,其特征在于,所述曝气作业箱(100)顶部和初段进水罐(400)顶部均连接有集气管组(600),所述集气管组(600)汇集连接到气体净化装置(500)的顶部。
10.根据权利要求1所述的一种一体化智能调控型污水处理系统,其特征在于,所述曝气作业箱(100)靠近机组外壳(710)一端的侧壁下部位置通过出水机构(800)连接有污水处理预制泵站(900)。
发明内容
基于此,本发明的目的是提供一种一体化智能调控型污水处理系统,以解决上述背景技术中提出的技术问题。
为实现上述目的,本发明提供如下技术方案:一种一体化智能调控型污水处理系统,包括作业平台和设置于作业平台上的曝气处理单元和供气单元,所述曝气处理单元包括有曝气作业箱、位于曝气作业箱下端的污泥排放电动阀门、位于曝气作业箱侧壁并呈贯穿设置的氧浓度传感装置、位于曝气作业箱顶部并呈贯穿设置的水位监测装置、位于曝气作业箱底部并连接污泥排放电动阀门的沉淀底壳结构、位于曝气作业箱靠近供气单元一端的侧壁下部并呈贯穿设置的总进气管,所述总进气管贯穿至曝气作业箱内部连接有目字曝气管组,所述目字曝气管组上端均匀分布连接有喷气嘴;所述供气单元包括有机组外壳以及设置于机组外壳内底部的气体压缩机组,所述气体压缩机组出气端连接总进气管,进气端通过气体管道连接有集气罐,所述集气罐顶部可拆卸连接有氧气分子筛装置,所述氧气分子筛装置顶部设有进气喉管,所述进气喉管另一端贯穿机组外壳一侧的上部可拆卸连接有空气滤清器。
另外,还包括有设置于作业平台上的初段进水罐,所述初段进水罐底部设有锥台底壳结构,所述锥台底壳结构上方设有刮扫叶片,所述刮扫叶片中部贯穿设有旋转轴,所述旋转轴底部依次贯穿锥台底壳结构和作业平台并连接有电机,且所述刮扫叶片与锥台底壳结构外壁以及初段进水罐内壁之间设有橡胶刮条。
其次,所述初段进水罐靠近曝气作业箱一侧下部贯穿镶嵌有初段过滤网板,位于初段过滤网板外部的初段进水罐外壁上可拆卸连接有第一电动阀门,所述第一电动阀门通过输水管道依次连接有第一抽吸泵和第二电动阀门,所述第二电动阀门贯穿固定于曝气作业箱远离供气单元一端的下部,且所述初段进水罐一侧外壁上可拆卸连接有第三电动阀门,所述第三电动阀门通过输水管道连接有第二抽吸泵,所述第二抽吸泵底部可拆卸连接有支架,所述支架底部可拆卸固定于作业平台上。
再者,所述旋转轴上穿插连接有两个密封胶环和一个机械密封轴环,所述机械密封轴环位于两个密封胶环之间,其中一个所述密封胶环镶嵌于锥台底壳结构中部,另一个所述密封胶环镶嵌于作业平台内。
进一步的,所述支架与曝气作业箱之间设有智能工控箱,所述智能工控箱底部固定于作业平台上,且所述智能工控箱通过导线分别与氧浓度传感装置、污泥排放电动阀门、水位监测装置、气体压缩机组、电机、第一电动阀门、第二电动阀门、第三电动阀门、第一抽吸泵、第二抽吸泵呈电性连接。
进一步的,所述氧气分子筛装置一侧贯穿机组外壳分别设有废气排放管和分子筛板更换通道口,且除更换分子筛板的时间段外,所述分子筛板更换通道口为封闭状态。
进一步的,所述沉淀底壳结构中部离地距离小于曝气作业箱两端底部离地距离,且所述沉淀底壳结构中部下端贯穿作业平台并与污泥排放电动阀门为可拆卸连接,所述污泥排放电动阀门排出口连接有出泥管。
进一步的,所述目字曝气管组两侧均可拆卸连接有管道固定件,所述管道固定件尾部与曝气作业箱两侧内壁为可拆卸连接。
进一步的,所述曝气作业箱顶部和初段进水罐顶部均连接有集气管组,所述集气管组汇集连接到气体净化装置的顶部。
进一步的,所述曝气作业箱靠近机组外壳一端的侧壁下部位置通过出水机构连接有污水处理预制泵站。
综上所述,本发明主要具有以下有益效果:本申请通过在作业平台上安装各项污水处理系统中的作业设备,使得污水在进行处理时,能够在一体化设备的集中处理优势上减少污水分散处理的成本,且根据污水处理的情况利用智能工控箱实施整体设备的智能化自动运作,对各个电控设备进行精准、有效的控制,确保在污水处理阶段能够较好的完成曝气处理工作,尤其是处于高原山区农村的环境下,为污水处理提供了较好的作业保障;本申请在实施污水处理的过程中,在曝气阶段的氧浓度控制方面,一边利用供气单元的氧气分子筛装置较好的提取出含氧高的气体并压缩后送入曝气作业箱中融入污水,使得曝气阶段的氧浓度值保持较为合适的含量,且在氧浓度传感装置的实时监测情况下,自动通过智能工控箱去实施对供气单元的启闭,含氧量充足时可进行自动停机,以便于达到节能的目的。
(发明人:李嘉;周志明;叶长兵;朱艺;施素杰;倪宝森;彭淑娴)






