公布日:2024.04.05
申请日:2024.02.04
分类号:C02F1/00(2023.01)I;C02F1/28(2023.01)I;C02F1/48(2023.01)I;A01K63/04(2006.01)I;C02F103/20(2006.01)N
摘要
本申请公开了一种具有环保功能的养殖场污水处理装置,涉及废水处理技术领域,其中包括支撑组件和过滤组件;所述支撑组件包括固定板和过滤筒;所述过滤筒为上端开口的圆柱体形,所述过滤筒固定在固定板上;所述过滤组件包括支撑板、通口、筒体、固定组和过滤包一;所述支撑板为圆柱体形,所述支撑板设置在支撑组件上,所述支撑板滑动密封连接在过滤筒内;能够实现筒体通过上下的固定盖进行限位,在通过过滤板过滤之后,存储在支撑板上的水量较大时,筒体不会因为水的浮力而漂浮,从而导致过滤效果变差;通过悬吊组件一和悬吊组件二可以对于污水进行多次吸附过滤,通过吊绳对过滤之后的污水引流,使污水可以完全经过三次吸附过滤。

权利要求书
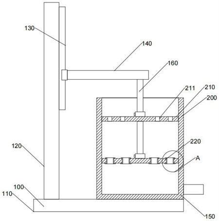
1.一种具有环保功能的养殖场污水处理装置,包括支撑组件(100)和过滤组件(200);所述支撑组件(100)包括固定板(110)和过滤筒(150);所述过滤筒(150)为上端开口的圆柱体形,所述过滤筒(150)固定在固定板(110)上;其特征在于,所述过滤组件(200)包括支撑板(220)、通口(221)、筒体(230)、固定组和过滤包一(250);所述支撑板(220)为圆柱体形,所述支撑板(220)设置在支撑组件(100)上,所述支撑板(220)滑动密封连接在过滤筒(150)内;所述支撑板(220)上带有通口(221),所述通口(221)圆柱体形,所述通口(221)有十二个,且均匀间隔分布;所述筒体(230)的数量和通口(221)数量相同,且一一对应,所述筒体(230)为上下贯通的圆柱体形,所述筒体(230)滑动密封连接在通口(221)内;所述固定组的数量和筒体(230)数量相同,且一一对应,一个所述固定组包括两个固定盖(240),所述固定盖(240)为上下贯通的圆柱体形,两个所述固定盖(240)的内圈分别螺纹连接在筒体(230)的上下两端的外圈;所述过滤包一(250)数量和筒体(230)数量相同,且一一对应,所述过滤包一(250)固定在筒体(230)内。
2.如权利要求1所述的一种具有环保功能的养殖场污水处理装置,其特征在于,所述支撑板(220)的轴线与过滤筒(150)的轴线在同一条直线上;所述通口(221)的轴线平行于支撑板(220)的轴线;所述筒体(230)的轴线平行于通口(221)的轴线。
3.如权利要求1所述的一种具有环保功能的养殖场污水处理装置,其特征在于,所述过滤包一(250)由可供水通过的材质制成;所述过滤包一(250)内部填充材质是由活性炭、活性白土、活性沸石和焦炭等比配制而成。
4.如权利要求1所述的一种具有环保功能的养殖场污水处理装置,其特征在于,所述支撑组件(100)还包括安装支架(120)、电动滑台(130)、调节板(140)和固定杆(160);所述安装支架(120)固定在固定板(110)上,所述安装支架(120)位于过滤筒(150)的一侧;所述电动滑台(130)固定在安装支架(120)靠近过滤筒(150)的一侧;所述调节板(140)一端滑动连接在电动滑台(130)上,所述调节板(140)位于过滤筒(150)上侧;所述固定杆(160)为圆柱体形,所述固定杆(160)固定在调节板(140)下表面,所述固定杆(160)下端位于过滤筒(150)内;所述支撑板(220)滑动连接在固定杆(160)上,所述支撑板(220)通过螺栓固定在固定杆(160)上;所述过滤组件(200)还包括过滤板(210)和过滤孔(211);所述过滤板(210)为圆柱体形,所述过滤板(210)滑动密封连接在过滤筒(150)内,所述过滤板(210)滑动连接在固定杆(160)上,所述过滤板(210)通过螺栓固定在固定杆(160)上,所述过滤板(210)位于支撑板(220)上方;所述过滤板(210)上带有过滤孔(211),所述过滤孔(211)为圆柱体形,所述过滤孔(211)内带有过滤网,所述过滤孔(211)有二十个,且均匀间隔分布;所述过滤筒(150)一侧带有出水管。
5.如权利要求4所述的一种具有环保功能的养殖场污水处理装置,其特征在于,所述电动滑台(130)的长度方向平行于过滤筒(150)的轴线;所述固定杆(160)的轴线与过滤筒(150)的轴线在同一条直线上;所述过滤板(210)的轴线与支撑板(220)的轴线在同一条直线上;所述过滤孔(211)的轴线平行于过滤板(210)的轴线。
6.如权利要求4所述的一种具有环保功能的养殖场污水处理装置,其特征在于,所述电动滑台(130)抬升调节板(140)高度时,可将过滤板(210)和支撑板(220)完全伸出过滤筒(150)。
7.如权利要求4所述的一种具有环保功能的养殖场污水处理装置,其特征在于,所述具有环保功能的养殖场污水处理装置还包括悬吊组件一(300)和悬吊组件二(400),所述悬吊组件一(300)和悬吊组件二(400)的结构相同;所述悬吊组件一(300)数量与通口(221)数量相同,且一一对应,所述悬吊组件二(400)数量和过滤孔(211)数量相同,且一一对应;所述悬吊组件一(300)包括吊绳(310)和过滤包二(320);所述吊绳(310)上端固定在位于筒体(230)下侧的固定盖(240)上,所述吊绳(310)有四个,且均匀间隔分布;所述过滤包二(320)固定在吊绳(310)下端;所述悬吊组件二(400)内的吊绳(310)上端可拆卸连接在过滤孔(211)下侧。
8.如权利要求7所述的一种具有环保功能的养殖场污水处理装置,其特征在于,所述过滤包二(320)和过滤包一(250)材质相同;所述过滤包二(320)和过滤包一(250)内部填充材质相同;所述吊绳(310)为尼龙材质。
9.如权利要求7所述的一种具有环保功能的养殖场污水处理装置,其特征在于,所述具有环保功能的养殖场污水处理装置还包括调节组件(500),所述调节组件(500)数量和悬吊组件二(400)的数量相同,且一一对应;所述调节组件(500)包括配重块(510)和磁铁(520);所述配重块(510)为球体,所述磁铁(520)有六个,六个所述磁铁(520)分别固定在配重块(510)上下左右前后六个方位,所述配重块(510)固定在悬吊组件二(400)内的过滤包二(320)下侧。
10.如权利要求9所述的一种具有环保功能的养殖场污水处理装置,其特征在于,每个所述调节组件(500)内磁铁(520)远离配重块(510)的一侧磁极相同。
发明内容
本申请实施例通过提供一种具有环保功能的养殖场污水处理装置,解决了现有技术中吸附包通过限位板和定位柱进行定位,吸附包的下侧并没有固定限位装置,在挡板上的水量较大时,吸附包可能由于浮力脱离通孔和定位孔的定位,漂浮在水中或者水面上,实现了通过在筒体的上下两侧都添加固定结构,使其在对于污水过滤时,在支撑板上水量较多时,不会受到水所产生的浮力的影响,漂浮出来。
本申请实施例提供了一种具有环保功能的养殖场污水处理装置,包括支撑组件和过滤组件;
所述支撑组件包括固定板和过滤筒;
所述过滤筒为上端开口的圆柱体形,所述过滤筒固定在固定板上;
所述过滤组件包括支撑板、通口、筒体、固定组和过滤包一;
所述支撑板为圆柱体形,所述支撑板设置在支撑组件上,所述支撑板滑动密封连接在过滤筒内;
所述支撑板上带有通口,所述通口圆柱体形,所述通口有十二个,且均匀间隔分布;
所述筒体的数量和通口数量相同,且一一对应,所述筒体为上下贯通的圆柱体形,所述筒体滑动密封连接在通口内;
所述固定组的数量和筒体数量相同,且一一对应,一个所述固定组包括两个固定盖,所述固定盖为上下贯通的圆柱体形,两个所述固定盖的内圈分别螺纹连接在筒体的上下两端的外圈;
所述过滤包一数量和筒体数量相同,且一一对应,所述过滤包一固定在筒体内。
作为改进,所述支撑板的轴线与过滤筒的轴线在同一条直线上;
所述通口的轴线平行于支撑板的轴线;
所述筒体的轴线平行于通口的轴线。
作为改进,所述过滤包一由可供水通过的材质制成;
所述过滤包一内部填充材质是由活性炭、活性白土、活性沸石和焦炭等比配制而成。
作为改进,所述支撑组件还包括安装支架、电动滑台、调节板和固定杆;
所述安装支架固定在固定板上,所述安装支架位于过滤筒的一侧;
所述电动滑台固定在安装支架靠近过滤筒的一侧;
所述调节板一端滑动连接在电动滑台上,所述调节板位于过滤筒上侧;
所述固定杆为圆柱体形,所述固定杆固定在调节板下表面,所述固定杆下端位于过滤筒内;
所述支撑板滑动连接在固定杆上,所述支撑板通过螺栓固定在固定杆上;
所述过滤组件还包括过滤板和过滤孔;
所述过滤板为圆柱体形,所述过滤板滑动密封连接在过滤筒内,所述过滤板滑动连接在固定杆上,所述过滤板通过螺栓固定在固定杆上,所述过滤板位于支撑板上方;
所述过滤板上带有过滤孔,所述过滤孔为圆柱体形,所述过滤孔内带有过滤网,所述过滤孔有二十个,且均匀间隔分布;
所述过滤筒一侧带有出水管。
作为改进,所述电动滑台的长度方向平行于过滤筒的轴线;
所述固定杆的轴线与过滤筒的轴线在同一条直线上;
所述过滤板的轴线与支撑板的轴线在同一条直线上;
所述过滤孔的轴线平行于过滤板的轴线。
作为改进,所述电动滑台抬升调节板高度时,可将过滤板和支撑板完全伸出过滤筒。
作为改进,所述具有环保功能的养殖场污水处理装置还包括悬吊组件一和悬吊组件二,所述悬吊组件一和悬吊组件二的结构相同;
所述悬吊组件一数量与通口数量相同,且一一对应,所述悬吊组件二数量和过滤孔数量相同,且一一对应;
所述悬吊组件一包括吊绳和过滤包二;
所述吊绳上端固定在位于筒体下侧的固定盖上,所述吊绳有四个,且均匀间隔分布;
所述过滤包二固定在吊绳下端;
所述悬吊组件二内的吊绳上端可拆卸连接在过滤孔下侧。
作为改进,所述过滤包二和过滤包一材质相同;
所述过滤包二和过滤包一内部填充材质相同;
所述吊绳为尼龙材质。
作为改进,所述具有环保功能的养殖场污水处理装置还包括调节组件,所述调节组件数量和悬吊组件二的数量相同,且一一对应;
所述调节组件包括配重块和磁铁;
所述配重块为球体,所述磁铁有六个,六个所述磁铁分别固定在配重块上下左右前后六个方位,所述配重块固定在悬吊组件二内的过滤包二下侧。
作为改进,每个所述调节组件内磁铁远离配重块的一侧磁极相同。
本申请实施例中提供的一个或多个技术方案,至少具有如下技术效果或优点:
其一,筒体通过上下的固定盖进行限位,在通过过滤板过滤之后,存储在支撑板上的水量较大时,筒体不会因为水的浮力而漂浮,从而导致过滤效果变差;
其二,通过悬吊组件一和悬吊组件二可以对于污水进行多次吸附过滤,通过吊绳对过滤之后的污水引流,使污水可以完全经过三次吸附过滤;
其三,通过配重块使悬吊组件二内的过滤包二可以通过配重块始终位于污水中,提高对于污水的吸附处理的效果,同时通过磁铁的相斥,使多个悬吊组件二发生晃动,对于污水进行全面吸附。
(发明人:段心明;申芳丽;史栋森;欧涛;李振林;刘冠琼;李璐璐;刘志高;王培育;刘小米)






