公布日:2023.10.20
申请日:2023.08.24
分类号:C02F3/30(2023.01)I;C02F101/16(2006.01)N
摘要
本发明提供了一种处理高盐废水的装置及方法,其中,装置包括依次连通的:一段生化兼氧反应池17、一级好氧反应池18、可选的硝化池19、可选的脱气池20、二级兼氧池21及二级好氧反应池14。本申请处理高盐废水的装置采用了两级兼氧+好氧处理的结构,令高盐浓度的废水经过两次AO处理后,大大降低废水中的COD与氨氮含量,对高盐废水进行较为高效地处理,同时减少臭氧污染。

权利要求书
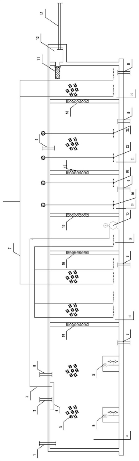
1.一种处理高盐废水的装置,其特征在于,所述装置包括依次连通的:一段生化兼氧反应池(17)、一级好氧反应池(18)、可选的硝化池(19)、可选的脱气池(20)、二级兼氧池(21)及二级好氧反应池(14)。
2.根据权利要求1所述的装置,其特征在于,所述一段生化兼氧反应池(17)、所述一级好氧反应池(18)、所述二级兼氧池(21)及所述二级好氧反应池(14)内均设置有生物着床填料(5),所述生物着床填料(5)由1个位于中心,6个包围在四周的附着床组成,且所述生物着床填料(5)悬浮于水中;优选地,所述生物着床填料(5)中的填料为生物膜污泥;优选地,所述生物着床填料(5)密度为0.94-0.99g/cm3;优选地,所述一段生化兼氧反应池(17)和所述一级好氧反应池(18)中的所述生物着床填料(5)的数量为1-2个;优选地,所述二级兼氧池(21)和所述二级好氧反应池(14)中的所述生物着床填料(5)的数量为1-2个。
3.根据权利要求1所述的装置,其特征在于,所述一段生化兼氧反应池(17)包括推流搅拌风机(8),所述推流搅拌风机(8)设置在所述一段生化兼氧反应池(17)的底部;优选地,所述推流搅拌风机(8)数量为1-2个。
4.根据权利要求1所述的装置,其特征在于,所述一段生化兼氧反应池(17)内设有环形沟,所述环形沟内设有循环潜水搅拌系统。
5.根据权利要求1所述的装置,其特征在于,所述一级好氧反应池(18)、所述硝化池(19)及所述二级好氧反应池(14)均包括小孔曝气系统(7),所述小孔曝气系统(7)包括曝气主管以及与所述曝气主管连通的多个曝气支管,多个所述曝气支管分别从所述一级好氧反应池(18)、所述硝化池(19)及所述二级好氧反应池(14)的顶部延伸至所述一级好氧反应池(18)、所述硝化池(19)及所述二级好氧反应池(14)的底部,且在每个所述曝气支管的末端连接有曝气孔板,所述曝气孔板上设置有多个曝气孔;优选地,多个所述曝气孔在所述曝气孔板上以阵列方式排布;优选地,所述小孔曝气系统(7)所用材料为HDPE;优选地,所述曝气孔的直径为1-3mm;优选地,所述曝气孔在所述曝气孔板上的分布密度为1600个/m2;优选地,所述曝气支管的数量,所述一级好氧反应池(18)中有2-4个、所述硝化池(19)中有1-2个;所述二级好氧反应池(14)中有1-2个。
6.根据权利要求1所述的装置,其特征在于,所述硝化池(19)包括硝化液回流泵(15),所述硝化液回流泵(15)设置在所述硝化池(19)的底部;所述硝化池(19)与所述一段生化兼氧反应池(17)之间通过与硝化液回流泵(15)连通的硝化液回流管线(3)所连通。
7.根据权利要求1所述的装置,其特征在于,所述脱气池(20)包括中间脱气搅拌机(16),所述中间脱气搅拌机(16)包括搅拌棒以及位于所述搅拌棒末端的浆叶,所述搅拌棒穿过所述脱气池(20)的顶部并延伸至所述脱气池(20)的底部;优选地,所述中间脱气搅拌机(16)数量为1-2个。
8.根据权利要求1所述的装置,其特征在于,所述二级兼氧池(21)包括厌氧搅拌器(22),所述厌氧搅拌器(22)包括搅拌棒以及位于所述搅拌棒末端的浆叶,所述搅拌棒穿过所述二级兼氧池(21)的顶部并延伸至所述二级兼氧池(21)的底部;优选地,所述厌氧搅拌器(22)数量为1-2个。
9.根据权利要求1所述的装置,其特征在于,所述二级好氧反应池(14)包括出水滤网(11)、产水溢流堰(12)及产水管线(13),所述水滤网(11)、所述产水溢流堰(12)及所述产水管线(13)按照水流出方向依次设置于所述二级好氧反应(14)顶部右侧。
10.根据权利要求1所述的装置,其特征在于,所述一段生化兼氧反应池(17)和所述二级兼氧池(21)的池壁上均设置有复合耐盐菌种营养液投加管线(6);优选地,所述一段生化兼氧反应池(17)的池壁上还设置有污泥回流管(2)和/或硝化液回流管线(3);优选地,所述一段生化兼氧反应池(17)包括回流渠(4),所述回流渠(4)位于所述一段生化兼氧反应池(17)的内部的所述污泥回流管(2)出口和所述硝化液回流管线(3)出口的下方且靠近池顶的位置,所述污泥回流管(2)和所述硝化液回流管线(3)回流的物料经所述回流渠(4)回流至所述一段生化兼氧反应池(17)内。
11.根据权利要求1至9中任一项所述的装置,其特征在于,所述一段生化兼氧反应池(17)与所述一级好氧反应池(18)之间、所述一级好氧反应池(18)与所述硝化池(19)之间、所述硝化池(19)与所述脱气池(20)之间、所述脱气池(20)与所述二级兼氧池(21)之间及所述二级兼氧池(21)与所述二级好氧反应池(14)之间均设置有溢流堰,并通过所述溢流堰连通;优选地,所述溢流堰内设置有滤网。
12.根据权利要求1至9中任一项所述的装置,其特征在于,所述一段生化兼氧反应池(17)、所述一级好氧反应池(18)、所述脱气池(20)、所述二级兼氧池(21)及所述二级好氧反应池(14)底部均设置有排空管(9)。
13.根据权利要求2所述的装置,其特征在于,所述生物着床填料(5)上附着有复合耐盐菌种,优选地,所述复合耐盐菌种包括硝化菌、反硝化菌及嗜盐菌。
14.根据权利要求1所述的装置,其特征在于,所述一段生化兼氧反应池(17)、所述一级好氧反应池(18)、所述硝化池(19)、所述脱气池(20)、所述二级兼氧池(21)及所述二级好氧反应池(14)的建筑材料为混凝土,且池内材料均为耐腐蚀材料,优选地,所述耐腐蚀材料包括玻璃钢。
15.一种利用权利要求1至14中任一项所述的处理高盐废水的装置进行高盐废水处理的方法,其特征在于,所述方法包括:所述高盐废水依次进入所述一段生化兼氧反应池(17)、所述一级好氧反应池(18)与所述硝化池(19),得到硝化液;利用所述硝化液回流泵(15)将部分所述硝化液回流至所述一段生化兼氧反应池(17),进行循环;剩余部分所述硝化液依次进入所述脱气池(20)、所述二级兼氧池(21)与所述二级好氧反应池(14),完成所述高盐废水的处理。
16.根据权利要求15所述的方法,其特征在于,所述高盐废水TDS含盐量为1%-2%,COD浓度为100-800mg/L,含氨氮量为30-150mg/L。
17.根据权利要求15所述的方法,其特征在于,所述一段生化兼氧反应池(17)中的填料体积比为40-45%;优选地,所述一级好氧反应池(18)中的填料体积比为45-50%;优选地,所述二级兼氧池(21)中的填料体积比为40-45%;优选地,所述二级好氧反应池(14)中的填料体积比为45-50%。
18.根据权利要求15所述的方法,其特征在于,所述硝化液回流体积比为200-400%。
19.根据权利要求15所述的方法,其特征在于,所述循环的流量为进水流量的5-6倍。
发明内容
本发明的主要目的在于提供一种处理高盐废水的装置及方法,以解决现有技术无法对高盐废水中的高氨氮和低COD进行生化处理的问题。
为了实现上述目的,根据本发明的第一个方面,提供了一种处理高盐废水的装置,装置包括依次连通的:一段生化兼氧反应池17、一级好氧反应池18、可选的硝化池19、可选的脱气池20、二级兼氧池21及二级好氧反应池14。
进一步地,一段生化兼氧反应池17、一级好氧反应池18、二级兼氧池21及二级好氧反应池14内均设置有生物着床填料5,生物着床填料5由1个位于中心,6个包围在四周的附着床组成;且生物着床填料5悬浮于水中;优选地,生物着床填料5中的填料为生物膜污泥。优选地,生物着床填料5密度为0.94-0.99g/cm3;优选地,一段生化兼氧反应池17和一级好氧反应池18中的生物着床填料5的数量为1-2个;优选地,二级兼氧池21和二级好氧反应池14中的生物着床填料5的数量为1-2个。
进一步地,一段生化兼氧反应池17包括推流搅拌风机8,推流搅拌风机8设置在一段生化兼氧反应池17的底部;优选地,推流搅拌风机8数量为1-2个。
进一步地,一段生化兼氧反应池17内设有环形沟,环形沟内设有循环潜水搅拌系统。
进一步地,一级好氧反应池18、硝化池19及二级好氧反应池14均包括小孔曝气系统7,小孔曝气系统7包括曝气主管以及与曝气主管连通的多个曝气支管,多个曝气支管分别从一级好氧反应池18、硝化池19及二级好氧反应池14的顶部延伸至一级好氧反应池18、硝化池19及二级好氧反应池14的底部,且在每个曝气支管的末端连接有曝气孔板,曝气孔板上设置有多个曝气孔;优选地,多个曝气孔在曝气孔板上以阵列方式排布;优选地,小孔曝气系统7所用材料为HDPE;优选地,曝气孔的直径为1-3mm;优选地,曝气孔在曝气孔板上的分布密度为1600个/m2;优选地,曝气支管的数量,一级好氧反应池18中有2-4个、硝化池19中有1-2个;二级好氧反应池14中有1-2个。
进一步地,硝化池19包括硝化液回流泵15,硝化液回流泵15设置在硝化池19的底部;硝化池19与一段生化兼氧反应池17之间通过与硝化液回流泵15连通的硝化液回流管线3所连通。
进一步地,脱气池20包括中间脱气搅拌机16,中间脱气搅拌机16包括搅拌棒以及位于搅拌棒末端的浆叶,搅拌棒穿过脱气池20的顶部并延伸至脱气池20的底部;优选地,中间脱气搅拌机16数量为1-2个。
进一步地,二级兼氧池21包括厌氧搅拌器22,厌氧搅拌器22包括搅拌棒以及位于搅拌棒末端的浆叶,搅拌棒穿过二级兼氧池21的顶部并延伸至二级兼氧池21的底部;优选地,厌氧搅拌器22数量为1-2个。
进一步地,二级好氧反应池14包括出水滤网11、产水溢流堰12及产水管线13,水滤网11、产水溢流堰12及产水管线13按照水流出方向依次设置于二级好氧反应14顶部右侧。
进一步地,一段生化兼氧反应池17和二级兼氧池21的池壁上均设置有复合耐盐菌种营养液投加管线6;优选地,一段生化兼氧反应池17的池壁上还设置有污泥回流管2和/或硝化液回流管线3;优选地,一段生化兼氧反应池17包括回流渠4,回流渠4位于一段生化兼氧反应池17的内部的污泥回流管2出口和硝化液回流管线3出口的下方且靠近池顶的位置,污泥回流管2和硝化液回流管线3回流的物料经回流渠4回流至一段生化兼氧反应池17内。
进一步地,一段生化兼氧反应池17与一级好氧反应池18之间、一级好氧反应池18与硝化池19之间、硝化池19与脱气池20之间、脱气池20与二级兼氧池21之间及二级兼氧池21与二级好氧反应池14之间均设置有溢流堰,并通过溢流堰连通;优选地,溢流堰内设置有滤网。
进一步地,一段生化兼氧反应池17、一级好氧反应池18、脱气池20、二级兼氧池21及二级好氧反应池14底部均设置有排空管9。
进一步地,生物着床填料5上附着有复合耐盐菌种,优选地,复合耐盐菌种包括硝化菌、反硝化菌及嗜盐菌。
进一步地,一段生化兼氧反应池17、一级好氧反应池18、硝化池19、脱气池20、二级兼氧池21及二级好氧反应池14的建筑材料为混凝土,且池内材料均为耐腐蚀材料,优选地,耐腐蚀材料包括玻璃钢。
为了实现上述目的,根据本发明的第二个方面,提供了一种上述的处理高盐废水的装置进行高盐废水处理的方法,其特征在于,方法包括:高盐废水依次进入一段生化兼氧反应池17、一级好氧反应池18与硝化池19,得到硝化液;利用硝化液回流泵15将部分硝化液回流至一段生化兼氧反应池17,进行循环;剩余部分硝化液依次进入脱气池20、二级兼氧池21与二级好氧反应池14,完成高盐废水的处理。
进一步地,高盐废水TDS含盐量为1-2%,COD浓度为100-800mg/L,含氨氮量为30-150mg/L。
进一步地,一段生化兼氧反应池17中的填料体积比为40-45%;优选地,一级好氧反应池18中的填料体积比为45-50%;优选地,二级兼氧池21中的填料体积比为40-45%;优选地,二级好氧反应池14中的填料体积比为45-50%。
进一步地,硝化液回流体积比为200-400%。
进一步地,循环的流量为进水流量的5-6倍。
应用本发明的技术方案,本申请处理高盐废水的装置采用了两级兼氧+好氧处理的结构,令低COD、高氨氮的高盐废水经过两次AO处理后,大大降低废水中的COD与氨氮含量,对高盐废水进行较为高效地处理,同时减少臭氧污染。
(发明人:陈志斌;陈嵩;刘旭军;邱占和;周鑫;杨丽坤;席翔;任淑荣;赵辉;何艳;吴蒙;郑雨;闫军;温双强;杨春;王云博;马洪雪;韩亮)






