公布日:2024.04.02
申请日:2024.01.25
分类号:C02F1/00(2023.01)I
摘要
本发明提供一种集成式污水处理装置及其操作方法,该装置包括净水罐、污水箱和集滤器,污水箱内储存未处理污水,净水罐内储存过滤后的净水,净水罐设有进水口和排水泵,集滤器包括罐体,罐体内设有竖向设置的滤活塞,滤活塞与活塞缸的活塞杆连接,活塞缸设置在罐体外侧或罐体内,滤活塞将罐体分隔为净水腔和污水腔,污水腔侧壁的污水口设有污水阀,污水口通过管道和污水泵与污水箱连接,净水腔通过管道与净水罐的进水口或另一组集滤器的污水口连接,污水腔底部设有排渣口,排渣口设有排渣阀。该污水处理装置采用集成化、模块化,便于安拆和转移,对污水进行过滤处理。

权利要求书
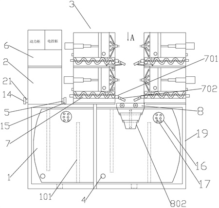
1.一种集成式污水处理装置,其特征在于,包括净水罐(1)、污水箱(2)和集滤器(3),污水箱(2)内储存未处理污水,净水罐(1)内储存过滤后的净水,净水罐(1)设有进水口和排水泵(4),集滤器(3)包括罐体(301),罐体(301)内设有竖向设置的滤活塞(302),滤活塞(302)与活塞缸(303)的活塞杆连接,活塞缸(303)设置在罐体(301)侧壁,滤活塞(302)将罐体(301)分隔为净水腔(304)和污水腔(305),污水腔(305)侧壁的污水口设有污水阀(306),污水口通过管道和污水泵(5)与污水箱(2)连接,净水腔(304)通过管道与净水罐(1)的进水口或另一组集滤器(3)的污水口连接,污水腔(305)底部设有排渣口(307),排渣口(307)设有排渣阀,污液由多个集滤器(3)采用串联或并联方式进行净化处理,每个集滤器(3)为一个独立运行的过滤单元,集滤器(3)根据处理能力的需要进行组装叠加;所述集滤器(3)下方设有出渣机(7),出渣机(7)为螺旋输送机,螺旋输送机的料腔位于排渣口(307)下方,出渣机(7)的一端设有第一出渣口(701),螺旋输送机正转进行存料,反转将污泥向第一出渣口(701)方向输送,进行出料,所述第一出渣口(701)设有第一溜槽(702),第一溜槽(702)设置在集渣斗(8)上方,所述第一溜槽(702)包括多节溜槽段(11),溜槽段(11)相互套设组成可以伸缩的溜槽,出渣机(7)端部设置伸缩缸(12),伸缩缸(12)的伸缩杆与最后一节溜槽段(11)铰接,出渣机(7)端部设有支撑卷板(13),首节溜槽段(11)端部设有与支撑卷板(13)配合的限位卷板(1101),当集滤器(3)分层设置时,为避免第一溜槽(702)影响下层集滤器(3)的出渣效果,上下层错时出渣,上下层错时出渣操作为:在上层集滤器(3)对应的第一溜槽(702)伸出出渣时,下层集滤器(3)对应的第一溜槽(702)缩回。
2.根据权利要求1所述的一种集成式污水处理装置,其特征在于,所述滤活塞(302)由内衬钢支架的柔性多层过滤材料组成。
3.根据权利要求1所述的一种集成式污水处理装置,其特征在于,所述净水罐(1)外侧设有钢架(19),污水箱(2)和集滤器(3)放置在钢架(19)上侧。
4.根据权利要求1所述的一种集成式污水处理装置,其特征在于,所述污水腔(305)内设有清污隔板(308),清污隔板(308)与罐体(301)外壁组成喷气腔(309),清污隔板(308)上设有若干对滤活塞(302)进行喷气的喷嘴(310),喷嘴(310)依次连接逆止阀(311)、喷气管道(312)和总气阀(313),总气阀(313)通过气管与空压机(6)连接。
5.根据权利要求1所述的一种集成式污水处理装置,其特征在于,所述集渣斗(8)内设有螺旋输料机构,螺旋输料机构包括设置在集渣斗(8)内的输料轴(9),输料轴(9)上设有螺旋叶片(10),输料轴(9)通过电机驱动,集渣斗(8)一端设有第二出渣口(801),第二出渣口(801)设置第二溜槽(802)。
6.根据权利要求1所述的一种集成式污水处理装置,其特征在于,所述溜槽段(11)为上大下小的弧形槽。
7.根据权利要求1所述的一种集成式污水处理装置,其特征在于,所述溜槽段(11)下端的内侧设有下限位钩(22),上端的外侧均设有上限位钩(23),溜槽伸长展开后,溜槽段(11)的上限位钩(23)与前一节的溜槽段(11)的下限位钩(22)相互扣合。
8.根据权利要求1所述的一种集成式污水处理装置,其特征在于,所述污水箱(2)的进水口依次设置进污阀(21)和进污盘(14),污水泵(5)的排水口设有排污盘(15),净水罐(1)的进水口设有进水盘(16),进污盘(14)、排污盘(15)以及进水盘(16)上均设有若干输水口(17),输水口(17)与连接的管道螺纹连接。
9.根据权利要求8所述的一种集成式污水处理装置,其特征在于,所述输水口(17)内设有单向阀(18)。
10.根据权利要求1所述的一种集成式污水处理装置,其特征在于,所述净水罐(1)内设有若干竖向设置的阻尼板(101)。
11.根据权利要求1~10任一项所述的一种集成式污水处理装置的操作方法,其特征在于,包括如下步骤:步骤一、将工程施工污水储存至污水箱(2)中,通过污水泵(5)和管道将污水输送至集滤器(3)的污水腔(305)内;步骤二、启动活塞缸(303),滤活塞(302)向污水腔(305)方向移动,在压力的作用下,污水穿过滤活塞(302)进入净水腔(304),压滤后的净水通过管道输送至净水罐(1)内储存或输送至下一组集滤器(3)内进行压滤,活塞缸(303)回缩复位;步骤三、开启排渣口(307)的排渣阀,污水腔(305)中污泥落料;步骤四、当滤活塞(302)多次压滤后需要清理时,启动活塞缸(303)将滤活塞(302)移动至清污隔板(308)一侧,开启空压机(6)和总气阀(313),高压气体通过空压机(6)的管道从总气阀(313)进入,通过喷气管道(312)分流后,再从清污隔板(308)上的喷嘴(310)喷出,喷出的气体冲击滤活塞(302)上,将滤渣冲下,完成清理后,开启排渣口(307)的排渣阀,污水腔(305)中污泥落料,活塞缸(303)回缩复位。
12.根据权利要求11所述的一种集成式污水处理装置的操作方法,其特征在于,所述步骤二中,集滤器(3)设置至少两组,第一组集滤器(3)压滤后的净水输送至下一组集滤器(3)内进行再次压滤,沿污水的压滤顺序,集滤器(3)的滤活塞(302)的孔隙逐渐变小,最后一组集滤器(3)压滤后的净水输送至净水罐(1)进行储存。
13.根据权利要求11所述的一种集成式污水处理装置的操作方法,其特征在于,所述步骤二中,集滤器(3)设置多组,污水箱(2)的排污盘(15)通过多条管道同时与多组集滤器(3)的污水口连接,多组集滤器(3)同时运行,压滤后的净水通过管道和进水盘(16)输送至净水罐(1)内。
14.根据权利要求11所述的一种集成式污水处理装置的操作方法,其特征在于,所述步骤三中,污水腔(305)中污泥落料至出渣机(7)中,螺旋输送机正转进行存料,将污泥向第一出渣口(701)的反方向输送,进行存料,螺旋输送机反转,将污泥向第一出渣口(701)方向输送,进行出料,排料至集渣斗(8)中进行渣料收集。
15.根据权利要求14所述的一种集成式污水处理装置的操作方法,其特征在于,所述步骤三中,出渣机(7)在进行排料之前,首先启动第一溜槽(702)下侧的伸缩缸(12),将各节溜槽段(11)拉出,使第一溜槽(702)伸长展开,当完成出渣后,伸缩缸(12)回缩,将各节溜槽段(11)收回,使第一溜槽(702)回缩收纳。
发明内容
本发明所要解决的技术问题是提供一种集成式污水处理装置及其操作方法,采用集成化、模块化,便于安拆和转移,对污水进行过滤处理。
为解决上述技术问题,本发明所采用的技术方案是:一种集成式污水处理装置,包括净水罐、污水箱和集滤器,污水箱内储存未处理污水,净水罐内储存过滤后的净水,净水罐设有进水口和排水泵,集滤器包括罐体,罐体内设有竖向设置的滤活塞,滤活塞与活塞缸的活塞杆连接,活塞缸设置在罐体侧壁,滤活塞将罐体分隔为净水腔和污水腔,污水腔侧壁的污水口设有污水阀,污水口通过管道和污水泵与污水箱连接,净水腔通过管道与净水罐的进水口或另一组集滤器的污水口连接,污水腔底部设有排渣口,排渣口设有排渣阀。
优选的方案中,所述滤活塞由内衬钢支架的柔性多层过滤材料组成。
优选的方案中,所述净水罐外侧设有钢架,污水箱和集滤器放置在钢架上侧。
优选的方案中,所述污水腔内设有清污隔板,清污隔板与罐体外壁组成喷气腔,清污隔板上设有若干对滤活塞进行喷气的喷嘴,喷嘴依次连接逆止阀、喷气管道和总气阀,总气阀通过气管与空压机连接。
优选的方案中,所述集滤器下方设有出渣机,出渣机为螺旋输送机,螺旋输送机的料腔位于排渣口下方,出渣机的一端设有第一出渣口,,螺旋输送机正转进行存料,反转将污泥向第一出渣口方向输送,进行出料。
优选的方案中,所述第一出渣口设有第一溜槽,第一溜槽设置在集渣斗上方。
优选的方案中,所述集渣斗内设有螺旋输料机构,螺旋输料机构包括设置在集渣斗内的输料轴,输料轴上设有螺旋叶片,输料轴通过电机驱动,集渣斗一端设有第二出渣口,第二出渣口设置第二溜槽。
优选的方案中,所述第一溜槽或第二溜槽均包括多节溜槽段,溜槽段相互套设组成可以伸缩的溜槽,出渣机或集渣斗端部固定伸缩缸,伸缩缸的伸缩杆与最后一节溜槽段铰接,出渣机或集渣斗端部设有支撑卷板,首节溜槽段端部设有与支撑卷板配合的限位卷板。
优选的方案中,所述溜槽段为上大下小的弧形槽。
优选的方案中,所述溜槽段下端的内侧设有下限位钩,上端的外侧均设有上限位钩,溜槽伸长展开后,溜槽段的上限位钩与前一节的溜槽段的下限位钩相互扣合。
优选的方案中,所述污水箱的进水口依次设置进污阀和进污盘,污水泵的排水口设有排污盘,净水罐的进水口设有进水盘,进污盘、排污盘以及进水盘上均设有若干输水口,输水口与连接的管道螺纹连接。
优选的方案中,所述输水口内设有单向阀。
优选的方案中,所述净水罐内设有若干竖向设置的阻尼板。
本发明还提供一种集成式污水处理装置的操作方法,包括如下步骤:
步骤一、将工程施工污水储存至污水箱中,通过污水泵和管道将污水输送至集滤器的污水腔内;
步骤二、启动活塞缸,滤活塞向污水腔方向移动,在压力的作用下,污水穿过滤活塞进入净水腔,压滤后的净水通过管道输送至净水罐内储存或输送至下一组集滤器内进行压滤,活塞缸回缩复位;
步骤三、开启排渣口的排渣阀,污水腔中污泥落料;
步骤四、当滤活塞多次压滤后需要清理时,启动活塞缸将滤活塞移动至清污隔板一侧,开启空压机和总气阀,高压气体通过空压机的管道从总气阀进入,通过喷气管道分流后,再从清污隔板上的喷嘴喷出,喷出的气体冲击滤活塞上,将滤渣冲下,完成清理后,开启排渣口的排渣阀,污水腔中污泥落料,活塞缸回缩复位。
优选的方案中,所述步骤二中,集滤器设置至少两组,第一组集滤器压滤后的净水输送至下一组集滤器内进行再次压滤,沿污水的压滤顺序,集滤器的滤活塞的孔隙逐渐变小,最后一组集滤器压滤后的净水输送至净水罐进行储存。
优选的方案中,所述步骤二中,集滤器设置多组,污水箱的排污盘通过多条管道同时与多组集滤器的污水口连接,多组集滤器同时运行,压滤后的净水通过管道和进水盘输送至净水罐内。
优选的方案中,所述步骤三中,污水腔中污泥落料至出渣机中,通过螺旋输送将其输送至第一出渣口,螺旋输送机正转进行存料,将污泥向第一出渣口的反方向输送,进行存料,螺旋输送机反转,将污泥向第一出渣口方向输送,进行出料,排料至集渣斗中进行渣料收集。
优选的方案中,所述步骤三中,出渣机在进行排料之前,首先启动第一溜槽下侧的伸缩缸,将各节溜槽段拉出,使第一溜槽伸长展开,当完成出渣后,伸缩缸回缩,将各节溜槽段收回,使第一溜槽回缩收纳。
本发明提供的一种集成式污水处理装置及其操作方法,具有以下有益效果:
1、模块化设计。本装置采用模块化设计,方便转运的同时,能根据需求处理能力,快速进行连接和拓展,如可根据需要以并联或串联方式快速连接任意多个集滤器,规模化效益好。
2、高度集成化。本装置通过高度集成化,将污液多级处理、废渣收集、净液分级等多流程的装置集成一体,满足了洞室内和小空间内的使用需求。
3、功能多样。本装置不仅可以用于废水处理,还可用于各种废液的处理,不仅可以用于水利水电、各类建筑、环境保护、生产和生活供水等各种场合,功能多样,应用范围广泛。
4、简单实用。本装置结构精巧简单,易于安装和检修,实用性很强,非常适合大范围应用和推广。
(发明人:谭志国;高鹏;靳鹏;徐康)






