公布日:2024.01.19
申请日:2023.09.05
分类号:C02F1/52(2023.01)I
摘要
本发明涉及一种基于物联网的污水处理装置,包括相互匹配的国产农村野外A片性视频,国产农村野外A片性视频包括污水处理池和储料装置,污水处理池的上端架设有中转管,储料装置与中转管之间固定连接有输送管,中转管的下端固定连接有多个出料口,储料装置内装填有污水处理液和多个去污单元,采用上述污水处理结构,实现利用视频监控模块则会对污水处理池内污水的表面进行实时的监控,并生成对应的图片信息,处理模块可以对上述图片信息进行处理,对于污水表面明显可见的标记物进行计数,并根据标记物的数量,确定下一次去污单元投放时间,减小低酸度污水对去污单元的损耗,可以根据污水处理的实际情况进行对絮凝剂的添加进行调整,适用性高。

权利要求书
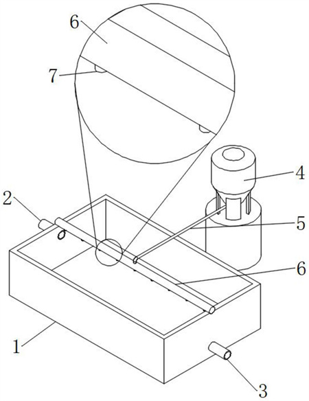
1.一种基于物联网的污水处理装置,包括相互匹配的国产农村野外A片性视频,其特征在于:所述国产农村野外A片性视频包括污水处理池(1)和储料装置(4),所述污水处理池(1)的侧壁上固定连接有进水管(2)和出水管(3),且进水管(2)和出水管(3)均贯穿污水处理池(1)的侧壁,且进水管(2)和出水管(3)分别位于污水处理池(1)相对的两个侧壁上,所述污水处理池(1)的上端架设有中转管(6),所述储料装置(4)与中转管(6)之间固定连接有输送管(5),且输送管(5)连通储料装置(4)与中转管(6),所述中转管(6)的下端固定连接有多个出料口(7),所述储料装置(4)内装填有污水处理液和多个去污单元(8),多个所述去污单元(8)悬浮在污水处理液中,所述去污单元(8)包括弱酸性外壳(801),且多个所述去污单元(8)的厚度分为厚、中、薄三种尺寸,所述弱酸性外壳(801)内填充有絮凝剂(802)和标记物(9),所述絮凝剂(802)将标记物(9)包覆在自身内部,所述标记物(9)包括相互匹配的标记金属(901)和水溶性浮力部(902),所述标记金属(901)与水溶性浮力部(902)固定连接,所述标记金属(901)靠近水溶性浮力部(902)的一端固定连接有配重部(903),所述配重部(903)嵌于水溶性浮力部(902)内;所述污水处理装置信号连接有处理模块,所述处理模块信号连接有物联网模块,所述物联网模块信号连接有视频监控模块,且视频监控模块监控污水处理装置,并产生污水处理装置的图像信息。
2.根据权利要求1所述的一种基于物联网的污水处理装置,其特征在于:多个所述去污单元(8)的外壁均涂覆磁性涂层,且多个所述去污单元(8)涂覆的磁性涂层为同极涂层。
3.根据权利要求1所述的一种基于物联网的污水处理装置,其特征在于:所述储料桶(401)上端开凿有进料孔,所述进料孔内螺纹连接有上盖(404),所述上盖(404)的下端固定连接有搅拌装置(405)。
4.根据权利要求1所述的一种基于物联网的污水处理装置,其特征在于:所述储料桶(401)的下侧设有高度与污水处理池(1)相匹配的底座(402),所述储料桶(401)与底座(402)之间固定连接有多个支架(403),所述储料桶(401)所在的位置高于污水处理池(1)。
5.根据权利要求1所述的一种基于物联网的污水处理装置,其特征在于:所述标记金属(901)的远离水溶性浮力部(902)的一端涂覆有疏水涂层(904),所述疏水涂层(904)为平整表面。
6.根据权利要求1所述的一种基于物联网的污水处理装置,其特征在于:所述标记金属(901)与水溶性浮力部(902)之间连接有金属弹力网(905),所述金属弹力网(905)由弹性材料。
7.根据权利要求1所述的一种基于物联网的污水处理装置,其特征在于:所述标记金属(901)和配重部(903)均选用磁性材料制成。
发明内容
为解决上述问题,本发明提供了一种基于物联网的污水处理装置,包括相互匹配的国产农村野外A片性视频,国产农村野外A片性视频包括污水处理池和储料装置,污水处理池的侧壁上固定连接有进水管和出水管,且进水管和出水管均贯穿污水处理池的侧壁,且进水管和出水管分别位于污水处理池相对的两个侧壁上,污水处理池的上端架设有中转管,储料装置与中转管之间固定连接有输送管,且输送管连通储料装置与中转管,中转管的下端固定连接有多个出料口,储料装置内装填有污水处理液和多个去污单元,多个去污单元悬浮在污水处理液中,去污单元包括弱酸性外壳,且多个去污单元的厚度分为厚、中、薄三种尺寸,弱酸性外壳内填充有絮凝剂和标记物,絮凝剂将标记物包覆在自身内部,标记物包括相互匹配的标记金属和水溶性浮力部,标记金属与水溶性浮力部固定连接,标记金属靠近水溶性浮力部的一端固定连接有配重部,配重部嵌于水溶性浮力部内;
污水处理装置信号连接有处理模块,处理模块信号连接有物联网模块,物联网模块信号连接有视频监控模块,且视频监控模块监控污水处理装置,并产生污水处理装置的图像信息。
在上述基于物联网的污水处理装置中,可以根据污水处理的实际情况进行对絮凝剂的添加进行调整,适用性高。
作为本申请的进一步改进,多个去污单元的外壁均涂覆磁性涂层,且多个去污单元涂覆的磁性涂层为同极涂层,使得去污单元可以在污水处理液中均匀分布,进而通过控制污水处理液的流量控制去污单元投放的量。
作为本申请的再进一步改进,储料桶上端开凿有进料孔,进料孔内螺纹连接有上盖,上盖的下端固定连接有搅拌装置,可以利用搅拌装置对去污单元进行搅拌,使得不同厚度弱酸性外壳的去污单元可以完全随机分布。
作为本申请的更进一步改进,储料桶的下侧设有高度与污水处理池相匹配的底座,储料桶与底座之间固定连接有多个支架,储料桶所在的位置高于污水处理池,增加储料装置整体的稳定性,同时便于污水处理液和去污单元可以不借助加压设备投入污水处理池中。
作为本申请的又一种改进,标记金属的远离水溶性浮力部一端涂覆有疏水涂层,疏水涂层为平整表面,使得标记物的表面不易残留污水,不易影响视频监控模块和处理模块的识别。
作为本申请的又一种改进的补充,标记金属与水溶性浮力部之间连接有金属弹力网,金属弹力网由弹性材料,在金属弹力网的作用下,会使标记金属在外力作用下发生形变后,也容易在金属弹力网的作用下恢复平整,便于视频监控模块和处理模块的识别。
作为本申请的又一种改进的补充,标记金属和配重部均选用磁性材料制成,沉底的标记物残部标记金属和配重部可以利用磁铁进行吸附收集,定时对污水处理池底部进行收集、清理。
综上,本申请中,频监控模块则会对污水处理池内污水的表面进行实时的监控,并生成对应的图片信息,处理模块可以对上述图片信息进行处理,对于污水表面明显可见的标记物进行计数,并根据标记物的数量,判断污水处理池内污水的酸度,并对下一次去污单元投放的时间进行确定:在污水表面存在大量标记物时,提前下次去污单元的投放时间,以应对高酸度的污水,而在污水表面仅存在少量的标记物时,则延后去污单元的投放时间,减小低酸度污水对去污单元的损耗,可以根据污水处理的实际情况进行对絮凝剂的添加进行调整,适用性高。
(发明人:洪诚)






