公布日:2024.01.19
申请日:2023.11.29
分类号:C02F3/30(2023.01)I;C02F3/00(2023.01)I
摘要
本发明公开一种MBBR污水处理防堵塞装置,包括MBBR膜池和中间水池,MBBR膜池和中间水池之间连接过水管和反冲洗装置,过水管上设置第一阀门,过水管端部设置旋转防堵机构,所述反冲洗装置包括反冲水管和反冲水泵,反冲水管上设置第二阀门。本发明通过设置反冲洗装置和旋转防堵机构,不定时或间歇式开启反冲水装置,将过水口处的MBBR填料吹散,避免过水口堵塞。如过水口已经发生堵塞,MBBR膜池内水位上涨超限时,控制器自动控制第一阀门关闭,反冲水泵和第二阀门开启,用反冲水将过水孔堵塞的MBBR填料冲开,疏导过水孔。过水支管绕旋转接头旋转,实现将汇聚在过水支管附近的填料物理搅拌分散,使填料在MBBR池内均匀分散,从而避免更严重的问题发生。

权利要求书
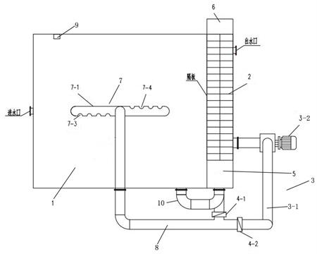
1.一种MBBR污水处理防堵塞装置,其特征在于:包括MBBR膜池(1)和中间水池(5),MBBR膜池(1)和中间水池(5)之间连接过水管(8)和反冲洗装置(3),过水管(8)上设置第一阀门(4-1),过水管(8)端部设置旋转防堵机构(7),所述反冲洗装置(3)包括反冲水管(3-1)和反冲水泵(3-2),反冲水管(3-1)上设置第二阀门(4-2)。
2.根据权利要求1所述一种MBBR污水处理防堵塞装置,其特征在于:所述旋转防堵机构包括旋转接头(7-2)和过水支管(7-1),过水支管(7-1)通过旋转接头(7-2)与过水管(8)连接,过水支管(7-1)一侧均匀设置第一过水孔(7-3),另一侧均匀设置第二过水孔(7-4),第一过水孔(7-3)与第二过水孔(7-4)反向设置,且第一过水孔(7-3)与第二过水孔(7-4)的孔径小于MBBR填料粒径尺寸。
3.根据权利要求1所述一种MBBR污水处理防堵塞装置,其特征在于:中间水池(5)上设置自动格栅(2)。
4.根据权利要求3所述一种MBBR污水处理防堵塞装置,其特征在于:自动格栅(2)的出口设置收集称重装置(6)。
5.根据权利要求1所述一种MBBR污水处理防堵塞装置,其特征在于:MBBR膜池(1)和中间水池(5)之间还设置溢流管(10)。
6.根据权利要求1所述一种MBBR污水处理防堵塞装置,其特征在于:MBBR膜池内设置液位计(9),液位计(9)通过控制器与反冲水泵(3-2)联锁。
发明内容
针对现有技术中存在的上述问题,本发明公开一种MBBR污水处理防堵塞装置。
本发明的目的是以下述方式实现的:一种MBBR污水处理防堵塞装置,包括MBBR膜池和中间水池,MBBR膜池和中间水池之间连接过水管和反冲洗装置,过水管上设置第一阀门,过水管端部设置旋转防堵机构,所述反冲洗装置包括反冲水管和反冲水泵,反冲水管上设置第二阀门。
所述旋转防堵机构包括旋转接头和过水支管,过水支管通过旋转接头与过水管连接,过水支管一侧均匀设置第一过水孔,另一侧均匀设置第二过水孔,第一过水孔与第二过水孔反向设置,且第一过水孔与第二过水孔的孔径小于MBBR填料粒径尺寸。
中间水池上设置自动格栅。
自动格栅的出口设置收集称重装置。
MBBR膜池和中间水池之间还设置溢流管。
MBBR膜池内设置液位计,液位计通过控制器与反冲水泵联锁。
相对于现有技术,本发明通过设置反冲洗装置和旋转防堵机构,不定时或间歇式开启反冲水装置,将过水口处的MBBR填料吹散,避免过水口堵塞。如果过水口已经发生堵塞,则MBBR膜池内水位上涨,液位计测得的液位值超过上限时,控制器自动控制第一阀门关闭,反冲水泵和第二阀门开启,用反冲水将过水孔堵塞的MBBR填料冲开,疏导过水孔。同时,反冲洗水形成的冲击力使得过水支管绕旋转接头旋转,实现将汇聚在过水支管附近的MBBR填料物理搅拌分散,使MBBR填料在MBBR池内均匀分散,从而避免MBBR膜池内水位持续上涨、溢出至MBBR膜池外污染、MBBR随水溢出流失等更严重的问题发生。
(发明人:王向阳;徐俊召;岳会芳;王腾飞)






