公布日:2024.01.19
申请日:2023.11.01
分类号:C02F1/00(2023.01)I;B01D29/03(2006.01)I;B01D29/60(2006.01)I;B01D29/66(2006.01)I;E03B3/02(2006.01)I;E03F1/00(2006.01)I;E03F3/02(2006.01)I
摘要
本申请涉及一种低碳污水厂水利控制分流装置,涉及水利工程的技术领域,包括池体、进水管、排污管和排水管,池体上设置有去杂机构,去杂机构包括:去杂框,设置池体上;进液管,进液管设置在池体上且设置有进液腔和出液腔;过滤网,设置在进液管上且用于对进入出液腔内水进行过滤;多个拨片,设置在转动杆上;切割刀片,设置在转动杆上且用于对杂质进行切碎。本申请通过水带动切割刀片转动对通过出液腔内杂质进行切割,然后切割后的杂质掉落到去杂框中进行收集,以此来实现对水中的杂质进行过滤,减少了水中的杂质数量,降低了杂质对进入排污管和排水管内的概率,因此提高了对雨水和污水的处理效果,同时也实现了低碳环保的效果。

权利要求书
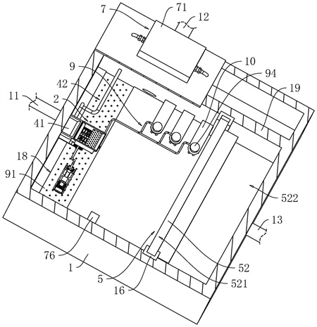
1.一种低碳污水厂水利控制分流装置,包括池体(1)、设置在池体(1)上且用于输送水的进水管(11)、设置在池体(1)上且与污水厂连通的排污管(12)和与市政水管网连通的排水管(13),其特征在于:所述池体(1)上设置有用于去除水中杂质的去杂机构(2),所述去杂机构(2)包括:去杂框(21),所述去杂框(21)设置在池体(1)上且开设有多个供水通过的去杂孔;进液管(22),所述进液管(22)设置在池体(1)上且设置有将进液管(22)分隔成进液腔(221)和出液腔(222)的分隔板(27),所述进水管(11)内水流至进液腔(221)和出液腔(222)内,所述进液腔(221)内水流至去杂框(21)中而出液腔(222)中水流至池体(1)中,所述分隔板(27)上转动设置有两端分别位于进液腔(221)和出液腔(222)内的转动杆(28);过滤网(23),所述过滤网(23)设置在进液管(22)上且用于对进入出液腔(222)内水进行过滤;多个拨片(24),多个所述拨片(24)设置在转动杆(28)上且位于出液腔(222)内,进入所述出液腔(222)内水推动多个拨片(24)转动;切割刀片(25),所述切割刀片(25)设置在转动杆(28)上且位于进液腔(221)内并用于对杂质进行切碎。
2.根据权利要求1所述的一种低碳污水厂水利控制分流装置,其特征在于:所述出液腔(222)上设置有导向组件(3),所述导向组件(3)包括:导向板(31),所述导向板(31)设置在出液腔(222)内且位于拨片(24)上方并用于将水导向到转动杆(28)同一侧;弧形导板(32),所述弧形导板(32)设置在出液腔(222)上且位于转动杆(28)下方,所述弧形导板(32)最低处开设有供水通过的通水孔(34),相邻两个所述拨片(24)与弧形导板(32)配合形成相互独立的进水空间(33)。
3.根据权利要求1所述的一种低碳污水厂水利控制分流装置,其特征在于:所述池体(1)内侧壁上且位于进水管(11)管口下方设置有接收罩(41),所述接收罩(41)设置有与排污管(12)连通的接收管(42),所述接收罩(41)位于进水管(11)管口和去杂机构(2)之间;当旱季时,所述进水管(11)内污水流入接收罩(41)内,而当雨季时,所述进水管(11)内雨水和污水混合后冲力增大使得水流至去杂机构(2)进行去杂。
4.根据权利要求1所述的一种低碳污水厂水利控制分流装置,其特征在于:所述池体(1)上设置有控制水的控制机构(5),所述控制机构(5)包括:控制管(51),所述控制管(51)设置在池体(1)上且与排污管(12)连通;闸门(52),所述闸门(52)滑移设置在池体(1)上且顶端和池体(1)内顶壁之间形成有溢流空间(521),所述溢流空间(521)位于控制管(51)上方且与排水管(13)连通;控制组件(6),所述控制组件(6)设置在控制管(51)上且用于调节控制管(51)内水通过的空间大小;驱动组件(53),所述驱动组件(53)设置在池体(1)上且用于驱动闸门(52)移动。
5.根据权利要求4所述的一种低碳污水厂水利控制分流装置,其特征在于:所述控制组件(6)包括:两个环形软管(61),两个所述环形软管(61)设置在控制管(51)内侧壁上且由软质材料制成并和控制管(51)内侧壁上配合形成环形的控制腔(64),两个所述环形软管(61)配合形成供水通过的流动空间(65);进入管(62)和输出管(63),所述进入管(62)和输出管(63)设置在控制管(51)上且与控制腔(64)连通,所述池体(1)上设置有与进入管(62)和输出管(63)连通且用于控制介质输入或输出控制腔(64)的输入机构(7)。
6.根据权利要求5所述的一种低碳污水厂水利控制分流装置,其特征在于:所述输入机构(7)包括:存储箱(71),所述存储箱(71)设置有池体(1)上;移动活塞(72),所述移动活塞(72)滑移设置在存储箱(71)内且和存储箱(71)内侧壁配合形成供气体存储的存放空间;电推杆(73),所述电推杆(73)设置在存储箱(71)上且与移动活塞(72)连接;送出管(74)和回收管(75),所述送出管(74)和回收管(75)设置在存储箱(71)上且与存放空间连通并分别与进入管(62)和输出管(63)连通,所述输出管(63)上设置有仅能供气体通过送出管(74)移至进入管(62)内的输送单向阀(77),而所述输出管(63)上设置有仅能供气体通过回收管(75)进入存放空间的回收单向阀(78);水位检测仪(76),所述水位检测仪(76)设置在池体(1)内且用于检测池体(1)内的水位高低并与电推杆(73)电连接。
7.根据权利要求5所述的一种低碳污水厂水利控制分流装置,其特征在于:两个所述环形软管(61)背离控制腔(64)一侧的侧壁上分别设置有环形的凸棱(66)和与凸棱(66)卡接配合的卡槽(67),所述凸棱(66)和卡槽(67)均间隔设置有多个。
8.根据权利要求4所述的一种低碳污水厂水利控制分流装置,其特征在于:所述闸门(52)和池体(1)配合形成有与排水管(13)连通的排水空间(522),所述闸门(52)上设置有防回流组件(8),所述防回流组件(8)包括:阻挡板(81),所述阻挡板(81)滑移设置在闸门(52)靠近排水空间(522)一侧的侧壁上且用于挡住溢流空间(521);气囊(82),所述气囊(82)设置在阻挡板(81)上且悬浮在位于排水空间(522)内的水面上。
9.根据权利要求1所述的一种低碳污水厂水利控制分流装置,其特征在于:所述池体(1)内底壁上开设有容纳槽(18),所述池体(1)上设置有清理机构(9),所述清理机构(9)包括:过滤板(91),所述过滤板(91)设置在容纳槽(18)内;排污泵(92),所述排污泵(92)设置在过滤板(91)上表面上且设置有伸至去杂框(21)上方的出污管(921);清理泵(93),所述清理泵(93)设置在容纳槽(18)内且位于过滤板(91)下方;清理管(94),所述清理管(94)设置在池体(1)上且与清理泵(93)连通;封堵环(95),所述封堵环(95)转动设置在清理管(94)上且用于封堵清理管(94)管口;清理板(96),所述清理板(96)设置在封堵环(95)上且开设有多个与清理管(94)内连通的转动槽(99),所述清理管(94)内水喷射到转动槽(99)上用于带动清理板(96)转动并用于对池体(1)进行清理。
10.根据权利要求1所述的一种低碳污水厂水利控制分流装置,其特征在于:所述过滤网(23)呈倾斜状态且用于将杂质导向到进液腔(221)内,所述池体(1)上设置支撑架(14),所述去杂框(21)卡接安装在支撑架(14)上。
发明内容
为了提高对雨水和污水的处理效果,本申请提供了一种低碳污水厂水利控制分流装置。
本申请提供的一种低碳污水厂水利控制分流装置,采用如下的技术方案:一种低碳污水厂水利控制分流装置,包括池体、设置在池体上且用于输送水的进水管、设置在池体上且与污水厂连通的排污管和与市政水管网连通的排水管,所述池体上设置有用于去除水中杂质的去杂机构,所述去杂机构包括:去杂框,所述去杂框设置池体上且开设有多个供水通过的去杂孔;进液管,所述进液管设置在池体上且设置有将进液管分隔成进液腔和出液腔的分隔板,所述进水管内水流至进液腔和出液腔内,所述进液腔内水流至去杂框中而出液腔中水流至池体中,所述分隔板上转动设置有两端分别位于进液腔和出液腔内的转动杆;过滤网,所述过滤网设置在进液管上且用于对进入出液腔内水进行过滤;多个拨片,多个所述拨片设置在转动杆上且位于出液腔内,进入所述出液腔内水推动多个拨片转动;切割刀片,所述切割刀片设置在转动杆上且位于进液腔内并用于对杂质进行切碎。
通过采用上述技术方案,进水管内水和杂质进入进液腔和出液腔内,进入出液腔内水和杂质通过过滤网进行过滤,杂质停留在过滤网,而水继续下移冲击拨片转动,拨片转动带动转动杆和切割刀片转动,而进入进液腔内的水和杂质通过切割刀片,切割刀片对杂质进行切割,然后切割后的杂质掉落到去杂框中进行收集,而水通过去杂框后移至池体内,以此来实现对水中的杂质进行过滤,减少了水中的杂质数量,降低了杂质对进入排污管和排水管内的概率,因此提高了对雨水和污水的处理效果。
而且切割刀片切割杂质,从而提高了去杂框对杂质的收集效果,同时对进入出液腔内的水进行过滤,然后过滤后水冲击拨片转动,从而降低杂质堵塞出液腔内的概率,因此提高了水对拨片的推动效果,提高了对杂质的切割效果,而且通过拨片的水直接流入池体内,因此降低了水流入去杂框而降低去杂框收集效果的概率,以此来进一步提高了对水中杂质的去除效果,因此进一步提高了对雨水和污水的处理效果。
同时通过水冲击力对杂质进行破碎去除,无需使用额外的动力机构,而且由于与水接触也增大了设置动力机构的难度,因此本申请节省了能源,以此来实现污水厂运行低碳环保的要求,同时也提高了设置去杂机构时的便利性。
可选的,所述出液腔上设置有导向组件,所述导向组件包括:导向板,所述导向板设置在出液腔上且位于拨片上方并用于将水导向到转动杆同一侧;弧形导板,所述弧形导板设置在出液腔上且位于转动杆下方,所述弧形导板最低处开设有供水通过的通水孔,相邻两个所述拨片与弧形导板配合形成相互独立的进水空间。
通过采用上述技术方案,导向板将水导向到位于转动杆同一侧,因此水流动面积从大变小,从而加快了水的流速,而且也提高了水的冲击力,然后水进入进水空间推动拨片转动,从而降低了水不与拨片接触而降低对拨片推动力的概率,最后水通过通水孔输出,以此来提高了水对拨片的推动效果,从而提高了对杂质的切割效果,因此提高了对雨水和污水的处理效果。
可选的,所述池体内侧壁上且位于进水管管口下方设置有接收罩,所述接收罩设置有与排污管连通的接收管,所述接收罩位于进水管管口和去杂机构之间;当旱季时,所述进水管内污水流入接收罩内,而当雨季时,所述进水管内雨水和污水混合后冲力增大使得水流至去杂机构进行去杂。
通过采用上述技术方案,污水中含有杂质较少,一般都含有较多油脂等黏性物质,这种污水无需进入去杂机构进行除杂,而且此类污水进入去杂机构还会黏附在去杂机构内而降低去杂机构的去杂效率和效果,因此旱季时,进水管内都是污水且水量较少,因此进水管内污水流至与池体接触处时,污水会随着池体的侧壁向下流动到接收罩内,然后污水通过接收管和排污管排放到污水厂进行处理,从而降低了污水排入去杂机构内而降低去杂效率的概率;同时也降低了污水流入池体内而停留在池体内而不被处理的概率,因此进一步提高了对雨水和污水的处理效果。
而当雨季时,雨水和污水混合后水量大增,因此雨水和污水移出进水管时会因为水冲击力变大而向前移动,使得雨水和污水移至去杂机构进行去杂,而且此时污水被雨水稀释而使得油脂等黏性物质含量降低,从而也降低了污水使得去杂效率降低的概率,因此进一步提高了对水中杂质的去除效果,提高了对雨水和污水的处理效果。
可选的,所述池体上设置有控制水的控制机构,所述控制机构包括:控制管,所述控制管设置在池体上且与排污管连通;闸门,所述闸门滑移设置在池体上且顶端和池体内顶壁之间形成有溢流空间,所述溢流空间位于控制管上方且与排水管连通;控制组件,所述控制组件设置在控制管上且用于调节控制管内水通过的空间大小;驱动组件,所述驱动组件设置在池体上且用于驱动闸门移动。
通过采用上述技术方案,旱季时,污水流至池体内,然后池体内的污水通过控制管和排污管进入污水厂进行处理;而雨季时,初期含有大量杂质的雨水和污水通过去杂机构去杂后,雨水和污水继续通过控制管和排污管进入污水厂进行处理,雨水增多而在池体内汇集,使得水位移至控制管上方,控制组件控制控制管内大小控制进入污水厂内水量的大小,水中杂质和部分污质在池体内形成沉淀,沉淀后的水通过溢流空间溢流到排水管内,最后水通过排水管排放到市政水管网,而且驱动组件启动控制闸门的位置,从而能进一步提高了对污水和雨水的排放效果,因此提高了对雨水和污水的处理效果。
可选的,所述控制组件包括:两个环形软管,两个所述环形软管设置在控制管内侧壁上且由软质材料制成并和控制管内侧壁上配合形成环形的控制腔,两个所述环形软管配合形成供水通过的流动空间;进入管和输出管,所述进入管和输出管设置在控制管上且与控制腔连通,所述池体上设置有与进入管和输出管连通且用于控制介质输入或输出控制腔的输入机构。
通过采用上述技术方案,输入机构控制介质通过进入管进入控制腔内,介质推动环形软管膨胀,从而缩小流动空间大小;输入机构控制控制腔内介质输出和水的压力同时作用下使得环形软管收缩,从而增大流动空间的大小,以此来调节流动空间的大小,从而调节进入污水厂的水量大小,因此提高了对雨水和污水的处理效果。
而污水管的管道较大,因此使用阀门时阀门的体积都较大,导致闸门在安装和控制方面都不方便,而且水流动闸门处时进行阻挡,因此闸门处受到的压力极大,从而造成闸门容易损坏,降低了对水的控制效果,而本申请只需将控制管两端通过法兰盘进行连接,然后通过控制介质和水冲压力共同作用控制水量大小,因此提高了在控制水量大小的过程中的便利性和精确性;环形软管与控制管连接处在膨胀时会形成倾斜的导向面,以此来对水进行缓冲,从而降低了水压力对环形软管的冲击力,从而提高了环形软管的寿命,因此提高了对水的控制效果。
可选的,所述输入机构包括:存储箱,所述存储箱设置有池体上;移动活塞,所述移动活塞滑移设置在存储箱内且和存储箱内侧壁配合形成供气体存储的存放空间;电推杆,所述电推杆设置在存储箱上且与移动活塞连接;送出管和回收管,所述送出管和回收管设置在存储箱上且与存放空间连通并分别与进入管和输出管连通,所述输出管上设置有仅能供气体通过送出管移至进入管内的输送单向阀,而所述输出管上设置有仅能供气体通过回收管进入存放空间的回收单向阀;水位检测仪,所述水位检测仪设置在池体内且用于检测池体内的水位高低并与电推杆电连接。
通过采用上述技术方案,水位检测仪检测池体内水位,水位检测仪控制电推杆启动带动移动活塞移动,移动活塞移动挤压存放空间内气体通过输送单向阀、输出管和进入管进入控制腔内,气体推动环形软管膨胀,而需要使得环形软管缩小时,电推杆启动带动移动活塞回移,移动活塞移动使得控制腔内气体通过输出管、回收单向阀和回收管进入存放空间内,以此来实现调节流动空间的大小。
可选的,两个所述环形软管背离控制腔一侧的侧壁上分别设置有环形的凸棱和与凸棱卡接配合的卡槽,所述凸棱和卡槽均间隔设置有多个。
通过采用上述技术方案,当两个环形软管相互靠近抵压在一起关闭流动空间时,凸棱卡接安装到卡槽上,以此来提高了对水的阻挡效果,降低了水冲击力过大而通过流动空间的概率,进一步提高了对水的分流效果,提高了对雨水和污水的处理效果。
可选的,所述闸门和池体配合形成有与排水管连通的排水空间,所述闸门上设置有防回流组件,所述防回流组件包括:阻挡板,所述阻挡板滑移设置在闸门靠近排水空间一侧的侧壁上且用于挡住溢流空间;气囊,所述气囊设置在阻挡板上且悬浮在位于排水空间内的水面上。
通过采用上述技术方案,排水管内的回流发生倒流到排水空间内,使得排水空间内水位上升,水位上升使得气囊上移,气囊上移带动阻挡板上移挡住溢流空间,从而降低了河道中河水倒灌进入池体内的概率,从而进一步提高了对雨水和污水的处理效果。
可选的,所述池体内底壁上开设有容纳槽,所述池体上设置有清理机构,所述清理机构包括:过滤板,所述过滤板设置在容纳槽内;排污泵,所述排污泵设置在过滤板上表面上且设置有伸至去杂框上方的出污管;清理泵,所述清理泵设置在容纳槽内且位于过滤板下方;清理管,所述清理管设置在池体上且与清理泵连通;封堵环,所述封堵环转动设置在清理管上且用于封堵清理管管口;清理板,所述清理板设置在封堵环上且开设有多个与清理管内连通的转动槽,所述清理管内水喷射到转动槽上用于带动清理板转动并用于对池体进行清理。
通过采用上述技术方案,池体在存水过程中会沉淀较多的杂质在池体内底壁上,因此当旱季时,池体内水量较少时,排污泵启动,容纳槽水和杂质通过排污管排放到去杂框内,水通过去杂框流入池体内,而杂质停留在去杂框内,同时清理泵启动,通过清理板过滤后的水进入清理泵内,然后水进入清理管内,而封堵环阻挡水,而水喷出冲击进入转动槽,使得清理板发生转动,因此喷出的水形成环状对池体内底壁进行清理,同时清理板对池体内底壁的水进行搅动,使得沉淀在池体内底壁上的杂质上翻,而随着容纳槽内水减少,容纳槽位置较低,使得池体内底壁的水和杂质进入容纳槽内,然后杂质和水通过排污管进入去杂框内进行清理,如此循环,以此来实现对池体内底壁进行清理,从而提高了对雨水和污水的处理效果。
可选的,所述过滤网呈倾斜状态且用于将杂质导向到进液腔内,所述池体上设置支撑架,所述去杂框卡接安装在支撑架上。
通过采用上述技术方案,杂质停留在过滤板上,后续水冲击过滤板上杂质移至进液腔内进行搅碎,从而加快了水通过过滤板的速率,因此进一步提高了对水中杂质的去除效果;当雨季来临之前,工作人员可以提前取下去杂框进行清理,清理后将去杂框卡接安装到支撑架上,从而提高来对杂质的去除效果,以此来提高了对雨水和污水的处理效果。
综上所述,本申请包括以下至少一种有益技术效果:通过进水管内水和杂质进入进液腔和出液腔内,进入出液腔内通过过滤网进行过滤推动拨片转动,拨片转动带动切割刀片转动,切割刀片对通过出液腔内杂质进行切割,然后切割后的杂质掉落到去杂框中进行收集,而水通过去杂框后移至池体内,以此来实现对水中的杂质进行过滤,减少了水中的杂质数量,降低了杂质对进入排污管和排水管内的概率,因此提高了对雨水和污水的处理效果。
(发明人:郑轶丽;谢鲁;朱钢;唐贵伟;邓雪峰;王盼盼;刘小琳)






