申请日2016.05.27
公开(公告)日2016.12.07
IPC分类号C02F9/02
摘要
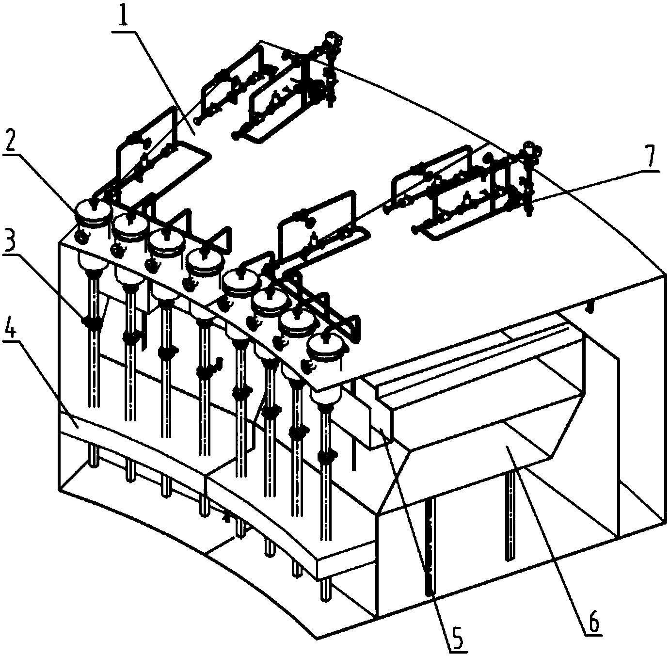
一种浮体舱室内的含油污水处理集成装置,包括:下部浮体、设置在下部浮体内的舱室、集成在下部浮体舱室内的含油污水处理装置、与含油污水处理装置相连的旋流除油器、与旋流除油器相连的液下阀门、聚结填料、斜管组、收油槽、气平衡管线。本实用新型把位于上部组块上的含油污水处理装置,优化到下部浮体舱室中去,不仅解决了上部组块空间位置紧张问题;而且,还使含油污水处理达到外排或回注地层的标准,满足安全区域的要求;同时,大大降低了工程的投资,增加了生产效益。
摘要附图
权利要求书
1.一种浮体舱室内的含油污水处理集成装置,其特征在于:包括:下部浮体、设置在下部浮体内的舱室、集成在下部浮体舱室内的含油污水处理装置、与含油污水处理装置相连的旋流除油器、与旋流除油器相连的液下阀门、聚结填料、斜管组、收油槽、气平衡管线。
2.根据权利要求1所述的浮体舱室内的含油污水处理集成装置,其特征在于:所述斜管组为亲水疏油式。
3.根据权利要求1所述的浮体舱室内的含油污水处理集成装置,其特征在于:所述收油槽为倾斜设置。
4.根据权利要求1所述的浮体舱室内的含油污水处理集成装置,其特征在于:所述舱室是利用船舱或浮式采油平台的支腿作为容器的外壳制成。
5.根据权利要求1所述的浮体舱室内的含油污水处理集成装置,其特征在于:所述旋流除油器为立式。
说明书
浮体舱室内的含油污水处理集成装置
技术领域
本实用新型涉及污水处理装置,尤其涉及一种浮体舱室内的含油污水处理集成装置。属于海洋石油工程领域。
背景技术
随着海洋石油工程不断地由近海向深海迈进,浮式生产装置也越来越多的得到应用。
目前,浮式生产装置从结构上分为上部组块及设置在上部组块下面的下部浮体两大部分;由于油气生产相关的设备、含油污水处理装置、公用系统设备、生活楼等都布置在上部组块上,因此,导致上部组块空间布置比较紧张,有时不得不采取加大上部组块面积的方式,来满足油气生产的需要,这样一来,将会大大增加工程的投资。而下部浮体空间,通常,由于只布置原油储存舱室、压载水舱室等,导致其空间布置相对充裕,利用率较低。
实用新型内容
本实用新型的主要目的在于克服现有技术存在的上述缺点,而提供一种改进的浮体舱室内的含油污水处理集成装置,其统筹考虑上下部空间的利用,把位于上部组块上的含油污水处理装置,优化到下部浮体舱室中去,不仅解决了上部组块空间位置紧张问题;而且,还大大降低了工程的投资,达到了降低成本,增加生产效益的目的。
本实用新型的目的是由以下技术方案实现的:
一种浮体舱室内的含油污水处理集成装置,其特征在于:包括:下部浮体、设置在下部浮体内的舱室、集成在下部浮体舱室内的含油污水处理装置、与含油污水处理装置相连的旋流除油器、与旋流除油器相连的液下阀门、聚结填料、斜管组、收油槽、气平衡管线。
所述斜管组为亲水疏油式。
所述收油槽为倾斜设置。
所述舱室是利用船舱或浮式采油平台的支腿作为容器的外壳制成。
所述旋流除油器为立式。
本实用新型的有益效果:本实用新型由于采用上述技术方案,其统筹考虑上下部空间的利用,把位于上部组块上的含油污水处理装置,优化到下部浮体舱室中去,不仅解决了上部组块空间位置紧张问题;而且,还使含油污水处理达到外排或回注地层的标准,满足安全区域的要求;同时,大大降低了工程的投资,达到了降低成本、增加生产效益的目的。


