申请日2016.05.04
公开(公告)日2016.09.07
IPC分类号C02F9/14
摘要
本实用新型公开了一种生活污水处理总站,它包括从左往右顺次设置的格栅渠(1)、酸化调节池(2)、初滤池(3)、厌氧生物滤池(4)、充氧池(5)、好氧生物滤池(6)、终滤池(7)、植物检测池(8)以及放流渠(9),厌氧生物滤池(4)中的滤料内填装有厌氧生物载体,好氧生物滤池(6)中的滤料内填装有好氧生物载体;每根长管上且沿长管的长度方向顺次设置有多个小孔,放流渠(9)的侧壁上还设置有达标水排放口(24),所述的格栅渠(1)与酸化调节池(2)连通;充氧池(5)内还固定安装有充氧泵(21)和立柱(22)。本实用新型的有益效果是:利用微生物吸附降解有机物、出水品质高、能够准确的检测出水的水质情况。
权利要求书
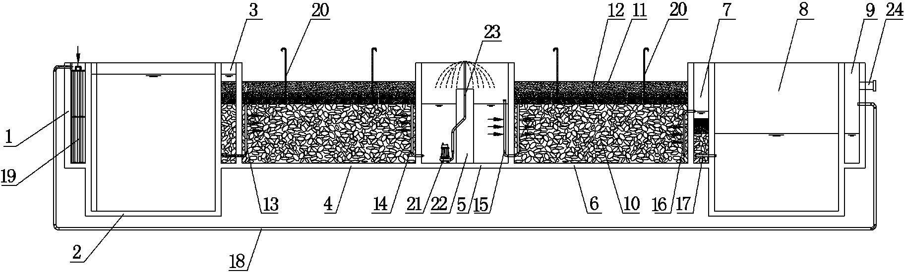
1.一种生活污水处理总站,其特征在于:它包括从左往右顺次设置的格栅渠(1)、酸化调节池(2)、初滤池(3)、厌氧生物滤池(4)、充氧池(5)、好氧生物滤池(6)、终滤池(7)、植物检测池(8)以及放流渠(9),所述的酸化调节池(2)内添加有厌氧发酵菌,所述的初滤池(3)、厌氧生物滤池(4)、好氧生物滤池(6)和终滤池(7)内均设置有滤料,厌氧生物滤池(4)中的滤料内填装有厌氧生物载体,好氧生物滤池(6)中的滤料内填装有好氧生物载体,所述的滤料由从下往上顺次设置的卵石层(10)、米石层(11)和细沙层(12)组成,所述的初滤池(3)与厌氧生物滤池(4)之间连接有排污管A(13),厌氧生物滤池(4)与充氧池(5)之间连接有排污管B(14),充氧池(5)与好氧生物滤池(6)之间连接有排污管C(15),好氧生物滤池(6)与终滤池(7)之间连接排污管D(16),终滤池(7)与植物检测池(8)之间连接排污管E(17);
所述的排污管A(13)、排污管B(14)和排污管D(16)均为L形状,排污管A(13)和排污管B(14)的长管均垂向设置且设置于厌氧生物滤池(4)中的卵石层(10)内,排污管D(16)的长管垂向设置且设置于好氧生物滤池(6)中的卵石层(10)内,所述的排污管C(15)为U形状,排污管C(15)的一根长管设置于充氧池(5)内,排污管C(15)的另一根长管垂向设置且设置于好氧生物滤池(6)中的卵石层(10)内,所述的每根长管上且沿长管的长度方向顺次设置有多个小孔,所述的放流渠(9)与格栅渠(1)之间连接有污水超越管(18),放流渠(9)的侧壁上还设置有达标水排放口(24),所述的格栅渠(1)与酸化调节池(2)连通,格栅渠(1)内还设置有扁钢栅条(19);
所述的充氧池(5)内还固定安装有充氧泵(21)和立柱(22),所述的立柱(22)内设置有贯穿立柱(22)上表面的出水管(23),充氧泵(21)的出口与出水管(23)连接。
2.根据权利要求1所述的一种生活污水处理总站,其特征在于:所述的排污管E(17)为直管。
3.根据权利要求1所述的一种生活污水处理总站,其特征在于:所述的每个小孔的直径均为8~10mm。
4.根据权利要求1所述的一种生活污水处理总站,其特征在于:所述的厌氧生物滤池(4)中的米石层(11)内以及好氧生物滤池(6)中的米石层(11)内均敷设有排气管(20)。
说明书
一种生活污水处理总站
技术领域
本实用新型涉及生活污水处理的技术领域,特别是一种生活污水处理总站。
背景技术
目前,随着人类文明的进步和社会经济的发展,人类已逐步认识到环境保护对促进社会进步和经济持续、稳定、协调发展的重要意义。环境保护工作已成为我们的一项基本国策,受到社会普遍的关注和重视。
农村科技农业快速发展的同时,加快了我国新农村建设规划的步伐,不久的将来将会告别同村各户“散居”的时代,取而代之的将是生活、医疗、科学、文化“软硬”设施条件齐全同村聚居的格局。农村聚居生活不仅能够加速基础设施、教育的普及,还能极大地提高农村的生活水平,但是人口的高密度聚集模式必将对周围的生态环境带来很大的挑战,其中污染最突出的就是人们居住生活所产生的生活污水,这严重阻碍着新农村发展建设的步伐。
生活污水主要是由粪便和洗涤污水组成,含有大量的有机物,如纤维素、淀粉、糖类和脂肪蛋白质等,在厌氧细菌作用下,易生恶臭物质;也常含有病原菌、病毒和寄生虫卵;生活污水若不妥善处理,就会通过地表径流和渗滤进入地下水层污染地下水。
实用新型内容
本实用新型的目的在于克服现有技术的缺点,提供一种结构紧凑、利用微生物吸附降解有机物、出水品质高、能够准确的检测出水的水质情况的生活污水处理总站。
本实用新型的目的通过以下技术方案来实现:一种生活污水处理总站,它包括从左往右顺次设置的格栅渠、酸化调节池、初滤池、厌氧生物滤池、充氧池、好氧生物滤池、终滤池、植物检测池以及放流渠,所述的酸化调节池内添加有厌氧发酵菌,所述的初滤池、厌氧生物滤池、好氧生物滤池和终滤池内均设置有滤料,厌氧生物滤池中的滤料内填装有厌氧生物载体,好氧生物滤池中的滤料内填装有好氧生物载体,所述的滤料由从下往上顺次设置的卵石层、米石层和细沙层组成,所述的初滤池与厌氧生物滤池之间连接有排污管A,厌氧生物滤池与充氧池之间连接有排污管B,充氧池与好氧生物滤池之间连接有排污管C,好氧生物滤池与终滤池之间连接排污管D,终滤池与植物检测池之间连接排污管E;
所述的排污管A、排污管B和排污管D均为L形状,排污管A和排污管B的长管均垂向设置且设置于厌氧生物滤池中的卵石层内,排污管D的长管垂向设置且设置于好氧生物滤池中的卵石层内,所述的排污管C为U形状,排污管C的一根长管设置于充氧池内,排污管C的另一根长管垂向设置且设置于好氧生物滤池中的卵石层内,所述的每根长管上且沿长管的长度方向顺次设置有多个小孔,所述的放流渠与格栅渠之间连接有污水超越管,放流渠的侧壁上还设置有达标水排放口,所述的格栅渠与酸化调节池连通,格栅渠内还设置有扁钢栅条;
所述的充氧池内还固定安装有充氧泵和立柱,所述的立柱内设置有贯穿立柱上表面的出水管,充氧泵的出口与出水管连接。
所述的排污管E为直管。
所述的每个小孔的直径均为8~10mm。
所述的厌氧生物滤池中的米石层内以及好氧生物滤池中的米石层内均敷设有排气管。
本实用新型具有以下优点:(1)本实用新型利用微生物吸附降解有机物,具有生态环保的特性。(2)本实用新型能够通过在植物检测池内栽植水生植物并通过其健康生长状况观察了解整个生活污水处理站的处理出水水质情况,从而更能真实反应出水水质情况,具有检测精度高的特点。(3)当出水水质情况达不到排放标准后,则通过污水超越管重新抽入格栅渠内再次做循环处理,保证了出水水质。



