申请日2015.07.22
公开(公告)日2016.01.27
IPC分类号C02F11/12; C02F11/18; B01F7/04; B01F15/06
摘要
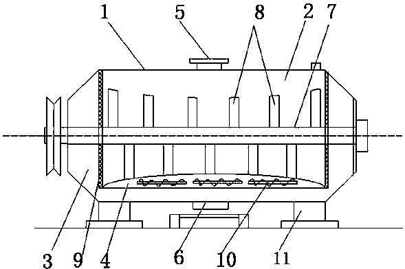
本实用新型公开了一种高效污泥干化炉,所述的污泥干化炉为圆柱形的筒体,筒体内设有横向搅拌轴和垂直搅拌桨,筒体底部设有出料口,筒体的内部设有U型截面的干燥仓和矩形截面的搅拌仓,搅拌仓设置在干燥仓的内部,干燥仓的底部连通出料口,搅拌仓的两侧与干燥仓相连通,搅拌仓与干燥仓的连通位置上设有过滤筛网,搅拌仓的底部设有加热层,加热层内设有多组加热线圈;本实用新型通过壳体内的加热层保证了污泥对能量的充分利用,避免能量损耗,干燥效率高;同时加热层的安装位置特殊,不影响搅拌仓和干燥仓的正常工作,加热层与干燥污泥的接触面积大,方便其对污泥均匀的干燥效果,装置操作简单,省时省力。
权利要求书
1.一种高效污泥干化炉,所述的污泥干化炉为圆柱形的筒体,所述的筒体横放在固定支架上,筒体内设有横向搅拌轴和垂直搅拌桨,筒体顶部设有进料口,筒体底部设有出料口,其特征在于,所述筒体的内部设有U型截面的干燥仓和矩形截面的搅拌仓,所述的搅拌仓设置在干燥仓的内部,所述的干燥仓的底部连通出料口,所述搅拌仓的两侧与干燥仓相连通,所述搅拌仓与干燥仓的连通位置上设有过滤筛网,所述搅拌仓的底部设有加热层,所述的加热层内设有多组加热线圈。
2.根据权利要求1所述的高效污泥干化炉,其特征在于,所述的加热层的上表面为弧形表面。
3.根据权利要求2所述的高效污泥干化炉,其特征在于,所述的垂直搅拌桨均匀分布在搅拌仓内的搅拌轴上,所述的垂直搅拌桨的长度与加热层的高度相匹配。
4.根据权利要求1所述的高效污泥干化炉,其特征在于,所述的干燥仓的两侧为圆锥形的筒体。
5.根据权利要求1所述的高效污泥干化炉,其特征在于,所述的搅拌仓的垂直高度为筒体垂直高度的4/5~5/6。
说明书
高效污泥干化炉
技术领域
本实用新型涉及污泥的回收领域设备领域,尤其涉及一种干燥效率高的污泥干化炉。
背景技术
污泥中的水分一般在80%,烘干后终水分为10~50%,一般污泥要求在30%左右,污泥在干燥过程中一般会采用污泥干化炉,通过干化炉将污泥中多余的水分去除,得到直径较小叫的干燥污泥颗粒;干燥的污泥颗粒可用于为其他化工产品的生产原料。
但是在实际操作过程中,大部分的干燥设备的加热系统设置在其炉体的外侧,因此为了保证能量的充分利用,需要在加热系统的外侧添加辅助的保温层,而本身保温层存在这一定的保温效果,而加热层本身温度较高,在长时间的工作情况下,还是存在能量损耗的问题;同时部分加热装置的保温层设置在壳体的内侧,能量利用率高,但是由于污泥在干燥过程中本身是需要搅拌的,添加在壳体的内侧的加热层影响污泥的搅拌工作,导致污泥在干燥过程中存在受热不均的情况。
发明内容
针对上述存在的问题,本实用新型目的在于提供一种干燥效率高,能量充分利用,干燥均匀的污泥干化炉。
为了达到上述目的,本实用新型采用的技术方案如下:一种高效污泥干化炉,所述的污泥干化炉为圆柱形的筒体,所述的筒体横放在固定支架上,筒体内设有横向搅拌轴和垂直搅拌桨,筒体顶部设有进料口,筒体底部设有出料口,所述筒体的内部设有U型截面的干燥仓和矩形截面的搅拌仓,所述的搅拌仓设置在干燥仓的内部,所述的干燥仓的底部连通出料口,所述搅拌仓的两侧与干燥仓相连通,所述搅拌仓与干燥仓的连通位置上设有过滤筛网,所述搅拌仓的底部设有加热层,所述的加热层内设有多组加热线圈。
作为本实用新型的一种改进,所述的加热层的上表面为弧形表面;通过弧形表面方便加热层与搅拌仓内污泥的之间的充分接触,方便污泥充分利用加热层中的热量。
作为本实用新型的一种改进,所述的垂直搅拌桨均匀分布在搅拌仓内的搅拌轴上,所述的垂直搅拌桨的长度与加热层的高度相匹配;通过垂直搅拌桨搅动搅拌仓内的污泥,方便各个位置上污泥均匀的干燥效果,同时由于加热层的上表面为弧形表面,为了防止垂直搅拌桨与其发生摩擦,搅拌仓中部的垂直搅拌桨的长度较短,搅拌仓两侧的垂直搅拌桨长度较长。
作为本实用新型的一种改进,所述的干燥仓的两侧为圆锥形的筒体;通过圆锥形的筒体不仅方便固定搅拌轴,方便搅拌轴在筒体内稳定的工作,同时锥形壳体方便由搅拌仓排出的污泥颗粒快速的进入干燥仓的底部,在干燥仓的底部再次干燥后通过出料口出料,提高装置的出料效率。
作为本实用新型的一种改进,所述的搅拌仓的垂直高度为筒体垂直高度的4/5~5/6;为了保证装置适用于大批量的污泥干燥,搅拌仓的体积不能过小,而其体积也能过大,过大的体积使得干燥仓的体积缩小,不仅影响干燥仓的干燥效率,同时影响污泥颗粒的出料效率。
本实用新型的优点在于:本实用新型通过添加在壳体内的加热层,保证了污泥在干燥过程中对能量的充分利用,避免了不必要的能量损耗,干燥效率高;同时通过加热层特殊的安装位置,不影响搅拌仓和和干燥仓的正常工作,加热层与干燥污泥的接触面积大,方便其对污泥均匀的干燥效果,同时装置本身进料和出料方便,操作简单,省时省力。







