申请日2015.08.20
公开(公告)日2015.12.30
IPC分类号B01D33/03; B07B1/28; B01D33/60; B01D33/41
摘要
一种含油污泥中颗粒物多级振动筛分设备,包括箱体,箱体的底部为流化油泥出料斗,箱体的上部和顶盖连接,箱体通过弹簧固定在支架上,顶盖上设有进料口,进料口和含油污泥输入管联通,顶盖内侧和多级喷淋水支管连接,喷淋水支管和进水干管出口连接,进水干管进口和进水管路联通,箱体内设多级若干挂钩用于固定两层以上的筛网,筛网在箱体内倾斜固定,筛网最低处的箱体处设有颗粒物出料斗,流化油泥出料斗的外部固定有两台以上的振动电机,通过振动电机带动箱体震动,进而带动筛网,本实用新型对含油污泥的流化中颗粒物筛分效果好,且便于操作。
权利要求书
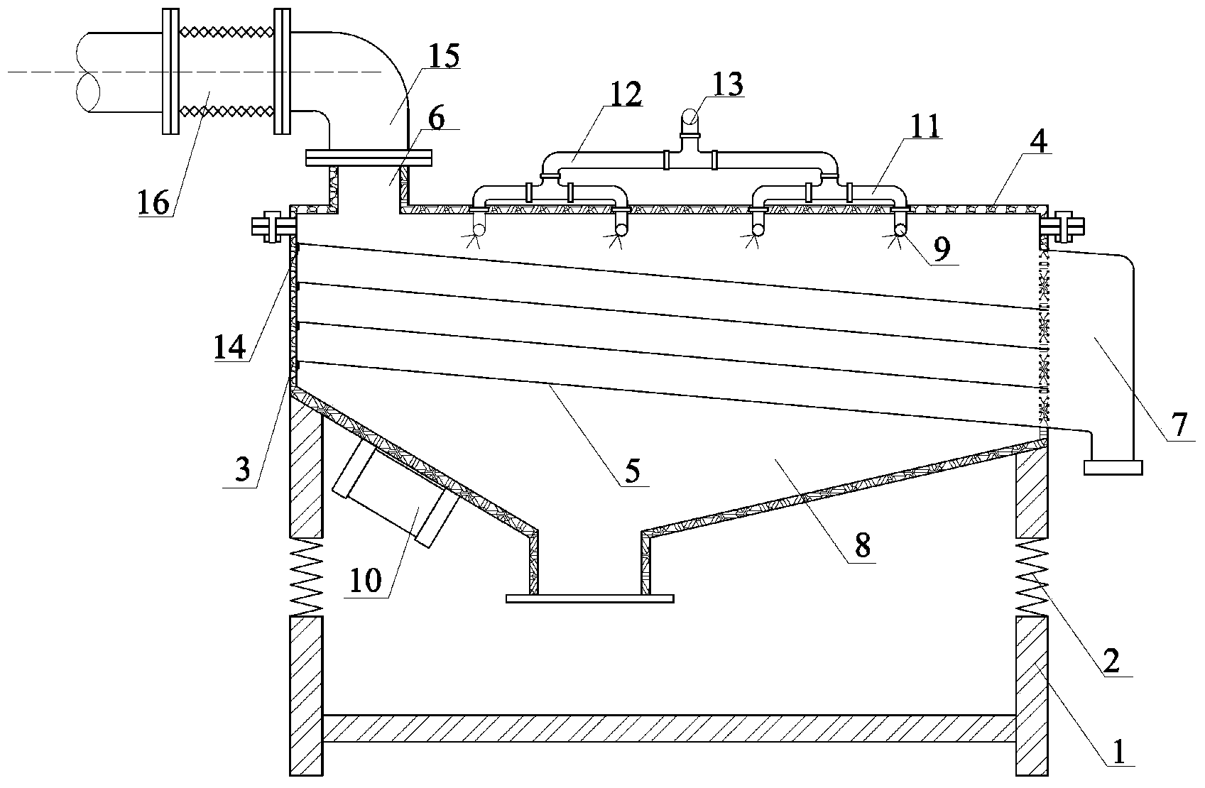
1.一种含油污泥中颗粒物多级振动筛分设备,包括箱体(3), 其特征在于:箱体(3)的底部为流化油泥出料斗(8),箱体(3)的 上部和顶盖(4)连接,箱体(3)通过弹簧(2)固定在支架(1)上, 顶盖(4)上设有进料口(6),进料口(6)和含油污泥输入管联通, 顶盖(4)内侧和多级喷淋水支管(9)连接,喷淋水支管(9)和进 水干管(11)出口连接,进水干管(11)进口和进水管路联通,箱体 (3)内设多级若干挂钩(14)用于固定两层以上的筛网(5),筛网 (5)在箱体(3)内倾斜固定,筛网(5)最低处的箱体3处设有颗粒 物出料斗(7),流化油泥出料斗(8)的外部固定有两台以上的振动 电机(10)。
2.根据权利要求1所述的一种含油污泥中颗粒物多级振动筛分设 备,其特征在于:所述的箱体(3)、顶盖(4)的内侧或外侧加保温 层。
3.根据权利要求1所述的一种含油污泥中颗粒物多级振动筛分设 备,其特征在于:所述的箱体(3)长2000~2500mm、宽500~1000mm, 含流化油泥出料斗(8)到顶盖(4)的高800~1500mm,支架(1)高 500~800mm。
4.根据权利要求1所述的一种含油污泥中颗粒物多级振动筛分设 备,其特征在于:所述的弹簧(2)采用4或6个,弹簧(2)高200~300mm。
5.根据权利要求1所述的一种含油污泥中颗粒物多级振动筛分设 备,其特征在于:所述的进料口(6)直径150~200mm。
6.根据权利要求1所述的一种含油污泥中颗粒物多级振动筛分设 备,其特征在于:所述的颗粒物出料斗(7)为椎体形,底宽 500~1000mm,长200~300mm,出口直径50~100mm。
7.根据权利要求1所述的一种含油污泥中颗粒物多级振动筛分设 备,其特征在于:所述的喷淋水支管(9)长300~800mm,内径 10~15mm,进水干管(11)直径15~12mm,总管(12)直径20~25mm。
8.根据权利要求1所述的一种含油污泥中颗粒物多级振动筛分设 备,其特征在于:所述的流化泥浆出料斗(8)底长2000~2500mm, 宽500~1000mm,高300~500mm,出口直径150~200mm。
9.根据权利要求1所述的一种含油污泥中颗粒物多级振动筛分设 备,其特征在于:所述的筛网(5)为2~4层,顶层筛孔直径10mm, 底层筛孔直径2~5mm,筛网(5)安装倾角10~30°,各层间距 100~200mm。
10.根据权利要求1所述的一种含油污泥中颗粒物多级振动筛分 设备,其特征在于:所述的振动电机(10)的单台功率0.5~1.0KW, 频率500~1000rpm,振幅3~5m。
说明书
一种含油污泥中颗粒物多级振动筛分设备
技术领域
本实用新型属于油田污染治理技术领域,尤其涉及一种含油污泥中颗粒物多级振动筛分设备。
背景技术
含油污泥是指在石油开采、运输(输送)、含油污水处理过程中产生的固体废弃物,坑储或堆放不但占用大量耕地,而且对周围土壤、水体、空气环境都会造成极大的危害,一旦被污染将很难恢复。同时,含油污泥也有再利用价值。化学调质分离法是国内外目前含油污泥主流处理工艺,适合石油类含量高于10%的油泥,操作较为简便、设备投资少,可以将污染治理与石油类回收有机的统一起来。含油污泥的化学调质分离法一般是在稀释的条件下,通过采用超声波或加热的方式破坏油泥的稳定体系,实现石油类与泥水的分离并回收。
含油污泥调质前的预处理极为重要,预处理又称含油污泥的流化与除杂。含油污泥中的杂物是指编织袋、塑料袋、树枝;块状固体、大小颗粒物等。去除含油污泥中的杂物,是减小后续工段物料输送管路畅通,减少机泵设备机械磨损必要措施;此外,油泥调质分离及其在单元操作之间的输送也要求其调理至固形物含量为10~15%的流化状态。
中国专利“一种含油污泥两级流化除杂装置”(专利号CN203256100U)是一种较好的含油污泥流化除杂装置,然而,含油污泥调质分离前预处理需要热水流化,且整个过程的工艺水循环使用,能耗损失大。
发明内容
为了克服上述现有技术的缺点,本实用新型的目的在于提供一种含油污泥中颗粒物多级振动筛分设备,使含油污泥预处理能够取得更好的效果,且便于操作。
为了达到上述目的,本实用新型采取的技术方案为:
一种含油污泥中颗粒物多级振动筛分设备,包括箱体3,箱体3的底部为流化油泥出料斗8,箱体3通过弹簧2固定在支架1上,箱体3的上部和顶盖4连接,顶盖4上设有进料口6,进料口6和含油污泥输入管联通,顶盖4内侧和多级喷淋水支管9连接,喷淋水支管9和进水干管11出口连接,进水干管11进口和进水管路联通,箱体3内设多级若干挂钩14用于固定两层以上的筛网5,筛网5在箱体3内倾斜固定,箱体3在筛网5末端一侧设有颗粒物出料斗7,流化油泥出料斗8的外部固定有两台以上的振动电机10。
所述的箱体3、顶盖4的外侧加保温层。
所述的箱体3长2000~2500mm、宽500~1000mm,含流化油泥出料斗8到顶盖4的高800~1500mm,支架1高500~800mm。
所述的弹簧2采用4或6个,弹簧2高200~300mm。
所述的进料口6直径150~200mm。
所述的颗粒物出料斗7为椎体形,底宽500~1000mm,长200~300mm,出口直径50~100mm。
所述的喷淋水支管9长300~800mm,内径10~15mm,进水干管11直径15~12mm,总管12直径20~25mm。
所述的流化泥浆出料斗8底长2000~2500mm,宽500~1000mm,高300~500mm,出口直径150~200mm。
所述的筛网5为2~4层,顶层筛孔直径10mm,底层筛孔直径2~5mm,筛网5安装倾角10~30°,各层间距100~200mm。
所述的振动电机10的单台功率0.5~1.0KW,频率500~1000rpm,振幅3~5m。
本实用新型加工制作方便、操作简便,对含油污泥的流化中颗粒物筛分效果好,是含油污泥化学调质分离实现稳定高效处理的关键装置之一。







