申请日2013.08.20
公开(公告)日2014.09.24
IPC分类号C02F9/14; C02F1/32; C02F1/78
摘要
臭氧氧化、两级生物增强活性炭、紫外消毒水处理装置,它涉及一种水处理装置。本发明为了解决现有的水处理装置中无法实现运行模式多样化,小规模运行试验和实时数据在线监测的问题。本发明的臭氧氧化水处理装置(2)和紫外消毒器(3)设置在一体化试验装置固定架(1)的左右两侧,两级生物增强活性炭(4)和反冲洗水箱(5)由左至右依次设置在臭氧氧化水处理装置(2)的右侧,两级生物增强活性炭(4)和反冲洗水箱(5)之间通过反冲洗水管(7)连接,反冲洗水泵(6)设置在反冲洗水管(7)上,紫外消毒器(3)设置在反冲洗水箱(5)的上部。本发明用于水处理。
权利要求书
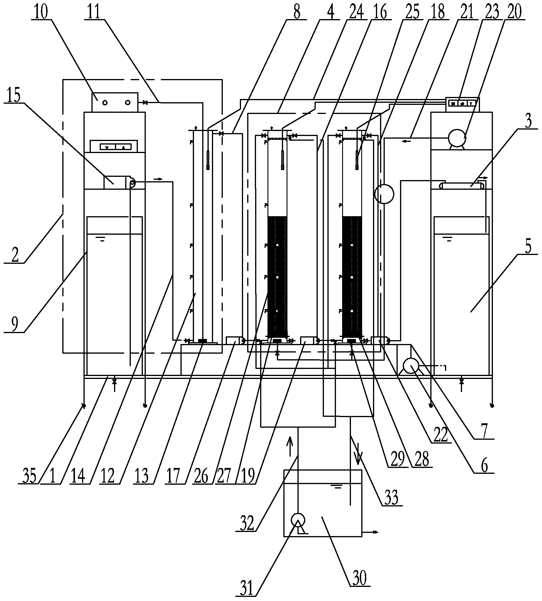
1.一种臭氧氧化、两级生物增强活性炭、紫外消毒水处理装置,它包括一体化试验装 置固定架(1)、臭氧氧化水处理装置(2)和紫外消毒器(3),臭氧氧化水处理装置(2) 和紫外消毒器(3)设置在一体化试验装置固定架(1)的左右两侧,
臭氧氧化水处理装置(2)包括原水水箱(9)、臭氧发生器(10)、臭氧输送管(11)、 气密性柱状容器(12)、臭氧微孔曝气头(13)、原水输水管(14)和第一蠕动泵(15),原 水水箱(9)和气密性柱状容器(12)由左至右依次并列设置,臭氧发生器(10)设置在原 水水箱(9)上端,臭氧微孔曝气头(13)设置在气密性柱状容器(12)内的下部,臭氧输 送管(11)的一端与臭氧发生器(10)连接,臭氧输送管(11)的另一端与臭氧微孔曝气 头(13)连接,原水水箱(9)与气密性柱状容器(12)的下端外壁之间通过原水输水管(14) 连接,第一蠕动泵(15)设置在原水输水管(14)上,
其特征在于:所述水处理装置还包括两级生物增强活性炭(4)、反冲洗水箱(5)、 反冲洗水泵(6)、反冲洗水管(7)、第一级传输水管(8)、第二蠕动泵(17)、监测显 示器(23)、多根数据传输线(24)和多个监测探头(25),
两级生物增强活性炭(4)和反冲洗水箱(5)由左至右依次设置在臭氧氧化水处理装 置(2)的右侧,两级生物增强活性炭(4)和反冲洗水箱(5)之间通过反冲洗水管(7) 连接,反冲洗水泵(6)设置在反冲洗水管(7)上,紫外消毒器(3)设置在反冲洗水箱(5) 的上部,
两级生物增强活性炭(4)包括第一级生物增强活性炭、第二级生物增强活性炭、第二 级传输水管(16)、第三蠕动泵(19)、出水管(18)、第四蠕动泵(22)、气泵(20) 和输气管(21),
第一级生物增强活性炭和第二级生物增强活性炭并列竖直设置,第一级生物增强活性 炭和第二级生物增强活性炭之间通过第二级传输水管(16)连接,第三蠕动泵(19)设置 在第二级传输水管(16)上,臭氧氧化水处理装置(2)与第一级生物增强活性炭之间通过 第一级传输水管(8)连接,第二蠕动泵(17)设置在第一级传输水管(8)上,第二级生 物增强活性炭与紫外消毒器(3)之间通过出水管(18)连接,第四蠕动泵(22)设置在出 水管(18)上,气泵(20)设置在紫外消毒器(3)的上方,气泵(20)与第一级生物增强 活性炭和第二级生物增强活性炭的下端通过输气管(21)连接,监测显示器(23)设置在 气泵(20)上方,气密性柱状容器(12)、第一级生物增强活性炭和第二级生物增强活性炭 内分别设有一个监测探头(25),每个监测探头(25)分别通过一根数据传输线(24)与 监测显示器(23)连接。
2.根据权利要求1所述的臭氧氧化、两级生物增强活性炭、紫外消毒水处理装置,其 特征在于:所述第一级生物增强活性炭和第二级生物增强活性炭均包括压力柱状容器(26)、 炭床(27)、承托层(28)和活性炭曝气头(29),压力柱状容器(26)竖直设置,炭床 (27)、承托层(28)和活性炭曝气头(29)由上至下依次设置在压力柱状容器(26)内。
3.根据权利要求2所述的臭氧氧化、两级生物增强活性炭、紫外消毒水处理装置,其 特征在于:承托层(28)为石英砂级配承托层或锰砂级配承托层。
4.根据权利要求3所述的臭氧氧化、两级生物增强活性炭、紫外消毒水处理装置,其 特征在于:所述石英砂级配承托层或锰砂级配承托层由上至下依次为:粒径为0.8mm-1.8mm 的石英砂或锰砂10mm-20mm;粒径为2mm-4mm的石英砂或锰砂20mm;粒径为4mm-8mm 的石英砂或锰砂10mm-20mm;粒径为8mm-16mm的石英砂或锰砂10mm-20mm;粒径为 16mm-32mm的石英砂或锰砂10mm-20mm。
5.根据权利要求4所述的臭氧氧化、两级生物增强活性炭、紫外消毒水处理装置,其 特征在于:所述炭床(27)为柱状活性炭或破碎活性炭。
6.根据权利要求5所述的臭氧氧化、两级生物增强活性炭、紫外消毒水处理装置,其 特征在于:所述破碎活性炭的粒径为0.5mm-3mm。
7.根据权利要求2或6所述的臭氧氧化、两级生物增强活性炭、紫外消毒水处理装置, 其特征在于:所述压力柱状容器(26)为不锈钢压力柱状容器或有机玻璃压力柱状容器。
8.根据权利要求7所述的臭氧氧化、两级生物增强活性炭、紫外消毒水处理装置,其 特征在于:所述臭氧输送管(11)、原水输水管(14)、反冲洗水管(7)、第一级传输水管 (8)、第二级传输水管(16)、出水管(18)和输气管(21)均为PE管或硅胶管。
9.根据权利要求8所述的臭氧氧化、两级生物增强活性炭、紫外消毒水处理装置,其 特征在于:所述水处理装置还包括菌液循环水箱(30)、循环水泵(31)、菌液供给管(32) 和回流管(33),菌液循环水箱(30)设置在一体化试验装置固定架(1)的外部,循环水 泵(31)设置在菌液循环水箱(30)内,菌液供给管(32)的一端与菌液循环水箱(30) 连接,菌液供给管(32)的另一端分别与第一级生物增强活性炭和第二级生物增强活性炭 的下端连接,回流管(33)的一端与菌液循环水箱(30)连接,回流管(33)的另一端分 别与第一级生物增强活性炭和第二级生物增强活性炭的上端连接。
10.根据权利要求9所述的臭氧氧化、两级生物增强活性炭、紫外消毒水处理装置, 其特征在于:所述水处理装置还包括多个万向轮(34),多个万向轮(34)设置在一体化 试验装置固定架(1)的底端。
说明书
臭氧氧化、两级生物增强活性炭、紫外消毒水处理装置
技术领域
本发明涉及一种水处理装置,具体涉及一种臭氧氧化、两级生物增强活性炭、紫外消 毒水处理装置,属于水处理技术领域。
背景技术
随着社会与经济的迅速发展,饮用水水源污染已经成为主要环境问题之一。2007年7 月1日新的国家《生活饮用水卫生标准》(GB5749-2006)正式颁布,水质指标由原标准的 35项增加到106项,新标准对水中多种微量污染物的控制更加严格。目前,我国大部分城 市给水厂普遍采用的混合-絮凝-沉淀-过滤-消毒等常规处理工艺,难以对水中持久性有机污 染物(POPs)、内分泌干扰物(EDCs)和氨氮等典型污染物进行有效去除,如何解决这些 问题是城市供水行业面临的重要课题。在众多饮用水深度处理技术中,以臭氧氧化-生物增 强活性炭(O3-BEAC)为核心的饮用水深度处理技术已得到广泛应用。O3-BEAC技术将氧 的强氧化性性能、活性炭的高效吸附性能和高效功能菌群的生物降解作用相结合,能够迅 速有效地降解水中微量有机污染物,具有较强的系统稳定性和较强耐负荷冲击能力,并对 活性炭有一定的生物再生作用,使活性炭的使用寿命比普通生物活性炭延长一年以上,因 此,O3-BEAC工艺是适合给水厂技术升级改造的主流技术之一。
O3-BEAC的实际净水效能及系统运行的稳定性、高效性及炭耗受到水源水质、活性炭 种类、臭氧氧化工艺条件及负载活性炭上的功能菌种类的影响。因此,在应用到实际工程 之前,需要根据确定适合水源水质、活性炭品质及功能菌种类的O3-BEAC运行工艺参数, 以指导水厂实现O3-BEAC工艺的高效、稳定运行,有效延长活性炭的使用寿命。但这些 工艺参数的确定需在城市水厂设计施工之前完成,因此水厂无法在建设完成的实际水厂工 艺的处理构筑物中完成相关试验研究。这就需要借助小规模试验实现对O3-BEAC工艺的 模拟,针对水源水质特征开展实验室内的小规模运行试验,以此来确定最佳的臭氧氧化工 艺条件、选择适宜生物强化的活性炭和构建具有高效降解作用的功能菌。因此,开发多功 能一体化O3-BEAC试验装置具有重要的科学研究与实际意义。
综上所述,现有的水处理装置中无法实现运行模式的多样化,小规模运行试验和实时 数据在线监测。
发明内容
本发明的目的是为了解决现有的水处理装置中无法实现运行模式的多样化,小规模运 行试验和实时数据在线监测的问题。进而提供一种臭氧氧化、两级生物增强活性炭、紫外 消毒水处理装置。
本发明的技术方案是:臭氧氧化、两级生物增强活性炭、紫外消毒水处理装置,它包 括一体化试验装置固定架、臭氧氧化水处理装置和紫外消毒器,臭氧氧化水处理装置和紫 外消毒器设置在一体化试验装置固定架的左右两侧,
臭氧氧化水处理装置包括原水水箱、臭氧发生器、臭氧输送管、气密性柱状容器、臭 氧微孔曝气头、原水输水管和第一蠕动泵,原水水箱和气密性柱状容器由左至右依次并列 设置,臭氧发生器设置在原水水箱上端,臭氧微孔曝气头设置在气密性柱状容器内的下部, 臭氧输送管的一端与臭氧发生器连接,臭氧输送管的另一端与臭氧微孔曝气头连接,原水 水箱与气密性柱状容器的下端外壁之间通过原水输水管连接,第一蠕动泵设置在原水输水 管上,
所述水处理装置还包括两级生物增强活性炭、反冲洗水箱、反冲洗水泵、反冲洗水管、 第一级传输水管、第二蠕动泵、监测显示器、多根数据传输线和多个监测探头,
两级生物增强活性炭和反冲洗水箱由左至右依次设置在臭氧氧化水处理装置的右侧, 两级生物增强活性炭和反冲洗水箱之间通过反冲洗水管连接,反冲洗水泵设置在反冲洗水 管上,紫外消毒器设置在反冲洗水箱的上部,
两级生物增强活性炭包括第一级生物增强活性炭、第二级生物增强活性炭、第二级传 输水管、第三蠕动泵、出水管、第四蠕动泵、气泵和输气管,
第一级生物增强活性炭和第二级生物增强活性炭并列竖直设置,第一级生物增强活性 炭和第二级生物增强活性炭之间通过第二级传输水管连接,第三蠕动泵设置在第二级传输 水管上,臭氧氧化水处理装置与第一级生物增强活性炭之间通过第一级传输水管连接,第 二蠕动泵设置在第一级传输水管上,第二级生物增强活性炭与紫外消毒器之间通过出水管 连接,第四蠕动泵设置在出水管上,气泵设置在紫外消毒器的上方,气泵与第一级生物增 强活性炭和第二级生物增强活性炭的下端通过输气管连接,监测显示器设置在气泵上方, 气密性柱状容器、第一级生物增强活性炭和第二级生物增强活性炭内分别设有一个监测探 头,每个监测探头分别通过一根数据传输线与监测显示器连接。
本发明与现有技术相比具有以下效果:
1.本发明是这样实现运行模式的多样化小规模运行试验的:
(1)通过调节臭氧接触反应条件,通过添加不同类型的臭氧接触填料,调节臭氧发生 器产臭氧量,能够确定最佳的臭氧接触反应方式,臭氧投加量和接触时间;
(2)通过在第一级生物增强活性炭和第二级生物增强活性炭中填装不同类型的活性 炭、负载不同类型的功能菌种,能够实现对适宜生物强化的活性炭种类的确定及高效功能 菌种的确定:
(3)通过调整紫外计量,能够实现最佳紫外消毒工艺参数的确定。
2.本发明是这样实现实时数据在线监测的问题的:本发明的多个监测探头探测到相应 数据,通过监测显示器来第一时间获取在线监测数据。
3.本发明首次提出臭氧氧化-两级生物增强活性炭-紫外消毒水处理装置。通过两级生 物增强活性炭水处理方法的建立,能够同时满足对不同水质条件下生物增强活性炭净水效 能的研究。
4.本发明提出的水处理装置适用于不同类型流态研究的需要,本发明中的两级生物增 强活性炭水处理装置能够实现对上向流、下向流、压力流和重力流等四种流态及其组合工 况的模拟。
5.本发明水处理装置结构合理、组装方便,能够实现实时数据在线监测,能适应多种 科学研究需要,实现多各工艺阶段的多参数调控,对实际水处理工艺具有很好的模拟性, 可应用于室内科学研究。







