申请日2013.08.20
公开(公告)日2014.03.12
IPC分类号C02F1/00
摘要
本实用新型涉及光氢催化污水深处理装置,属于国产农村野外A片性视频技术领域。一种新型光氢催化污水深处理装置,包括空气过滤器,空气过滤器上设有第一进气口和第一出气口,空气过滤器一侧设有风机,风机左侧安装有入口,风机一侧设有光氢催化箱,光氢催化箱两侧分别安装有第二进气口和第二出气口,光氢催化箱内设置有光氢灯管,光氢催化箱一侧设有混合塔。本实用新型的光氢催化污水深处理装置,可以有效降低废水的COD指标,使处理后的废水达到脱色的目的,且投资小、效率高。
权利要求书
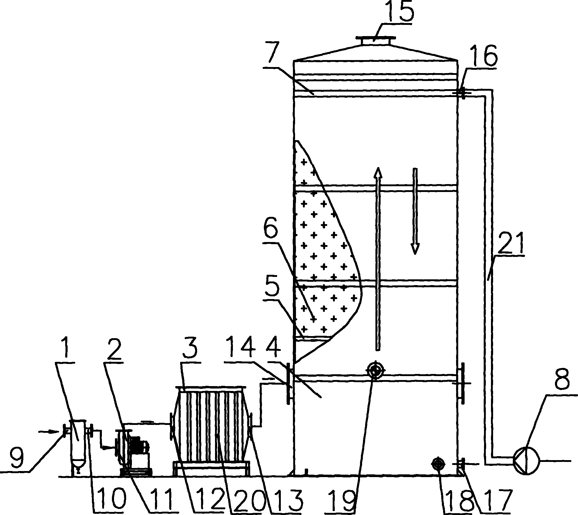
1.一种新型光氢催化污水深处理装置,其特征在于包括空气过滤器(1), 空气过滤器(1)上设有第一进气口(9)和第一出气口(10),空气过滤器(1) 一侧设有风机(2),风机(2)左侧安装有入口(11),风机(2)一侧设有光氢 催化箱(3),光氢催化箱(3)两侧分别安装有第二进气口(12)和第二出气口 (13),光氢催化箱(3)内设置有光氢灯管(20),光氢催化箱(3)一侧设有 混合塔(4),混合塔(4)左侧设置有第三进气口(14),混合塔(4)内安装有 筛板(5),相邻筛板(5)之间设有填料层(6),混合塔(4)内部上层设有布 水器(7),混合塔(4)顶端安装有第三出气口(15),布水器(7)一侧连接有 污水入口(16),污水入口(16)通过管道(21)与上水泵(8)连接,混合塔 (4)底端设置有第一排污口(17)和第二排污口(18),混合塔(4)下部安装 有试镜(19)。
说明书
一种新型光氢催化污水深处理装置
技术领域
本实用新型涉及光氢催化污水深处理装置,属于国产农村野外A片性视频技术领域。
背景技术
光氢催化技术应用于环境处理中的空气净化处理,现已是成熟的技术,市场 上各种产品很多,其原理是:高能紫外线束与空气产生反应,使空气产生大量 的空气负离子和羟基自由基,而空气负离子和羟基自由基可以使有毒、有害、 高浓度污染物及大多数有机污染物有效分解,甚至彻底地转化为无害的小分子 无机物。由于该技术具有显著的特点和环保的优点,因此引起世界各国的重视, 并相继开发了各种各样的处理工艺和设备,使光氢催化技术具有很强的生命力 和竞争力。
然而,光氢催化技术应用于污水的深度处理,譬如:污水的脱色、降解COD 方面的技术报道并不多见,应用于实际生产方面的设备、装置更是鲜见。
发明内容
本实用新型的目的在于拓展光氢催化技术的应用领域,提供一种结构设计 合理、一体化结构、投资小的、效率高的新型光氢催化污水深处理装置。
本实用新型是通过以下技术方案实现的:
一种新型光氢催化污水深处理装置,其特殊之处在于包括空气过滤器1,空 气过滤器1上设有第一进气口9和第一出气口10,空气过滤器1一侧设有风机 2,风机2左侧安装有入口11,风机2一侧设有光氢催化箱3,光氢催化箱3两 侧分别安装有第二进气口12和第二出气口13,光氢催化箱3内设置有光氢灯管 20,光氢催化箱3一侧设有混合塔4,混合塔4左侧设置有第三进气口14,混 合塔4内安装有筛板5,相邻筛板5之间设有填料层6,混合塔4内部上层设有 布水器7,混合塔4顶端安装有第三出气口15,布水器7一侧连接有污水入口 16,污水入口16通过管道21与上水泵8连接,混合塔4底端设置有第一排污 口17和第二排污口18,混合塔4下部安装有试镜19。
本实用新型的光氢催化污水深处理装置,空气经净化后,进入光氢催化箱, 产生的空气负离子、羟基自由基经混合塔的进气口进入塔内,污水从入口进入 布水器,经填料与光氢催化产生的空气负离子、羟基自由基均匀充分混合反应 后向下流,最后经排污口流出排放,反应后的气体经塔顶的出气口排出,这样 就可以有效降低废水的COD指标,使处理后的废水达到脱色的目的,且投资小、 效率高。







