申请日2014.10.16
公开(公告)日2015.03.25
IPC分类号C05F7/00
摘要
本实用新型是一种新型污泥有机肥生产设备,包括有发酵装置、脱水机、干燥装置和碾磨装置,所述发酵装置包括发酵池、污泥检测器和抽泥机,所述发酵装置通过抽泥机与脱水机相连接,所述脱水机包括脱水机腔、泥块出口和排水管,所述脱水机和干燥装置之前设置有传送带,所述干燥装置包括有干燥腔和污泥块出口,所述干燥装置和碾磨装置之间设置有传送带,所述碾磨装置包括有电机、电机轴、旋转轴和底盘,所述电机轴与旋转轴相固接,所述旋转轴两边皆设置有碾磨石轮,所述底盘的左侧设置有出料口;该新型污泥有机肥生产设备具有使用生产效率高、低污染和工作稳定的优点。
权利要求书
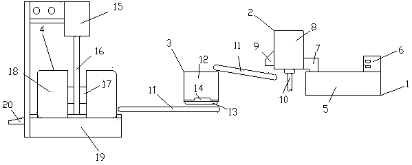
1.一种新型污泥有机肥生产设备,其特征在于:包括有发酵装置、脱水机、干燥装置和碾磨装置,所述发酵装置包括发酵池、污泥检测器和抽泥机,所述污泥检测器设置在发酵池的右上方,所述抽泥机设置在发酵池的左上方,所述发酵装置通过抽泥机与脱水机相连接,所述脱水机包括脱水机腔、泥块出口和排水管,所述泥块出口设置在脱水机腔的左下方,所述排水管设置在脱水机腔的底部,所述脱水机和干燥装置之前设置有传送带,所述干燥装置包括有干燥腔和污泥块出口,所述污泥出口设置在干燥腔的底部,所述干燥装置和碾磨装置之间设置有传送带,所述碾磨装置包括有电机、电机轴、旋转轴和底盘,所述电机轴与旋转轴相固接,所述旋转轴两边皆设置有碾磨石轮,所述底盘的左侧设置有出料口。
2.根据权利要求1所述的一种新型污泥有机肥生产设备,其特征在于:所述污泥检测器上设置有酸碱指示表。
3.根据权利要求1所述的一种新型污泥有机肥生产设备,其特征在于:所述干燥装置的底部设置有落料控制闸。
4.根据权利要求1所述的一种新型污泥有机肥生产设备,其特征在于:所述碾磨装置设置有控制器。
5.根据权利要求1所述的一种新型污泥有机肥生产设备,其特征在于:所述碾磨装置的底盘为内凹设置。
说明书
一种新型污泥有机肥生产设备
技术领域
本实用新型涉及一种新型污泥有机肥生产设备。
背景技术
目前很多渔农承包大量的鱼塘进行养殖鱼虾,由此鱼塘通过沉淀泥土、鱼粪和残余饲料等形成富有有机物的污泥,这些污泥如果不能及时处理,会造成鱼塘内的藻类繁殖速度加快,影响鱼塘的含氧量,从而影响鱼类生长,甚至造成鱼类死亡。
由于鱼塘的污泥富含磷等有机物,如果能将之加工成有机肥料能够为农作物提供富含磷等有机肥料,同时,由于目前的污泥处理机械不够完善,因此,有必要设计一种能够高效率将污泥加工成有机肥的生产设备。
发明内容
本实用新型所要解决的技术问题在于提供一种生产效率高、低污染和工作稳定的污泥有机肥生产设备。
为解决上述问题,本实用新型采用如下技术方案:
一种新型污泥有机肥生产设备,包括有发酵装置、脱水机、干燥装置和碾磨装置,所述发酵装置包括发酵池、污泥检测器和抽泥机,所述污泥检测器设置在发酵池的右上方,所述抽泥机设置在发酵池的左上方,所述发酵装置通过抽泥机与脱水机相连接,所述脱水机包括脱水机腔、泥块出口和排水管,所述泥块出口设置在脱水机腔的左下方,所述排水管设置在脱水机腔的底部,所述脱水机和干燥装置之前设置有传送带,通过传送带,能将脱水后的污泥输送到干燥装置内,所述干燥装置包括有干燥腔和污泥块出口,所述污泥出口设置在干燥腔的底部,所述干燥装置和碾磨装置之间设置有传送带,通过传送带,能将干燥后的污泥块输送到碾磨装置上进行碾磨成粉,所述碾磨装置包括有电机、电机轴、旋转轴和底盘,所述电机轴与旋转轴相固接,所述旋转轴两边皆设置有碾磨石轮,所述底盘的左侧设置有出料口。
作为优选,所述污泥检测器上设置有酸碱指示表,通过酸碱指示表能够辨别污泥的酸碱程度,呈酸性则添加碱性辅料中和,呈碱性则添加酸性辅料中和。
作为优选,所述干燥装置的底部设置有落料控制闸,通过控制落料控制闸,能够将干燥后的污泥块落到传送带上。
作为优选,所述碾磨装置设置有控制器,通过控制器能够控制碾磨装置的碾磨速度和制停碾磨装置。
作为优选,所述碾磨装置的底盘为内凹设置,能够防止碾磨石轮脱离底盘。
本实用新型的有益效果是:由于设置有污泥检测器,能够检测出污泥的酸碱性,从而添加对应的辅料进行中和,由于设置有脱水机,通过脱水机能够将污泥中60%的水分进行脱离,由于设置有干燥装置,通过干燥装置能够将污泥块的水分进行清除,便于碾磨成粉末,由于设置有碾磨装置,能将干燥后的污泥进行碾磨成粉末,有利于农作物吸收成长。







