申请日2014.10.15
公开(公告)日2015.01.14
IPC分类号C02F9/14; C02F1/52; C02F3/00; C02F1/28; C02F1/72
摘要
本实用新型涉及国产农村野外A片性视频,具体是一种污水处理综合系统,包括絮凝处理单元、高级氧化处理单元、生物、带支架的转盘,该转盘上设有转盘中心轴;每个处理单元均设有单独的进水管道、进气管道、排水管道、排气管道、出水口和出气口;每个处理单元的排水管道通过四通阀门分别与下个处理单元的进水管道、排水管道连接,每个处理单元的排气管道通过四通阀门分别与下个处理单元的进气管道、排气管道连接;每个处理单元上的出水口和出气口分别通过四通阀门与其下方的任一处理单元连接;每个处理单元的进水管道和进气管道上分别设有阀门。本实用新型的结构设计合理,污水处理效果明显,可实现连续性处理,出水稳定。
权利要求书
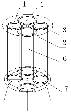
1.一种污水处理综合系统,包括四个处理单元,分别是絮凝处理单元(1)、高级氧化处理单元(2)、生物处理单元(3)和吸附处理单元(4),其特征是:还包括带支架的转盘(5),该转盘上设有转盘中心轴(6);按照絮凝处理单元、高级氧化处理单元、生物处理单元和吸附处理单元的顺序,逆时针首尾相接固定在以转盘中心轴为圆心的圆周上;每个处理单元均设有单独的进水管道(7)、进气管道(8)、排水管道(9)、排气管道(10)、出水口(100)和出气口(101),出水口设于排水管道的排水端,出气口设于排气管道的排气端;每个处理单元的排水管道通过四通阀门(102)分别与下个处理单元的进水管道、排水管道连接,每个处理单元的排气管道通过四通阀门(102)分别与下个处理单元的进气管道、排气管道连接;每个处理单元上的出水口和出气口分别通过四通阀门与其下方的任一处理单元连接;每个处理单元的进水管道和进气管道上分别设有阀门(103)。
2.根据权利要求1所述的污水处理综合系统,其特征是:所述的絮凝处理单元(1)为一体式集成单元,所述絮凝处理单元从下往上依次设为絮凝储药区(11)、絮凝反应区(12)和絮凝沉淀区(13),其中絮凝储药区通过絮凝加药装置(14)连接絮凝反应区;在絮凝反应区和絮凝沉淀区之间还设有斜沉板(15);所述絮凝沉淀区底部设排污口(16),其顶部还设有高效过滤层(17);所述絮凝处理单元的进水管道(7)、进气管道(8)均连接至絮凝反应区;所述排水管道(9)布于高效过滤层上,并与絮凝沉淀区连接;所述出水口(100)与排水管道连通,在出水口处还设有COD在线监测仪(18);在所述絮凝反应区和絮凝沉淀区内均设有观察窗(19)。
3.根据权利要求1所述的污水处理综合系统,其特征是:所述的高级氧化处理单元(2)为一体式集成单元,该单元从下往上依次分为氧化储药区(21)、氧化反应区(22)和氧化沉淀区(23),其中氧化储药区分隔成PH调节剂储药区(211)、催化剂储药区(212)、氧化剂储药区(213),各储药区分别通过PH加药装置(24)、催化剂加药装置(25)、氧化剂加药装置(26)连接至氧化反应区;在氧化反应区和氧化沉淀区之间还设有斜沉板(15);氧化沉淀区底部设排污口(16),其顶部还设有高效过滤层(17);所述高级氧化处理单元的进水管道、进气管道均连接至氧化反应区;所述排水管道布于高效过滤层上,并与氧化沉淀区连接;所述出水口与排水管道连通,在出水口处还设有COD在线监测仪(18);在所述的氧化反应区和氧化沉淀区内均设有PH在线监测系统(29)、观察窗(19)。
4.根据权利要求1所述的污水处理综合系统,其特征是:所述的生物处理单元(3)为一体式集成单元,在该单元的最底端设有无机盐类储药区(31);在无机盐类储药区的上部设有生物处理区(32),该生物处理区内设有高效降解微生物固体填料(33)和观察窗(19);所述的无机盐类储药区通过无机盐类加药装置(34)与生物处理区连通;所述生物处理区的顶部还设有高效过滤层(17);所述生物处理单元的进水管道(7)、进气管道(8)均连接至生物处理区;所述排水管道(9)布于高效过滤层之上;所述出水口(100)与排水管道连通,在出水口处还设有COD在线监测仪(18)。
5.根据权利要求1所述的污水处理综合系统,其特征是:所述的吸附处理单元(4)为一体式集成单元,该单元内设有吸附处理区(41),吸附处理区内设置可拆卸的高效过滤柱(42)、观察窗(19)和换料门(43),吸附处理区的顶部还设有高效过滤层(17);所述吸附处理单元的进水管道(7)进气管道(8)均连接至吸附处理区;所述排水管道(9)布于高效过滤层之上;所述出水口(100)与排水管道连通,在出水口处还设有COD在线监测仪(18)。
说明书
一种污水处理综合系统
技术领域
本实用新型涉及一种国产农村野外A片性视频,具体是一种污水处理综合系统。
背景技术
在采油采气的工业过程中会产生大量的有机废水,而有机废水中的含油量大,一直是废水处理中的重点和难点,在废水处理中常以COD值为主要指标评价其处理效果的好坏,经过多年的发展,目前得到了良好的进展,关于废水的处理已经达到一个相当的水平。
目前,污水处理一般包括絮凝、氧化、生物、吸附等工艺工序,现有各工序的处理设备的种类繁多,一整套完整的处理设备的结构复杂,总体占地面积大,而且不能以最简单的方法实现在一个系统组合中多种处理工艺的选择搭配使用,大多数设备都是利用多个容器临时拼凑而成,增加了占地面积不说,并且为管理带来很大难度;对于综合型的国产农村野外A片性视频的能耗较大,运行费用较高,且各工序的使用也不灵活。
发明内容
本实用新型的目的是针对背景技术中的缺陷,提供了一种污水处理综合系统,该综合系统集成了多个一体式的处理单元,可实现每个单元单独或串联使用的任意组合,操作简单、实用,占地面积小。
为了解决上述技术问题,本实用新型所采用的技术方案是:一种污水处理综合系统,包括四个处理单元,分别是絮凝处理单元、高级氧化处理单元、生物处理单元和吸附处理单元,其特征在于,还包括带支架的转盘,该转盘上设有转盘中心轴;按照絮凝处理单元、高级氧化处理单元、生物处理单元和吸附处理单元的顺序,逆时针首尾相接固定在以转盘中心轴为圆心的圆周上;每个处理单元均设有单独的进水管道、进气管道、排水管道、排气管道、出水口和出气口;每个处理单元的排水管道通过四通阀门分别与下个处理单元的进水管道、排水管道连接,每个处理单元的排气管道通过四通阀门分别与下个处理单元的进气管道、排气管道连接;每个处理单元上的出水口和出气口分别通过四通阀门与其下方的任一处理单元连接;每个处理单元的进水管道和进气管道上分别设有阀门。
上述的絮凝处理单元为一体式集成单元,所述絮凝处理单元从下往上依次设为絮凝储药区、絮凝反应区和絮凝沉淀区,其中絮凝储药区通过絮凝加药装置连接絮凝反应区;在絮凝反应区和絮凝沉淀区之间还设有斜沉板;所述絮凝沉淀区底部设排污口,其顶部还设有高效过滤层;所述絮凝处理单元的进水管道、进气管道均连接至絮凝反应区;所述排水管道布于高效过滤层上,并与絮凝沉淀区连接;所述出水口与排水管道连通,在出水口处还设有COD在线监测仪。进一步优选的是,在所述絮凝反应区和絮凝沉淀区内均设有观察窗。
上述高级氧化处理单元为一体式集成单元,该单元从下往上依次分为氧化储药区、氧化反应区和氧化沉淀区,其中氧化储药区分隔成PH调节剂储药区、催化剂储药区、氧化剂储药区,各储药区分别通过PH加药装置、催化剂加药装置、氧化剂加药装置连接至氧化反应区;在氧化反应区和氧化沉淀区之间还设有斜沉板;氧化沉淀区底部设排污口,其顶部还设有高效过滤层;所述高级氧化处理单元的进水管道、进气管道均连接至氧化反应区;所述排水管道布于高效过滤层上,并与氧化沉淀区连接;所述出水口与排水管道连通,在出水口处还设有COD在线监测仪。进一步的设计是,在所述的氧化反应区和氧化沉淀区内均设有PH在线监测系统、观察窗。
上述的生物处理单元为一体式集成单元,在该单元的最底端设有无机盐类储药区;在无机盐类储药区的上部设有生物处理区,该生物处理区内设有高效降解微生物固体填料和观察窗;所述的无机盐类储药区通过无机盐类加药装置与生物处理区连通;所述生物处理区的顶部还设有高效过滤层;所述生物处理单元的进水管道、进气管道均连接至生物处理区;所述排水管道布于高效过滤层之上;所述出水口与排水管道连通,在出水口处还设有COD在线监测仪。
上述的吸附处理单元为一体式集成单元,该单元内设有吸附处理区,吸附处理区内设置可拆卸的高效过滤柱、观察窗和换料门,吸附处理区的顶部还设有高效过滤层;所述吸附处理单元的进水管道、进气管道均连接至吸附处理区;所述排水管道布于高效过滤层之上;所述出水口与排水管道连通,在出水口处还设有COD在线监测仪。
本实用新型的有益效果是:该系统采用旋转结构,可以根据不同污水的污染特性、处理要求,将任意一个处理单元作为污水处理的前端,并且不需要拆卸和添加装置只通过阀门的开合控制,可对剩下的处理单元进行逆时针方向的任意选择性组合;该系统可以选用聚氯乙烯等材料制成,造价成本低,并且占地面积小,能耗低,空气利用率高,只要选择了其中某一种工艺组合,污水处理效果明显,可实现连续性处理,出水稳定,特别适合山区钻井采油采气废水的处理。







