申请日2014.10.16
公开(公告)日2015.03.25
IPC分类号C02F1/40; F16L41/02
摘要
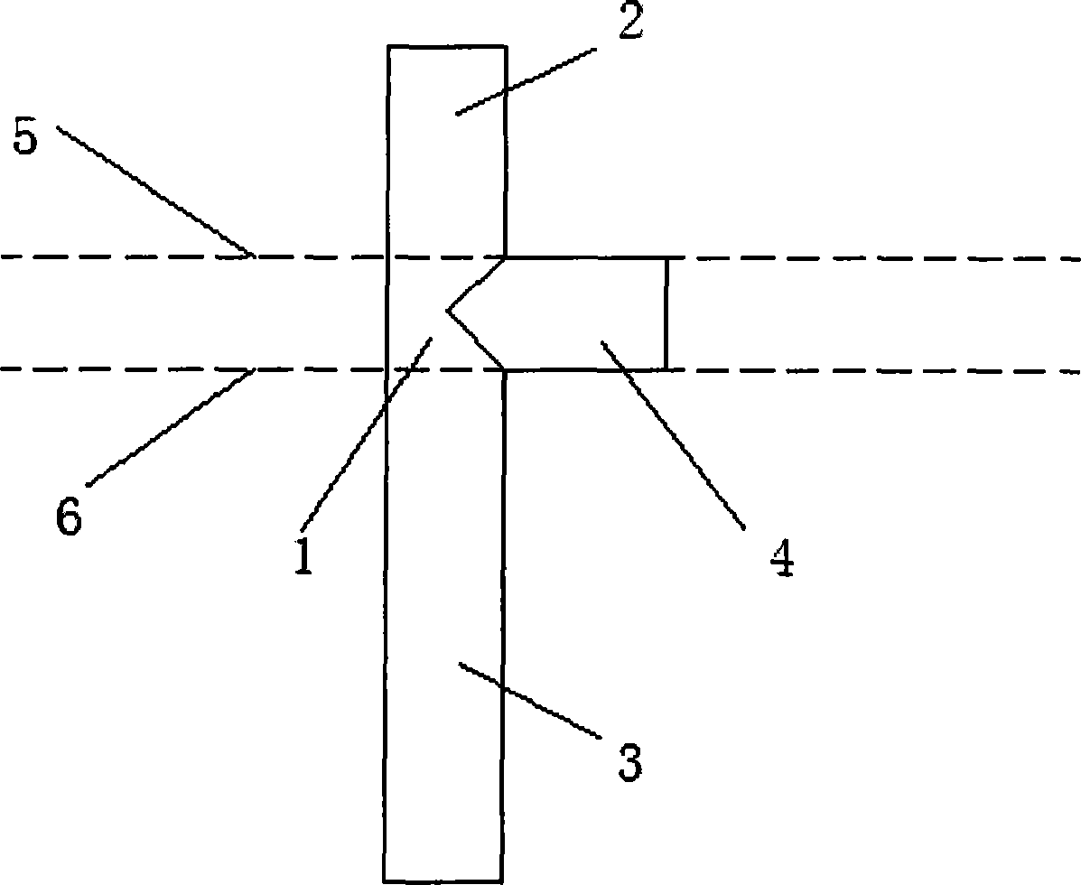
本实用新型公开了一种餐饮含油废水排放油水分离三通管,包括三通管本体、上支管、下支管和水平支管,所述三通管本体上设置有上支管、下支管、水平支管,所述上支管、下支管、水平支管外包裹有过滤网,所述过滤网两端设有固定框,所述固定框为空心立方体,所述两固定框通过两固定条相连,所述固定条通过一弧形挡片相连,所述三通管本体设置在隔油箱内,且水平支管顶部与隔油箱上水位线齐平,水平支管的底部与隔油箱下水位线齐平。本实用新型能大大减少水中的含油量,同时清理方便,可循环使用,使排到市政管网的水质达到排入城镇下水道水质标准。
权利要求书
1.餐饮含油废水排放油水分离三通管,其特征在于,包括三通管本 体(1)、上支管(2)、下支管(3)和水平支管(4),其特征在于,所述 三通管本体(1)上设置有上支管(2)、下支管(3)、水平支管(4),所 述上支管(2)、下支管(3)、水平支管(4)外包裹有过滤网(8),所述 过滤网(8)两端设有固定框(7),所述固定框(7)为空心立方体,所 述两固定框(7)通过两固定条(9)相连,所述固定条(9)通过一弧形 挡片(10)相连,所述三通管本体(1)设置在隔油箱内,且水平支管(4) 顶部与隔油箱上水位线(5)齐平,水平支管(4)的底部与隔油箱下水 位线(6)齐平。
2.根据权利要求1所述的餐饮含油废水排放油水分离三通管,其特 征在于,所述的固定框(7)与所述过滤网(8)一体成型。
3.根据权利要求1所述的餐饮含油废水排放油水分离三通管,其特 征在于,所述的两固定条(9)与所述弧形挡片(10)一体成型。
说明书
餐饮含油废水排放油水分离三通管
技术领域
本实用新型涉及的是一种三通管,具体涉及一种餐饮含油废水排放 油水分离三通管。
背景技术
一般餐饮企业会将废水经过油水分离器进行分离,但是普通隔板方 式油水分离器往往在水中会掺杂一些油,导致排放到市政管网的污水中 含油量高,难以处理,污染环境。
实用新型内容
针对现有技术上存在的不足,本实用新型目的是在于提供一种餐饮 含油废水排放油水分离三通管,能大大减少水中的含油量,使排到市政 管网的水质达到排入城镇下水道水质标准。
为了实现上述目的,本实用新型是通过如下的技术方案来实现:餐 饮含油废水排放油水分离三通管,包括三通管本体、上支管、下支管和 水平支管,所述三通管本体上设置有上支管、下支管、水平支管,所述 上支管、下支管、水平支管外包裹有过滤网,所述过滤网两端设有固定 框,所述固定框为空心立方体,所述两固定框通过两固定条相连,所述 固定条通过一弧形挡片相连,所述三通管本体设置在隔油箱内,且水平 支管顶部与隔油箱上水位线齐平,水平支管的底部与隔油箱下水位线齐 平。
作为优选,所述的固定框与所述过滤网一体成型。
作为优选,所述的两固定条与所述弧形挡片一体成型。
本实用新型能大大减少水中的含油量,同时清理方便,可循环使用, 从而排到市政管网的水质达到排入城镇下水道水质标准。







