申请日2014.10.15
公开(公告)日2015.03.11
IPC分类号C02F1/52; B01D21/02
摘要
本实用新型公开了一种具有可移动式柔性水下导流墙的污水预处理池,包括长方形污水预处理池,该污水预处理池内设置有第一导流墙和第二导流墙,该第一导流墙设置在进水口的一侧,该第二导流墙设置在出水口的一侧,第一导流墙和第二导流墙都具有使水流速度减慢,使水中携带的泥沙颗粒物有足够的沉降时间。本实用新型具有建造工艺简单、建设周期短、更换方便、便于维修,将有效的沉淀沉沙。
权利要求书
1.一种具有可移动式柔性水下导流墙的污水预处理池,其特征在于包括长方形污水预处理池,该污水预处理池内设置有第一导流墙和第二导流墙,该第一导流墙设置在进水口的一侧,该第二导流墙设置在出水口的一侧,第一导流墙和第二导流墙都具有使水流速度减慢,使水中携带的泥沙颗粒物有足够的沉降时间;
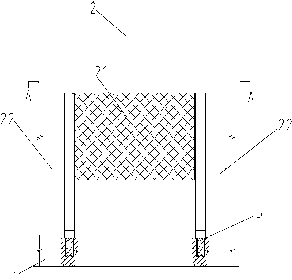
其中,该第一导流墙为柔性导流墙,该第一导流墙包括砼导流墙、地梁以及橡胶导流墙,其中,所述砼导流墙底部与地梁固定连接,所述砼导流墙之间通过橡胶导流墙连接,所述砼导流墙与所述地梁均为预制结构,所述砼导流墙与所述地梁连接成一体结构后沉放到水中。
2.根据权利要求1所述的具有可移动式柔性水下导流墙的污水预处理池,其特征在于,所述第二导流墙包括砼导流墙和地梁,所述砼导流墙底部与地梁固定连接。
3.根据权利要求1所述的具有可移动式柔性水下导流墙的污水预处理池,其特征在于,所述第一导流墙和所述第二导流墙长度均大于污水预处理池的长度的2/3。
4.根据权利要求1所述的具有可移动式柔性水下导流墙的污水预处理池,其特征在于,所述第一导流墙的砼导流墙与橡胶导流墙之间可拆卸连接。
5.根据权利要求1所述的具有可移动式柔性水下导流墙的污水预处理池,其特征在于,所述砼导流墙和所述地梁均采用C25混凝土预制。
6.根据权利要求1所述的具有可移动式柔性水下导流墙的污水预处理池,其特征在于,所述砼导流墙柱脚与所述地梁之间焊接连接。
7.根据权利要求1所述的具有可移动式柔性水下导流墙的污水预处理池,其特征在于,所述第一导流墙中的砼导流墙之间的的距离为1-2m。
8.根据权利要求1所述的具有可移动式柔性水下导流墙的污水预处理池,其特征在于,所述橡胶导流墙包括两层柔性铁丝网和橡胶垫,所述两层柔性铁丝网将橡胶垫加持固定。
说明书
一种具有可移动式柔性水下导流墙的污水预处理池
技术领域
本实用新型涉及一种导流墙,尤其是涉及一种具有可移动式柔性水下导流墙的污水预处理池。
背景技术
目前,采用江河湖泊等地表水为水源的污水处理池,为了避免污水处理进行粗处理,首先避免污水处理池内产生死水区,避免污水池内导致藻类繁殖水质变坏;其次,污水处理池中需要对流入污水处理池内的泥沙进行除去,需要依靠导流墙实现该功能,若没有导流墙,水流走的路径太短,尘沙不会充分沉淀,若设置导流墙会使流水的路径较长,从而使水中的沉沙充分沉淀,目前使用的导流墙都是实体不可移动的导流墙,造价高,施工难度大,使用寿命短,维修率频率高,而且都是实体导流墙,导流墙不能发挥作用,沉降的尘沙,后期由于导流墙固定在污水池内,不能移动,因此,不容易对导流墙进行移动,除去沉降的泥沙。
实用新型内容
本实用新型的目的是提供一种具有可移动式柔性水下导流墙的污水处理池,使其具有建造工艺简单、建设周期短、更换方便、便于维修,将有效的沉淀沉沙,有效防止在水池中产生死水区的优点。
为解决上述技术问题,本实用新型一种具有可移动式柔性水下导流墙的污水预处理池,包括长方形污水预处理池,该污水预处理池内设置有第一导流墙和第二导流墙,该第一导流墙设置在进水口的一侧,该第二导流墙设置在出水口的一侧,第一导流墙和第二导流墙都具有使水流速度减慢,使水中携带的泥沙颗粒物有足够的沉降时间;
其中,该第一导流墙为柔性导流墙,该第一导流墙包括砼导流墙、地梁以及橡胶导流墙,其中,所述砼导流墙底部与地梁固定连接,所述砼导流墙之间通过橡胶导流墙连接,所述砼导流墙与所述地梁均为预制结构,所述砼导流墙与所述地梁连接成一体结构后沉放到水中。
所述第二导流墙包括砼导流墙和地梁,所述砼导流墙底部与地梁固定连接。
所述第一导流墙和所述第二导流墙长度均大于污水预处理池的长度的2/3。
所述第一导流墙的砼导流墙与橡胶导流墙之间可拆卸连接。
所述砼导流墙和所述地梁均采用C25混凝土预制。
所述砼导流墙柱脚与所述地梁之间焊接连接。
所述第一导流墙中的砼导流墙之间的的距离为1-2m.
所述橡胶导流墙包括两层柔性铁丝网和橡胶垫,所述两层柔性铁丝网将橡胶垫加持固定。
本实用新型具有可移动式柔性水下导流墙的污水预处理池具有施工工艺较简单,建设周期短,可适用于水下地形平缓的不同水深,投资较低,更换方便,便于维修等特点,可移动性好,其中实用的导流墙可移动性好,该污水预处理池可随时将导流墙拆卸后,方便将预处理池中的污泥除去。
下面通过附图和实施例,对本实用新型的技术方案做进一步的详细描述。







