公开(公告)日2015.01.14
IPC分类号C02F1/56; C02F1/52
摘要
本发明公开一种隧道施工排水处理方法及其处理装置,处理装置包括真空引水器、提升泵、管式混合器以及排水处理单元;所述处理方法包括(a)在施工场地建调节池、排泥排水收集池和监督池,开启真空引水器、提升泵,将污水抽至管式混合器后,再进入排水处理单元;(b)分别向药液溶解箱内加入凝聚剂和絮凝剂,药液经计量泵称重后与污水在管式混合器内混合;(c)污水通过排水处理单元后排出,进入监督池,监督池出水经检测后,合格出水排放,不合格出水重新进入调节池;(d)沉淀流入排泥排水收集池,静置分层后,上层清液流入调节池,沉底泥渣进行清淘填埋;本发明自动化程度高,操作简便,出水质量稳定。
权利要求书
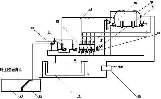
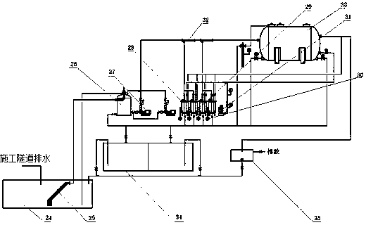
1.一种隧道施工排水处理装置,其特征在于,所述隧道施工排水处理装置包括依次通过管道连接的真空引水器、提升泵、管式混合器以及排水处理单元;
所述管式混合器通过管道连接有药液投加单元,所述药液投加单元包括罗茨风机和若干连有计量泵的药液溶解箱;
所述排水处理单元为卧式槽罐,槽罐一端设有与管式混合器相连的进水堰,另一端设有出水堰;槽罐内通过两个竖直分区隔板分隔为絮凝区、沉淀区和过滤区;所述絮凝区设有若干隔板和翼片隔板,隔板将絮凝区分隔为连通的第一絮凝室、第二絮凝室和第三絮凝室;所述沉淀区设有六角蜂窝斜管,六角蜂窝斜管底端与第三絮凝室相连,顶端通过沉淀出水管进水口与过滤区相连;所述过滤区设有位于出水堰下方的滤室孔板,滤室孔板上设有排水帽,沉淀出水管出水口位于滤室孔板下方,位于滤室孔板上方的滤后水由出水堰排出;排水处理单元底部设有排泥管,用于收集絮凝区、沉淀区产生的沉淀,过滤区底部设有过滤反洗排水管,过滤反洗排水管一端与排泥管相连,另一端通向槽罐外,过滤反洗排水管上设有反洗排水阀。
2.根据权利要求1所述隧道施工排水处理装置,其特征在于,所述真空引水器前端设置有斜板除砂器。
3.根据权利要求2所述隧道施工排水处理装置,其特征在于,所述翼片隔板与水流方向呈45°夹角。
4.根据权利要求3所述隧道施工排水处理装置,其特征在于,所述滤室孔板上设有EPS发泡塑料滤珠。
5.根据权利要求4所述隧道施工排水处理装置,其特征在于,所述罗茨风机、计量泵、药液溶解箱、真空引水器和提升泵共用一橇装式机座。
6.根据权利要求5所述隧道施工排水处理装置,其特征在于,所述第一絮凝室、第二絮凝室和第三絮凝室容积比为1:2:4。
7.一种采用如权利要求1-6之一所述隧道施工排水处理装置进行隧道施工排水处理的方法,其特征在于,包括以下步骤:
(a)在施工场地建调节池、排泥排水收集池和监督池,调节池用于收集隧道施工排放的污水,开启真空引水器和提升泵,通过管道将污水由调节池依次引入管式混合器和排水处理单元;
(b)分别向药液溶解箱内加入凝聚剂和絮凝剂,开启计量泵和罗茨风机,利用压缩空气搅拌溶药,药液经计量泵称重后与污水在管式混合器内混合;
(c)与药液混合后的污水由进水堰流入排水处理单元,依次通过第一絮凝室、第二絮凝室和第三絮凝室后经六角蜂窝斜管沉淀后进入过滤区,经滤室孔板过滤后由出水堰排出,出水流入监督池,监督池内出水经检测后,合格出水排放,不合格出水重新引入调节池;
(d)打开反洗排水阀,滤室孔板上方的滤后水垂直通过滤室孔板后与排泥管内的沉淀一起经过滤反洗排水管流入排泥排水收集池,于排泥排水收集池静置分层后,上层清液流入调节池,沉底泥渣进行清淘填埋。
8.根据权利要求7所述隧道施工排水处理装置进行隧道施工排水处理的方法,其特征在于,步骤c中六角蜂窝斜管沉淀出水流速为1.3mm/s。
9.根据权利要求8所述隧道施工排水处理装置进行隧道施工排水处理的方法,其特征在于,步骤b所述凝聚剂为聚合双酸铁铝,投加量为7-12 g/t,所述絮凝剂为聚丙烯酰胺,投加量为1-3 mg/L。
10.根据权利要求9所述隧道施工排水处理装置进行隧道施工排水处理的方法,其特征在于,步骤c还包括向监督池投放Ca(ClO)2,投放浓度为1.5mg/L。
说明书
一种隧道施工排水处理方法及其处理装置
技术领域
本发明涉及工业污水排放领域,特别是一种隧道施工排水处理方法及其处理装置。
背景技术
随着经济发展和日常交通的需要,隧道建设相应急剧增多。隧道工程大多位于山区丘陵地带,有些甚至处于饮用水源地或水源涵养区,在施工过程中会产生大量的施工排水,倘若不对施工排水进行处理,任其排放,将会造成山区水环境污染,隧道施工过程中的排水来源主要有以下几种:隧道穿越不良地质单元时,产生的涌水;施工设备,如钻机等产生的污水;隧道爆破后及扒渣时用于降尘的污水;喷射混凝土和注浆产生的污水以及基岩裂隙水等。隧道施工排水中,大量岩石粉尘等悬浮杂质进入水中,在排出过程中,部分水中溶解性杂质被氧化、析出,化学性质有所改变,隧道施工时的渗出水本质上属地下水,另外由于受到钻机、喷射混凝土和注浆及其它人为产生的污染,又具有地表水的特点;主要污染物为悬浮物,石油类及硝基苯类等构成的有机物。隧道施工排水如不加处理直接排放,既会污染周围环境,又会对受纳水体造成理化、生态、景观等危害。
目前隧道施工所产生的排水一般采用泥浆沉淀池进行沉淀处理后,上清液外排,污泥则作干化处理,此处理技术过于简单,其工艺参数设计不合理,排水停留时间短、容积偏小,其次,由于隧道排水来水量波动较大,故沉淀池占地面积大,反应速度慢,出水水质不稳定,无法保证达标排放。
发明内容
为解决上述问题,提供一种隧道施工排水处理方法及处理装置,该处理装置占地少、安装快捷、使用方便,出水达标,本发明是这样实现的:
一种隧道施工排水处理装置,包括依次通过管道连接的真空引水器、提升泵、管式混合器以及排水处理单元;所述管式混合器通过管道连接有药液投加单元,所述药液投加单元包括罗茨风机和若干连有计量泵的药液溶解箱;所述排水处理单元为卧式槽罐,槽罐一端设有与管式混合器相连的进水堰,另一端设有出水堰;槽罐内通过两个竖直分区隔板分隔为絮凝区、沉淀区和过滤区;所述絮凝区设有若干隔板和翼片隔板,隔板将絮凝区分隔为连通的第一絮凝室、第二絮凝室和第三絮凝室;所述沉淀区设有六角蜂窝斜管,六角蜂窝斜管底端与第三絮凝室相连,顶端通过沉淀出水管进水口与过滤区相连;所述过滤区设有位于出水堰下方的滤室孔板,滤室孔板上设有排水帽,沉淀出水管出水口位于滤室孔板下方,位于滤室孔板上方的滤后水由出水堰排出;排水处理单元底部设有排泥管,用于收集絮凝区、沉淀区产生的沉淀,过滤区底部设有过滤反洗排水管,过滤反洗排水管一端与排泥管相连,另一端通向槽罐外,过滤反洗排水管上设有反洗排水阀。
优选的,本发明中,所述真空引水器前端设置有斜板除砂器。
优选的,本发明中,所述翼片隔板与水流方向呈45°夹角。
优选的,本发明中,所述滤室孔板上设有EPS发泡塑料滤珠。
优选的,本发明中,所述罗茨风机、计量泵、药液溶解箱、真空引水器和提升泵共用一橇装式机座。
优选的,本发明中,所述第一絮凝室、第二絮凝室和第三絮凝室容积比为1:2:4。
一种采用如本发明所述隧道施工排水处理装置进行隧道施工排水处理的方法,包括以下步骤:
(a)在施工场地建调节池、排泥排水收集池和监督池,调节池用于收集隧道施工排放的污水,开启真空引水器和提升泵,通过管道将污水由调节池依次引入管式混合器和排水处理单元;
(b)分别向药液溶解箱内加入凝聚剂和絮凝剂,开启计量泵和罗茨风机,利用压缩空气搅拌溶药,药液经计量泵称重后与污水在管式混合器内混合;
(c)与药液混合后的污水由进水堰流入排水处理单元,依次通过第一絮凝室、第二絮凝室和第三絮凝室后经六角蜂窝斜管沉淀后进入过滤区,经滤室孔板过滤后由出水堰排出,出水流入监督池,监督池内出水经检测后,合格出水排放,不合格出水重新引入调节池;
(d)打开反洗排水阀,滤室孔板上方的滤后水垂直通过滤室孔板后与排泥管内的沉淀一起经过滤反洗排水管流入排泥排水收集池,于排泥排水收集池静置分层后,上层清液流入调节池,沉底泥渣进行清淘填埋。
优选的,本发明所述隧道施工排水处理装置进行隧道施工排水处理的方法中,步骤c六角蜂窝斜管沉淀出水流速为1.3mm/s。
优选的,本发明所述隧道施工排水处理装置进行隧道施工排水处理的方法中,步骤b所述凝聚剂为聚合双酸铁铝,投加量为7-12 g/t,所述絮凝剂为聚丙烯酰胺,投加量为1-3 mg/L。
优选的,本发明所述隧道施工排水处理装置进行隧道施工排水处理的方法中,步骤c还包括向监督池投放Ca(ClO)2,投放浓度为1.5mg/L。
隧道施工排水主要污染物为岩屑、粉尘类悬浮物(SS)和油类,废水中营养物质和好氧物质含量低,对其中污染物采用除悬浮物降低浊度的物化净水方法,可取得较好的效果。构成水中浊度的细小悬浮颗粒以无机和有机胶体为主,不易下沉的原因是颗粒在水中不停地作布朗运动时,由于杂质颗粒表面形成的同性电荷相互排斥,不能相互吸引、增大增重而下沉,导至水中杂质不易去除,不能满足排放(或使用)要求,本发明利用向水中投加凝聚剂,中和水中杂质颗粒的表面电荷,使水中不易下沉的细小悬浮物、色度、有机物通过混凝反应聚并成颗粒较大的矾花,絮凝剂能对水中微细颗粒和矾花进行罗捕、架桥,促使悬浮颗粒增大、增重,形成容易下沉的矾花,然后利用沉降距离愈短,沉降时间愈少的浅层沉淀原理,通过后续有高效沉淀效果的斜管沉淀池使水中聚并成大颗粒矾花的杂质下沉,与水分离而使水质得到净化,沉淀出水中仍有少量细小颗粒杂质,再采用EPS发泡塑料滤珠上向流过滤,进一步去除水中悬浮物,实现较彻底的清除,处理后SS满足出水水质控制指标。
本发明隧道施工排水综合处理装置所有设备单元加工制作均在厂内完成,至现场各设备单元组合安装在同一撬装机座上就位后即可投入调试运行。整个制作过程可控性高,质量精度得以保证,生产效率得以提高,从而减少了现场施工工序,降低了材料消耗,直接降低了设备成本;由于其自动化程度高,故操作简便,节省大量人工操作,同时由于本高效组合式隧道施工排水综合处理装置的高效性,大大缩小了占地面积,提高了处理效果。







