申请日2014.10.15
公开(公告)日2015.01.28
IPC分类号C02F9/04
摘要
本实用新型提供一种低温低浊水处理装置,包括主池体,及池体内顺序连接的泥水回流区、混凝反应区、气浮接触区、浮沉区、清水区及出水区;所述浮沉区包括上方浮渣区、下方泥水区、和设置于内部的侧向斜板;所述泥水区内设排泥斗及排泥管,浮渣区内设撇油撇渣机和配套的排渣槽。本实用新型将低温低浊水处理工艺与高藻类、高浊度水处理工艺相结合,通过应用气浮、沉淀工艺处理,可保证出水水质。气浮工艺运行时,对水中的藻类、色度等也具有很好的去除效果。
权利要求书
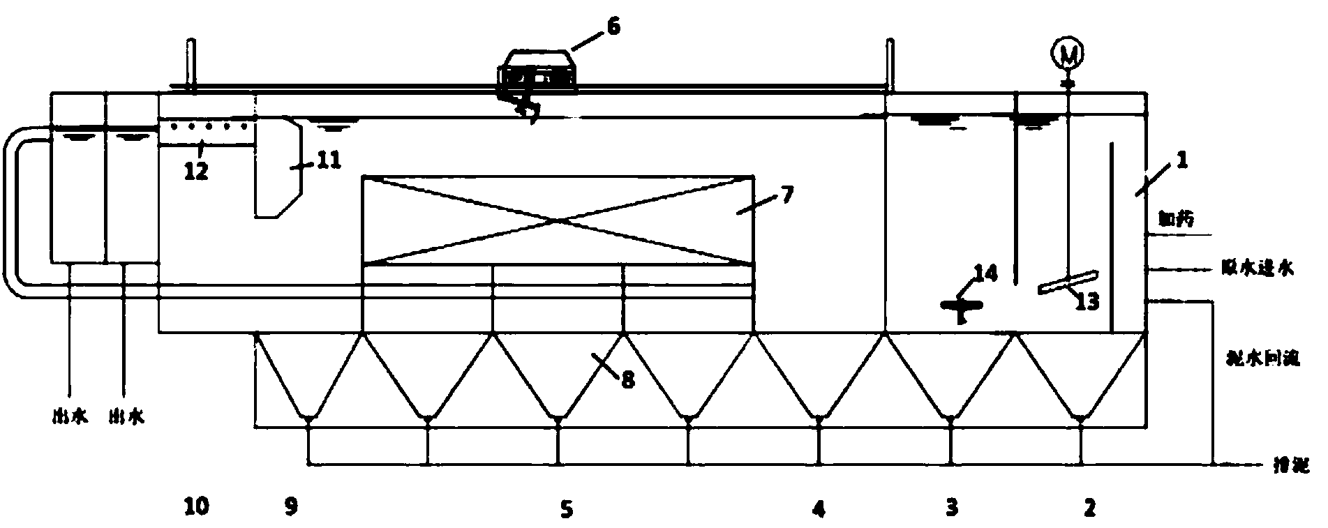
1.一种低温低浊水处理装置,其特征在于:包括主池体,及池体内顺序连接的泥水回流 区(1)、混凝反应区(2)、气浮接触区(3)、浮沉区(5)、清水区(10)及出水区;所述浮 沉区(5)包括上方浮渣区(6)、下方泥水区(8)、和设置于内部的侧向斜板(7);所述泥水 区(8)内设排泥斗及排泥管,浮渣区(6)内设撇油撇渣机和配套的排渣槽(11)。
2.根据权利要求1所述的一种低温低浊水处理装置,其特征在于:所述气浮接触区(3) 和浮沉区(5)之间设置有布水稳流区(4)。
3.根据权利要求1所述的一种低温低浊水处理装置,其特征在于:所述浮沉区(5)和 清水区(10)之间设置有出水稳流区(9)。
4.根据权利要求1所述的一种低温低浊水处理装置,其特征在于:所述混凝反应区(2) 内设置有混合搅拌槽,槽内设置混合搅拌机(13)。
5.根据权利要求1所述的一种低温低浊水处理装置,其特征在于:所述气浮接触区(3) 内设置有溶气释放器(14)。
6.根据权利要求1所述的一种低温低浊水处理装置,其特征在于:所述侧向斜板(7) 的倾角为50°-70°。
7.根据权利要求1所述的一种低温低浊水处理装置,其特征在于:所述清水区(10)内 部设置有穿孔集水管,上设溢流集水槽(12)。
8.根据权利要求1所述的一种低温低浊水处理装置,其特征在于:所述泥水回流区(1)、 混凝反应区(2)、气浮接触区(3)、浮沉区(5)、清水区(10)及出水区为一体化设计。
9.根据权利要求1所述的一种低温低浊水处理装置,其特征在于:所述浮渣区(6)内 设置的撇油撇渣机和配套的排渣槽(11)高度可调。
说明书
一种低温低浊水处理装置
技术领域
本实用新型涉及低浊水处理领域,具体涉及一种低温低浊水处理装置。
背景技术
我国北方地区的地表水体,其水质和水温受地理条件和季节性气候的影响变化很大。一 年中约有4~5个月的冬季时间,水体被冰盖封闭,此时江河水体的温度降低到0℃~1℃, 水库水体的温度降低到2℃~4℃;在寒冷的季节中,水体浊度也很低:江河水体一般在 5mg/L~30mg/L,水库水体一般在5mg/L~10mg/L,从而形成了北方地区地表水体的特点—低 温低浊度水质。而在融冰或夏季暴雨时节,水体浊度又会大幅上升,最高甚至可以达到上千 mg/L。此外,随着环境污染日益严重,水库的富营养化程度逐年加剧,水中的藻类大量繁殖, 增加了处理的难度。
目前国内针对此类水处理的设备和技术并不完善,传统的混凝、沉淀、过滤、消毒等处 理工艺已难以适应当前水源的水质变化,且随着人们生活水平的不断提高,对处理水质的要 求也越来越高,传统工艺已不能确保饮水安全。
传统处理工艺在处理北方地区低温低浊水及夏季高藻类及高浊度水时存在许多问题,主 要表现为:适应于低温低浊水处理的工艺不能达到高藻水及高浊度水的水处理要求,而传统 的处理高藻类及高浊度水的处理工艺又不能满足低温低浊水的处理要求,满足不了出水水质 的要求。
发明内容
针对现有技术存在的问题,本实用新型提供一种低温低浊水处理装置,将低温低浊水处 理工艺与高藻类、高浊度水处理工艺相结合,通过应用气浮、沉淀工艺处理,可保证出水水 质。气浮工艺运行时,对水中的藻类、色度等也具有很好的去除效果。
本实用新型的技术方案是:一种低温低浊水处理装置,包括主池体,及池体内顺序连接 的泥水回流区、混凝反应区、气浮接触区、浮沉区、清水区及出水区;所述浮沉区包括上方 浮渣区、下方泥水区、和设置于内部的侧向斜板;所述泥水区内设排泥斗及排泥管,浮渣区 内设撇油撇渣机和配套的排渣槽。
进一步的,所述气浮接触区和浮沉区之间设置有布水稳流区,保证进入浮沉区的水流稳 定,达到更好的撇渣除污效果。
进一步的,所述浮沉区和清水区之间设置有出水稳流区。保证出水稳定。
进一步的,所述混凝反应区内设置有混合搅拌槽,槽内设置混合搅拌机。机械搅拌,搅 拌电机转速变频可调。
进一步的,所述气浮接触区内设置有溶气释放器,可根据不同的水质调整气泡的大小及 调整溶气比。
进一步的,所述侧向斜板的倾角为50°-70°。沉淀效果好。
进一步的,所述清水区内部设置有穿孔集水管,上设溢流集水槽,进一步稳定出水。
进一步的,所述泥水回流区、混凝反应区、气浮接触区、浮沉区、清水区及出水区为一 体化设计,减少占地面积。
进一步的,所述浮渣区内设置的撇油撇渣机和配套的排渣槽高度可调。
本实用新型的有益效果是:将低温低浊水处理工艺与高藻类、高浊度水处理工艺相结合, 通过应用气浮、沉淀工艺处理,气浮运行状态时,通过浮渣区撇油撇渣,沉淀运行状态时, 通过侧向斜板和泥水区排除污泥,兼顾了气浮和沉淀的功能和优点,是一种实用性很强的新型 净水构筑物,该工艺既可用于沉淀池和气浮池改造,又可用于不同规模水厂的新建。
应用本装置处理水具有明显的处理效果,不但对水中的浊度有很好的去除效果,而且对水 中有机物的去除也有很好的作用,可保证后续出水有机物指标的合格率,因此在北方地区具有 推广和应用价值。可保证出水水质。







