公布日:2023.10.20
申请日:2023.07.14
分类号:C02F1/72(2023.01)I;C02F1/52(2023.01)I;C02F11/122(2019.01)I;C02F1/00(2023.01)N;C02F103/06(2006.01)N;C02F101/30(2006.01)N
摘要
本发明涉及地下水修复领域,尤其涉及一种芬顿反应型循环井系统,旨在缓解相关技术中Fe(OH)3沉淀堵塞循环井下部花孔和曝气头的技术问题。该芬顿反应型循环井系统包括循环井、循环井总成和沉淀处理总成;循环井总成包括外井管,外井管与循环井内壁之间围设形成污泥仓;沉淀处理总成包括潜污泵、抽泥管和污泥处理组件;其中,潜污泵设置于污泥仓底部;抽泥管的一端与潜污泵连接,另一端穿出至循环井外与污泥处理组件连接。采用该芬顿反应型循环井系统,可以将沉淀泵至井外,避免沉淀在井底的积累,从而实现对下部花孔和曝气头的保护,进而保证循环井循环效果以及对地下水的修复效果。

权利要求书
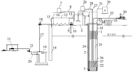
1.一种芬顿反应型循环井系统,其特征在于,包括:循环井、循环井总成和沉淀处理总成;所述循环井总成包括外井管(1),所述外井管(1)与所述循环井内壁之间围设形成污泥仓(2);所述沉淀处理总成包括潜污泵(3)、抽泥管(4)和污泥处理组件;其中,所述潜污泵(3)设置于所述污泥仓(2)底部;所述抽泥管(4)的一端与所述潜污泵(3)连接,另一端穿出至所述循环井外与所述污泥处理组件连接。
2.根据权利要求1所述的芬顿反应型循环井系统,其特征在于,所述污泥处理组件包括搅拌池(5)、搅拌桨(6)、PAC药箱(7)和第一加药管(8);所述抽泥管(4)与所述搅拌池(5)连通;所述搅拌桨(6)设置于所述搅拌池(5)内;所述第一加药管(8)的一端伸入于所述搅拌池(5)内,另一端穿出至所述搅拌池(5)外与所述PAC药箱(7)连通。
3.根据权利要求2所述的芬顿反应型循环井系统,其特征在于,所述污泥处理组件还包括第一污泥管(9)、第一污泥泵(10)和板框压滤机(11);所述第一污泥管(9)连接于所述搅拌池(5)与所述板框压滤机(11)之间,且所述第一污泥管(9)与所述搅拌池(5)连通的一端靠近所述搅拌池(5)的底部;所述第一污泥泵(10)设置于所述第一污泥管(9)。
4.根据权利要求3所述的芬顿反应型循环井系统,其特征在于,所述污泥处理组件还包括平流沉淀池(12)和第一上清液管(13);所述第一上清液管(13)的一端与所述搅拌池(5)连通,且靠近所述搅拌池(5)的顶部,另一端与所述平流沉淀池(12)连通。
5.根据权利要求4所述的芬顿反应型循环井系统,其特征在于,所述污泥处理组件还包括回流井(14)和第二上清液管(15);所述第二上清液管(15)的一端与所述平流沉淀池(12)连通,且靠近所述平流沉淀池(12)的顶部,另一端伸入于所述回流井(14);所述第二上清液管(15)上设有阀门(16)。
6.根据权利要求4所述的芬顿反应型循环井系统,其特征在于,所述污泥处理组件还包括第二污泥管(17)和第二污泥泵(18);所述第二污泥管(17)连接于所述平流沉淀池(12)与所述板框压滤机(11)之间,且所述第二污泥管(17)与所述平流沉淀池(12)连通的一端靠近所述平流沉淀池(12)的底部;所述第二污泥泵(18)设置于所述第二污泥管(17)。
7.根据权利要求6所述的芬顿反应型循环井系统,其特征在于,所述污泥处理组件还包括污泥池(19)、第三污泥管(20)和提升泵(21);所述第一污泥管(9)和所述第二污泥管(17)均与所述污泥池(19)连通;所述第三污泥管(20)的一端与所述污泥池(19)连通,另一端连接于所述板框压滤机(11);所述提升泵(21)设置于所述第三污泥管(20)。8.根据权利要求1所述的芬顿反应型循环井系统,其特征在于,沿所述循环井的纵向,所述循环井的侧壁凹陷形成过流槽,所述过流槽的槽面与所述外井管(1)的外侧壁之间围设形成所述污泥仓(2);所述沉淀处理总成还包括推流板(22)和驱动组件;所述推流板(22)设置于所述外井管(1)内,并处于所述外井管(1)的底部,且正对于所述污泥仓(2);所述驱动组件与所述推流板(22)传动连接,以驱动所述推流板(22)向靠近或远离所述污泥仓(2)的方向移动。
9.根据权利要求1所述的芬顿反应型循环井系统,其特征在于,所述循环井总成还包括法兰(23),所述法兰(23)设置于所述循环井的井口;所述法兰(23)上设有吊绳(24),所述吊绳(24)的垂落端与所述潜污泵(3)连接。
10.根据权利要求1至9任一项所述的芬顿反应型循环井系统,其特征在于,所述循环井总成还包括内井管(25),所述内井管(25)设置于所述外井管(1)内;所述芬顿反应型循环井系统还包括加药总成,所述加药总成包括芬顿加药箱(26)、第二加药管(27)和加药泵(28);其中,所述第二加药管(27)的一端伸入于所述内井管(25)内,另一端穿出至所述循环井外与所述芬顿加药箱(26)连通;所述加药泵(28)设置于所述第二加药管(27)。
发明内容
本发明的目的在于提供一种芬顿反应型循环井系统,以缓解相关技术中Fe(OH)3沉淀堵塞循环井下部花孔和曝气头的技术问题。
为了解决上述技术问题,本发明提供的技术方案在于:
本发明提供的芬顿反应型循环井系统,包括:循环井、循环井总成和沉淀处理总成;
所述循环井总成包括外井管,所述外井管与所述循环井内壁之间围设形成污泥仓;
所述沉淀处理总成包括潜污泵、抽泥管和污泥处理组件;
其中,所述潜污泵设置于所述污泥仓底部;
所述抽泥管的一端与所述潜污泵连接,另一端穿出至所述循环井外与所述污泥处理组件连接。
进一步的,所述污泥处理组件包括搅拌池、搅拌桨、PAC药箱和第一加药管;
所述抽泥管与所述搅拌池连通;
所述搅拌桨设置于所述搅拌池内;
所述第一加药管的一端伸入于所述搅拌池内,另一端穿出至所述搅拌池外与所述PAC药箱连通。
进一步的,所述污泥处理组件还包括第一污泥管、第一污泥泵和板框压滤机;
所述第一污泥管连接于所述搅拌池与所述板框压滤机之间,且所述第一污泥管与所述搅拌池连通的一端靠近所述搅拌池的底部;
所述第一污泥泵设置于所述第一污泥管。
进一步的,所述污泥处理组件还包括平流沉淀池和第一上清液管;
所述第一上清液管的一端与所述搅拌池连通,且靠近所述搅拌池的顶部,另一端与所述平流沉淀池连通。
进一步的,所述污泥处理组件还包括回流井和第二上清液管;
所述第二上清液管的一端与所述平流沉淀池连通,且靠近所述平流沉淀池的顶部,另一端伸入于所述回流井;
所述第二上清液管上设有阀门。
进一步的,所述污泥处理组件还包括第二污泥管和第二污泥泵;
所述第二污泥管连接于所述平流沉淀池与所述板框压滤机之间,且所述第二污泥管与所述平流沉淀池连通的一端靠近所述平流沉淀池的底部;
所述第二污泥泵设置于所述第二污泥管。
进一步的,所述污泥处理组件还包括污泥池、第三污泥管和提升泵;
所述第一污泥管和所述第二污泥管均与所述污泥池连通;
所述第三污泥管的一端与所述污泥池连通,另一端连接于所述板框压滤机;
所述提升泵设置于所述第三污泥管。
进一步的,沿所述循环井的纵向,所述循环井的侧壁凹陷形成过流槽,所述过流槽的槽面与所述外井管的外侧壁之间围设形成所述污泥仓;
所述沉淀处理总成还包括推流板和驱动组件;
所述推流板设置于所述外井管内,并处于所述外井管的底部,且正对于所述污泥仓;
所述驱动组件与所述推流板传动连接,以驱动所述推流板向靠近或远离所述污泥仓的方向移动。
进一步的,所述循环井总成还包括法兰,所述法兰设置于所述循环井的井口;
所述法兰上设有吊绳,所述吊绳的垂落端与所述潜污泵连接。
进一步的,所述循环井总成还包括内井管,所述内井管设置于所述外井管内;
所述芬顿反应型循环井系统还包括加药总成,所述加药总成包括芬顿加药箱、第二加药管和加药泵;
其中,所述第二加药管的一端伸入于所述内井管内,另一端穿出至所述循环井外与所述芬顿加药箱连通;
所述加药泵设置于所述第二加药管。
综合上述技术方案,本发明提供的芬顿反应型循环井系统所能实现的技术效果在于:
本发明提供的芬顿反应型循环井系统包括循环井、循环井总成和沉淀处理总成;循环井总成包括外井管,外井管与循环井内壁之间围设形成污泥仓;沉淀处理总成包括潜污泵、抽泥管和污泥处理组件;其中,潜污泵设置于污泥仓底部;抽泥管的一端与潜污泵连接,另一端穿出至循环井外与污泥处理组件连接。
在该芬顿反应型循环井系统中,外井管与循环井内壁之间围设形成污泥仓,通过下部花孔,污泥仓与外井管连通;处于污泥仓底部的潜污泵可将相关沉淀通过抽泥管抽至循环井外,并由污泥处理组件对沉淀进行处理。由此可见,采用该芬顿反应型循环井系统,可以将沉淀泵至井外,避免沉淀在井底的积累,从而实现对下部花孔和曝气头的保护,进而保证循环井循环效果以及对地下水的修复效果。
(发明人:杜威;袁浩巍;陈日;屈智慧;于?;张胜东)






