公布日:2024.04.26
申请日:2024.03.04
分类号:C02F3/00(2023.01)I;C02F1/30(2023.01)I
摘要
本发明公开了一种生物净化与光催化联合污水处理装置,包括外水处理壳体和控制面板,所述外水处理壳体的内部形成有污水处理腔室,所述外水处理壳体的下方设置有底座,所述底座上侧设置有用于对外水处理壳体旋转支撑的滚轮支撑结构,所述底座上设置有用于对外水处理壳体在滚轮支撑结构支撑下旋转的旋转驱动组件;通过外水处理壳体、滚轮支撑结构、旋转驱动组件、生物净化填充结构和光催化管等之间彼此相互协同、相互配合,可以实现在对污水的螺旋推进过程中,实现对污水的生物进化和光催化一体化同时进行,大大节省了对污水的处理流程,提高了对污水的处理效率。

权利要求书
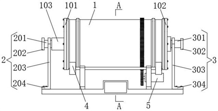
1.一种生物净化与光催化联合污水处理装置,其特征在于:包括外水处理壳体(1)和控制面板(10),所述外水处理壳体(1)的内部形成有污水处理腔室,所述外水处理壳体(1)的下方设置有底座(8),所述底座(8)上侧设置有用于对外水处理壳体(1)旋转支撑的滚轮支撑结构(4),所述底座(8)上设置有用于对外水处理壳体(1)在滚轮支撑结构(4)支撑下旋转的旋转驱动组件(5);所述外水处理壳体(1)沿其旋转轴线的两端分别设置有用于向污水处理腔室内排入污水的进水管道结构(2)和用于将污水处理腔室内污水排出的出水管道结构(3);位于进水管道结构(2)和出水管道结构(3)之间的所述污水处理腔室内分别设置有生物净化填充结构(6)和光催化管(7)。
2.根据权利要求1所述一种生物净化与光催化联合污水处理装置,其特征在于:所述外水处理壳体(1)的外形呈圆柱体形状,所述外水处理壳体(1)的内部中空且两端开口,所述外水处理壳体(1)的两端开口处分别密封连接有第一端盖(101)和第二端盖(102),所述第一端盖(101)和第二端盖(102)朝向污水处理腔室内部一侧边沿设置有密封挡水圈(104),密封挡水圈(104)的外形呈圆环状,所述密封挡水圈(104)的外侧边沿与外水处理壳体(1)的内侧壁彼此抵接,所述密封挡水圈(104)的横截面形状呈S型。
3.根据权利要求1所述一种生物净化与光催化联合污水处理装置,其特征在于:所述进水管道结构(2)包括污水排入管道(201),污水排入管道(201)的一端穿过第一端盖(101)延伸至污水处理腔室内,所述污水排入管道(201)的另一端设置有第一法兰盘(202),所述第一端盖(101)上固定设置有用于穿过污水排入管道(201)的外支撑套管(103),所述污水排入管道(201)通过轴承转动设置在外支撑套管(103)内,所述污水排入管道(201)上固定设置有第一管道固定支杆(203),所述第一管道固定支杆(203)的底端固定连接有第一安装座板(204),第一安装座板(204)通过螺栓固定设置在底座(8)上。
4.根据权利要求1所述一种生物净化与光催化联合污水处理装置,其特征在于:所述出水管道结构(3)包括污水排出管道(301),污水排出管道(301)的一端穿过第二端盖(102)延伸至污水处理腔室内,所述污水排出管道(301)的另一端设置有第二法兰盘(302),所述污水排入管道(201)通过轴承转动设置在第二端盖(102)上,所述污水排出管道(301)上固定设置有第二管道固定支杆(303),所述第二管道固定支杆(303)的底端固定连接有第二安装座板(304),第二安装座板(304)通过螺栓固定设置在底座(8)上,所述污水排出管道(301)内设置有用于将污水处理腔室底部水液排出的排水管道组件(9)。
5.根据权利要求1所述一种生物净化与光催化联合污水处理装置,其特征在于:所述排水管道组件(9)包括固定座(901),固定座(901)固定设置在污水排出管道(301)内,所述固定座(901)内固定设置有水泵(903),所述水泵(903)的进水口连接有抽水管道(905)的一端,抽水管道(905)的另一端延伸至污水处理腔室内部底面并开设有若干个吸水缺口(906),所述吸水缺口(906)的内侧轮廓形状呈U型,所述水泵(903)的出水口连接有出水管道(904),所述固定座(901)上贯穿开设有以水泵(903)为中心均匀分布的若干个通水孔道(902),所述控制面板(10)的输出端电连接至水泵(903)的输入端。
6.根据权利要求1所述一种生物净化与光催化联合污水处理装置,其特征在于:所述生物净化填充结构(6)包括生物填充层(601),所述生物填充层(601)的外形轮廓形状呈螺旋状,所述生物填充层(601)的外侧壁与外水处理壳体(1)的内侧壁彼此活动抵接,所述生物填充层(601)的内侧中心处设置有用于对其进行支撑的内隔离分隔筒(602),所述内隔离分隔筒(602)的外形呈圆筒状,所述内隔离分隔筒(602)的外侧壁上开设有以其中轴线为中心均匀分布的若干个通水槽(603)。
7.根据权利要求6所述一种生物净化与光催化联合污水处理装置,其特征在于:所述光催化管(7)均设置在内隔离分隔筒(602)内,且光催化管(7)设置有以内隔离分隔筒(602)中轴线为中心均匀分布的若干个,所述内隔离分隔筒(602)内中部位置固定设置有管固定支板(701),所述光催化管(7)均固定设置在管固定支板(701)上。
8.根据权利要求1所述一种生物净化与光催化联合污水处理装置,其特征在于:所述滚轮支撑结构(4)包括两个平行分布的支板(401),支板(401)固定设置在底座(8)上,两个支板(401)的上侧之间设置有平行分布的两个轮杆(403),两个轮杆(403)分别对称分布在外水处理壳体(1)中轴线的两侧,每个轮杆(403)的两端均转动设置有用于与外水处理壳体(1)底侧滚动抵接的支撑轮(402),外水处理壳体(1)的外侧壁上设置有用于与支撑轮(402)相配合的环形限位轮槽(404)。
9.根据权利要求8所述一种生物净化与光催化联合污水处理装置,其特征在于:所述旋转驱动组件(5)包括彼此配合啮合的齿圈(501)和齿轮(502),所述齿圈(501)固定套设在外水处理壳体(1)的外侧壁上,所述齿轮(502)的一端设置有电机(503),所述电机(503)的输出轴端与齿轮(502)的轴端彼此固定连接,所述电机(503)固定设置在支板(401)上,所述控制面板(10)的输出端电连接至电机(503)的输入端。
10.根据以上权利要求1-9任一项所述一种生物净化与光催化联合污水处理装置的生物净化与光催化联合污水处理方法,其特征在于:包括以下步骤:S1:污水从进水管道结构(2)进入到外水处理壳体(1)内的污水处理腔室内,由生物净化填充结构(6)对污水进行生物净化处理,由光催化管(7)对污水进行光催化净化处理;S2:在S1步骤中,旋转驱动组件(5)驱动外水处理壳体(1)在滚轮支撑结构(4)的支撑下旋转,在外水处理壳体(1)的旋转过程中,呈螺旋状的生物填充层(601)能够对污水沿着进水管道结构(2)至出水管道结构(3)的方向推进,并在推进过程中,污水充分与呈螺旋状的生物填充层(601)接触混合进行净化;S3:光催化管(7)在水液的流转过程中,即呈螺旋状的生物填充层(601)将水液向上拨动时,水液向下落下在光催化管(7)上,光催化管(7)能够实现与污水的充分接触;S4:由生物净化填充结构(6)和光催化管(7)配合实现对污水的联合处理后,水液流动至出水管道结构(3)位置处,排水管道组件(9)能够将流动至水管道结构(3)位置处的水液吸出,在污水处理腔室内水液积累到一定高度时,水液能够穿过通水孔道(902)排出。
发明内容
(一)解决的技术问题
本发明的目的就在于为了解决上述问题而提供一种生物净化与光催化联合污水处理装置和方法。
(二)技术方案
为实现上述目的,本发明提供了以下技术方案:
本发明提供的一种生物净化与光催化联合污水处理装置,包括外水处理壳体和控制面板,所述外水处理壳体的内部形成有污水处理腔室,所述外水处理壳体的下方设置有底座,所述底座上侧设置有用于对外水处理壳体旋转支撑的滚轮支撑结构,所述底座上设置有用于对外水处理壳体在滚轮支撑结构支撑下旋转的旋转驱动组件;
所述外水处理壳体沿其旋转轴线的两端分别设置有用于向污水处理腔室内排入污水的进水管道结构和用于将污水处理腔室内污水排出的出水管道结构;
位于进水管道结构和出水管道结构之间的所述污水处理腔室内分别设置有生物净化填充结构和光催化管。
进一步,所述外水处理壳体的外形呈圆柱体形状,所述外水处理壳体的内部中空且两端开口,所述外水处理壳体的两端开口处分别密封连接有第一端盖和第二端盖,所述第一端盖和第二端盖朝向污水处理腔室内部一侧边沿设置有密封挡水圈,密封挡水圈的外形呈圆环状,所述密封挡水圈的外侧边沿与外水处理壳体的内侧壁彼此抵接,所述密封挡水圈的横截面形状呈S型。
进一步,所述进水管道结构包括污水排入管道,污水排入管道的一端穿过第一端盖延伸至污水处理腔室内,所述污水排入管道的另一端设置有第一法兰盘,所述第一端盖上固定设置有用于穿过污水排入管道的外支撑套管,所述污水排入管道通过轴承转动设置在外支撑套管内,所述污水排入管道上固定设置有第一管道固定支杆,所述第一管道固定支杆的底端固定连接有第一安装座板,第一安装座板通过螺栓固定设置在底座上。
进一步,所述出水管道结构包括污水排出管道,污水排出管道的一端穿过第二端盖延伸至污水处理腔室内,所述污水排出管道的另一端设置有第二法兰盘,所述污水排入管道通过轴承转动设置在第二端盖上,所述污水排出管道上固定设置有第二管道固定支杆,所述第二管道固定支杆的底端固定连接有第二安装座板,第二安装座板通过螺栓固定设置在底座上,所述污水排出管道内设置有用于将污水处理腔室底部水液排出的排水管道组件。
进一步,所述排水管道组件包括固定座,固定座固定设置在污水排出管道内,所述固定座内固定设置有水泵,所述水泵的进水口连接有抽水管道的一端,抽水管道的另一端延伸至污水处理腔室内部底面并开设有若干个吸水缺口,所述吸水缺口的内侧轮廓形状呈U型,所述水泵的出水口连接有出水管道,所述固定座上贯穿开设有以水泵为中心均匀分布的若干个通水孔道,所述控制面板的输出端电连接至水泵的输入端。
进一步,所述生物净化填充结构包括生物填充层,所述生物填充层的外形轮廓形状呈螺旋状,所述生物填充层的外侧壁与外水处理壳体的内侧壁彼此活动抵接,所述生物填充层的内侧中心处设置有用于对其进行支撑的内隔离分隔筒,所述内隔离分隔筒的外形呈圆筒状,所述内隔离分隔筒的外侧壁上开设有以其中轴线为中心均匀分布的若干个通水槽。
进一步,所述光催化管均设置在内隔离分隔筒内,且光催化管设置有以内隔离分隔筒中轴线为中心均匀分布的若干个,所述内隔离分隔筒内中部位置固定设置有管固定支板,所述光催化管均固定设置在管固定支板上。
进一步,所述滚轮支撑结构包括两个平行分布的支板,支板固定设置在底座上,两个支板的上侧之间设置有平行分布的两个轮杆,两个轮杆分别对称分布在外水处理壳体中轴线的两侧,每个轮杆的两端均转动设置有用于与外水处理壳体底侧滚动抵接的支撑轮,外水处理壳体的外侧壁上设置有用于与支撑轮相配合的环形限位轮槽。
进一步,所述旋转驱动组件包括彼此配合啮合的齿圈和齿轮,所述齿圈固定套设在外水处理壳体的外侧壁上,所述齿轮的一端设置有电机,所述电机的输出轴端与齿轮的轴端彼此固定连接,所述电机固定设置在支板上,所述控制面板的输出端电连接至电机的输入端。
一种生物净化与光催化联合污水处理方法,包括以下步骤:
S1:污水从进水管道结构进入到外水处理壳体内的污水处理腔室内,由生物净化填充结构对污水进行生物净化处理,由光催化管对污水进行光催化净化处理;
S2:在S1步骤中,旋转驱动组件驱动外水处理壳体在滚轮支撑结构的支撑下旋转,在外水处理壳体的旋转过程中,呈螺旋状的生物填充层能够对污水沿着进水管道结构至出水管道结构的方向推进,并在推进过程中,污水充分与呈螺旋状的生物填充层接触混合进行净化;
S3:光催化管在水液的流转过程中,即呈螺旋状的生物填充层将水液向上拨动时,水液向下落下在光催化管上,光催化管能够实现与污水的充分接触;
S4:由生物净化填充结构和光催化管配合实现对污水的联合处理后,水液流动至出水管道结构位置处,排水管道组件能够将流动至水管道结构位置处的水液吸出,在污水处理腔室内水液积累到一定高度时,水液能够穿过通水孔道排出。
(三)有益效果
与现有技术相比,本发明的有益效果在于:
1、通过外水处理壳体、滚轮支撑结构、旋转驱动组件、生物净化填充结构和光催化管等之间彼此相互协同、相互配合,可以实现在对污水的螺旋推进过程中,实现对污水的生物进化和光催化一体化同时进行,大大节省了对污水的处理流程,提高了对污水的处理效率:
2、排水管道组件可以将污水从污水处理腔室内部底面将水液吸出排出,从而避免污水在污水处理腔室的残留问题,另外,通水孔道还起到防止污水处理腔室内水液积累过多的问题,可以在水泵无法将污水处理腔室内水液及时排出的情况下,可以起到泄压的作用,污水密封处理下,更加安全;
3、螺旋状的生物填充层可以对污水沿着进水管道结构至出水管道结构的方向推进,此时污水充分与呈螺旋状的生物填充层接触混合进行净化;光催化管在水液的流转过程中,水液落下在光催化管上,光催化管可以实现与污水的充分接触。
(发明人:贾玲萍;张国艳;安兴才;张茂环)






