公布日:2023.10.20
申请日:2023.08.25
分类号:C02F3/34(2023.01)I;C02F3/28(2023.01)I;C02F3/32(2023.01)I
摘要
本发明公开一种基于农业废弃物填料的养殖尾水脱氮除磷装置及方法,属于养殖尾水处理技术领域;包括装置主体,装置主体内设置有反应部;装置主体的底端与养殖尾水储存池连通,装置主体的顶端侧壁与出水收集池连通;反应部包括盛装在装置主体内的农业废弃物填料和反硝化污泥,农业废弃物填料和反硝化污泥浸泡在养殖尾水中。本发明将反硝化污泥和农业废弃物填料相结合,养殖尾水处理效果好,运行成本低,占地面积相对较小,具有较大的经济效益和市场应用前景。

权利要求书
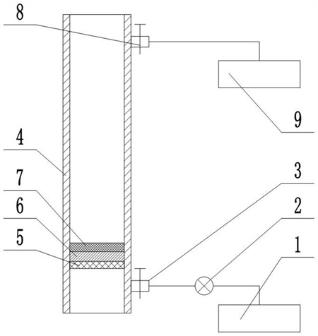
1.一种基于农业废弃物填料的养殖尾水脱氮除磷装置,其特征在于:包括装置主体(4),所述装置主体(4)内设置有反应部;所述装置主体(4)的底端与养殖尾水储存池(1)连通,所述装置主体(4)的顶端侧壁与出水收集池(9)连通;所述反应部包括盛装在所述装置主体(4)内的农业废弃物填料(6)和反硝化污泥(7)。
2.根据权利要求1所述的基于农业废弃物填料的养殖尾水脱氮除磷装置,其特征在于:所述装置主体(4)的侧壁底端设置有进水口(3),所述进水口(3)通过恒流蠕动泵(2)与所述养殖尾水储存池(1)连通;所述装置主体(4)的侧壁顶端设置有出水口(8),所述出水口(8)与所述出水收集池(9)连通。
3.根据权利要求2所述的基于农业废弃物填料的养殖尾水脱氮除磷装置,其特征在于:所述装置主体(4)内固接有多孔的承托板(5),所述农业废弃物填料(6)堆积在所述承托板(5)上,所述反硝化污泥(7)堆积在所述农业废弃物填料(6)上。
4.根据权利要求3所述的基于农业废弃物填料的养殖尾水脱氮除磷装置,其特征在于:所述承托板(5)的安装位置高于所述进水口(3)的位置。
5.根据权利要求2所述的基于农业废弃物填料的养殖尾水脱氮除磷装置,其特征在于:所述装置主体(4)内填充有石英砂填料(10),所述石英砂填料(10)内填充有所述农业废弃物填料(6)和所述反硝化污泥(7)以及所述石英砂填料(10)组成的混合物填料(11)。
6.根据权利要求5所述的基于农业废弃物填料的养殖尾水脱氮除磷装置,其特征在于:所述石英砂填料(10)的顶端位于所述出水口(8)的上方,所述石英砂填料(10)的底端位于所述进水口(3)的下方;所述混合物填料(11)位于所述进水口(3)与所述出水口(8)之间。
7.一种基于农业废弃物填料的养殖尾水脱氮除磷方法,根据权利要求1-6任意一项所述的基于农业废弃物填料的养殖尾水脱氮除磷装置,其特征在于包括以下步骤:连接养殖尾水储存池(1)和出水收集池(9);填充反应部的农业废弃物填料(6)和反硝化污泥(7);向装置主体(4)通入养殖尾水,养殖尾水漫过反应部;设置合适的反应条件,使养殖尾水在装置主体(4)中停留一段时间;到达时间后,再次向装置主体(4)中通入养殖尾水,将反应后的养殖尾水溢流排出到出水收集池(9)内;重复进行养殖尾水的通入、反应溢流排出的过程。
8.根据权利要求7所述的基于农业废弃物填料的养殖尾水脱氮除磷方法,其特征在于:反应过程中,反应温度为20±2℃,光照强度为355±31Lux,DO不高于1mg/L,pH为弱酸性或偏中性。
9.根据权利要求7所述的基于农业废弃物填料的养殖尾水脱氮除磷方法,其特征在于:养殖尾水在所述装置主体(4)内的反应停留时间为30-35h。
发明内容
为解决上述技术问题,本发明提出了一种基于农业废弃物填料的养殖尾水脱氮除磷装置及方法。
为实现上述目的,本发明提供了一种基于农业废弃物填料的养殖尾水脱氮除磷装置,包括装置主体,所述装置主体内设置有反应部;
所述装置主体的底端与养殖尾水储存池连通,所述装置主体的顶端侧壁与出水收集池连通;
所述反应部包括盛装在所述装置主体内的农业废弃物填料和反硝化污泥。
优选的,所述装置主体的侧壁底端设置有进水口,所述进水口通过恒流蠕动泵与所述养殖尾水储存池连通;所述装置主体的侧壁顶端设置有出水口,所述出水口与所述出水收集池连通。
优选的,所述装置主体内固接有多孔的承托板,所述农业废弃物填料堆积在所述承托板上,所述反硝化污泥堆积在所述农业废弃物填料上。
优选的,所述承托板的安装位置高于所述进水口的位置。
优选的,所述装置主体内填充有石英砂填料,所述石英砂填料内填充有所述农业废弃物填料和所述反硝化污泥以及所述石英砂填料组成的混合物填料。
优选的,所述石英砂填料的顶端位于所述出水口的上方,所述石英砂填料的底端位于所述进水口的下方;所述混合物填料位于所述进水口与所述出水口之间。
一种基于农业废弃物填料的养殖尾水脱氮除磷方法,包括以下步骤:
连接养殖尾水储存池和出水收集池;
填充反应部的农业废弃物填料和反硝化污泥;
向装置主体通入养殖尾水,养殖尾水漫过反应部;
设置合适的反应条件,使养殖尾水在装置主体中停留一段时间;
到达时间后,再次向装置主体中通入养殖尾水,将反应后的养殖尾水溢流排出到出水收集池内;
重复进行养殖尾水的通入、反应溢流排出的过程。
优选的,反应过程中,反应温度为20±2℃,光照强度为355±3Lux,DO不高于1mg/L,pH为弱酸性或偏中性。
优选的,养殖尾水在所述装置主体内的反应停留时间为30-35h。
与现有技术相比,本发明具有如下优点和技术效果:本发明针对富含氮磷污染物的养殖尾水,通过在装置主体内添加农业废弃物填料和反硝化污泥等处理方法,通过使氮磷污染物与反硝化物污泥充分反应,利用农业废弃物填料作为碳源,建立一种基于农业废弃物填料的养殖尾水脱氮除磷装置及处理方法,达到较好的养殖尾水净化效果,一方面提升了微生物处理效率,减少了养殖尾水的氮磷污染物,耗能低、效果好且不会产生二次污染;另一方面合理利用农业废弃物填料,材料易得,成本低廉、生物毒性低和持续释碳等特点,减少了农业废弃物填料的浪费;养殖尾水的氮磷污染物依靠反硝化污泥中微生物吸收,去除效果佳,不会产生额外的污染物;引入农业废弃物填料补充反应中的碳源,除了有效去除氮磷污染物,除净化水质外,还可将反应后的农业废弃物填料作为肥料或者其它用途,产生额外经济效益。
本发明将反硝化污泥和农业废弃物填料相结合,养殖尾水处理效果好,运行成本低,占地面积相较小,具有较大的经济效益和市场应用前景。
(发明人:龚望宝;谢骏;王广军;李志斐;张凯;王志龙;夏耘;李红燕;田晶晶;郁二蒙;谢文平)






