公布日:2023.10.13
申请日:2023.07.18
分类号:E03B3/40(2006.01)I;E03B3/02(2006.01)I;E04D13/04(2006.01)I;E04D13/08(2006.01)I;B08B9/087(2006.01)I
摘要
本发明公开了一种建筑雨水收集处理系统,涉及到建筑雨水收集技术领域,包括:储水窖,所述储水窖埋藏在土地内部;起吊外壳,所述起吊外壳设置储水窖的内部,并在多个升降装置的带动下调整起吊外壳的高度,且升降装置向上延伸到储水窖的上方;驱动装置;本发明通过弯曲部位的弧形设置在旋转刮污的同时推动污泥向圆心处移动,方便污泥的抽取和排出;同时弯曲部位能够改变其高度,在排水的过程中高度上升避免搅动清水,导致清水与污水混合,在清洁时高度下降,避免管道与储水窖的内底壁首先接触,导致污水无法正常进入到管道内部,同时避免弯曲部位与储水窖的内底壁无法正常接触,影响储水窖内底壁的清理。

权利要求书
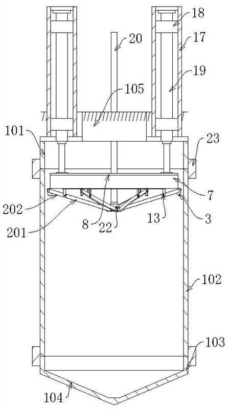
1.一种建筑雨水收集处理系统,其特征在于,包括:储水窖,所述储水窖埋藏在土地内部;起吊外壳,所述起吊外壳设置储水窖的内部,并在多个升降装置的带动下调整起吊外壳的高度,且升降装置向上延伸到储水窖的上方;驱动装置,所述驱动装置安装在起吊外壳的内部,并驱动旋转件旋转,且旋转件设置起吊外壳的内部与起吊外壳同心设置;多个翘板组件,多个所述翘板组件沿起吊外壳周向均匀分布,且可转动的安装在旋转件的底部,在与储水窖的内底壁接触后由水平状态变为倾斜状态;所述翘板组件包括翘板、刮板,所述翘板可转动的交接在旋转件的底部,所述翘板远离圆心的一端开设有收纳凹槽,所述刮板可转动的安装在收纳凹槽的内部,并在收纳到收纳凹槽内部时向外延伸出拐角刮头,且拐角刮头与储水窖的底部拐角处相适配,且刮板在翘板处于水平状态下降时与储水窖的内壁接触,并在旋转的作用下对内壁进行清理。
2.根据权利要求1所述的建筑雨水收集处理系统,其特征在于:所述翘板由弯曲部位、铰接部位;所述弯曲部位、铰接部位一体成型,且弯曲部位向圆心处延伸,所述铰接部位与刮板铰接并向圆心外延伸,带动拐角刮头与储水窖的内壁接触。
3.根据权利要求2所述的建筑雨水收集处理系统,其特征在于:所述刮板的下部设置有弧形面、所述拐角刮头与收纳凹槽之间设置有第一卷簧,所述第一卷簧的两端分别与收纳凹槽内主轴和拐角刮头固定连接,并在拐角刮头收纳到收纳凹槽的内部时蓄力。
4.根据权利要求1所述的建筑雨水收集处理系统,其特征在于:所述起吊外壳包括定位圆环、保护外壳、顶板;所述定位圆环和顶板分别可拆卸的固定在保护外壳的底部和顶部开口处,保护外壳套接在旋转件的外侧,所述顶板与升降装置固定连接,且定位圆环设置有两个,两个定位圆环拼接在旋转件的外侧。
5.根据权利要求1所述的建筑雨水收集处理系统,其特征在于:所述旋转件包括齿轮环、多个U型杆、中心环、承接环、多个铰接头、第二卷簧;所述承接环卡接在定位圆环的外侧,并相对于定位圆环的旋转,所述齿轮环固定在承接环的顶部,并与驱动装置啮合,所述中心环位于齿轮环的内部并同心设置,多个所述U型杆沿中心环周向均匀分布,且两端分别与齿轮环和中心环的顶部固定连接,多个所述铰接头呈环形阵列的固定在承接环的底部并与铰接部位铰接,所述第二卷簧的两端分别与铰接头的主轴和铰接部位固定连接。
6.根据权利要求1所述的建筑雨水收集处理系统,其特征在于:所述驱动装置包括驱动电机、齿轮,所述驱动电机固定在顶板的底部,所述齿轮固定在驱动电机的输出主轴外侧,并与齿轮环啮合,所述齿轮被适配为驱动齿轮环旋转的结构。
7.根据权利要求1所述的建筑雨水收集处理系统,其特征在于:所述升降装置包括防护外壳、两个固定环、伸缩杆;所述防护外壳固定在储水窖的顶部,并向上延伸到地面,两个所述固定环分别固定在防护外壳的内部上下两端,所述伸缩杆位于防护外壳的内部并被固定环固定,所述伸缩杆向下延伸到储水窖的内部并与顶板的顶部固定连接,并在伸缩时带动顶板升降调整高度。
8.根据权利要求1所述的建筑雨水收集处理系统,其特征在于:所述储水窖的内部由外至内的可滑动的插接有排污管道、所述排污管道穿过中心环并位于中心环的下方,所述排污管道的外侧固定安装有两个同步限位环,且两个所述同步限位环分别位于中心环的上方和下方,形成在中心环升降的过程中带动排污管道同步升降的结构,所述排污管道的底部固定安装有吸污头,形成吸污头的开口处高于倾斜状态下弯曲部位的最低处,低于水平状态下弯曲部位最低处的结构。
9.根据权利要求1所述的建筑雨水收集处理系统,其特征在于:所述储水窖分为上窖体、中窖体、下窖体,所述上窖体和下窖体分别可拆卸的固定在位于中窖体的上下两个开口处,且通过密封环进行密封连接,所述下窖体的内底壁设置为倾斜斜面、所述上窖体的顶部开口处延伸的地面并固定安装有井盖。
10.根据权利要求1所述的建筑雨水收集处理系统,其特征在于:还包括建筑主体、第一导水管道、第二导水管道、过滤器;所述建筑主体建设在地面上,所述建筑主体上的雨水通过第一导水管道运输到储水窖的内部,所述储水窖内部的雨水可以在处理后通过第二导水管道运输到建筑主体再次利用,所述过滤器固定在第一导水管道的中部,并设置在土地内。
发明内容
本发明的目的在于提供一种建筑雨水收集处理系统,以解决上述背景技术中提出的问题。
为实现上述目的,本发明提供如下技术方案:一种建筑雨水收集处理系统,包括:储水窖,所述储水窖埋藏在土地内部;起吊外壳,所述起吊外壳设置储水窖的内部,并在多个升降装置的带动下调整起吊外壳的高度,且升降装置向上延伸到储水窖的上方;驱动装置,所述驱动装置安装在起吊外壳的内部,并驱动旋转件旋转,且旋转件设置起吊外壳的内部与起吊外壳同心设置;多个翘板组件,多个所述翘板组件沿起吊外壳周向均匀分布,且可转动的安装在旋转件的底部,在与储水窖的内底壁接触后由水平状态变为倾斜状态;所述翘板组件包括翘板、刮板,所述翘板可转动的交接在旋转件的底部,所述翘板远离圆心的一端开设有收纳凹槽,所述刮板可转动的安装在收纳凹槽的内部,并在收纳到收纳凹槽内部时向外延伸出拐角刮头,且拐角刮头与储水窖的底部拐角处相适配,且刮板在翘板处于水平状态下降时与储水窖的内壁接触,并在旋转的作用下对内壁进行清理。
可选的,所述翘板由弯曲部位、铰接部位;所述弯曲部位、铰接部位一体成型,且弯曲部位向圆心处延伸,所述铰接部位与刮板铰接并向圆心外延伸,带动拐角刮头与储水窖的内壁接触。
可选的,所述刮板的下部设置有弧形面、所述拐角刮头与收纳凹槽之间设置有第一卷簧,所述第一卷簧的两端分别与收纳凹槽内主轴和拐角刮头固定连接,并在拐角刮头收纳到收纳凹槽的内部时蓄力。
可选的,所述起吊外壳包括定位圆环、保护外壳、顶板;所述定位圆环和顶板分别可拆卸的固定在保护外壳的底部和顶部开口处,保护外壳套接在旋转件的外侧,所述顶板与升降装置固定连接,且定位圆环设置有两个,两个定位圆环拼接在旋转件的外侧。
可选的,所述旋转件包括齿轮环、多个U型杆、中心环、承接环、多个铰接头、第二卷簧;所述承接环卡接在定位圆环的外侧,并相对于定位圆环的旋转,所述齿轮环固定在承接环的顶部,并与驱动装置啮合,所述中心环位于齿轮环的内部并同心设置,多个所述U型杆沿中心环周向均匀分布,且两端分别与齿轮环和中心环的顶部固定连接,多个所述铰接头呈环形阵列的固定在承接环的底部并与铰接部位铰接,所述第二卷簧的两端分别与铰接头的主轴和铰接部位固定连接。
可选的,所述驱动装置包括驱动电机、齿轮,所述驱动电机固定在顶板的底部,所述齿轮固定在驱动电机的输出主轴外侧,并与齿轮环啮合,所述齿轮被适配为驱动齿轮环旋转的结构。
可选的,所述升降装置包括防护外壳、两个固定环、伸缩杆;所述防护外壳固定在储水窖的顶部,并向上延伸到地面,两个所述固定环分别固定在防护外壳的内部上下两端,所述伸缩杆位于防护外壳的内部并被固定环固定,所述伸缩杆向下延伸到储水窖的内部并与顶板的顶部固定连接,并在伸缩时带动顶板升降调整高度。
可选的,所述储水窖的内部由外至内的可滑动的插接有排污管道、所述排污管道穿过中心环并位于中心环的下方,所述排污管道的外侧固定安装有两个同步限位环,且两个所述同步限位环分别位于中心环的上方和下方,形成在中心环升降的过程中带动排污管道同步升降的结构,所述排污管道的底部固定安装有吸污头,形成吸污头的开口处高于倾斜状态下弯曲部位的最低处,低于水平状态下弯曲部位最低处的结构。
可选的,所述储水窖分为上窖体、中窖体、下窖体,所述上窖体和下窖体分别可拆卸的固定在位于中窖体的上下两个开口处,且通过密封环进行密封连接,所述下窖体的内底壁设置为倾斜斜面、所述上窖体的顶部开口处延伸的地面并固定安装有井盖。
可选的,还包括建筑主体、第一导水管道、第二导水管道、过滤器;所述建筑主体建设在地面上,所述建筑主体上的雨水通过第一导水管道运输到储水窖的内部,所述储水窖内部的雨水可以在处理后通过第二导水管道运输到建筑主体再次利用,所述过滤器固定在第一导水管道的中部,并设置在土地内。
本发明的技术效果和优点:1、本发明通过弯曲部位的弧形设置在旋转刮污的同时推动污泥向圆心处移动,方便污泥的抽取和排出;同时弯曲部位能够改变其高度,在排水的过程中高度上升避免搅动清水,导致清水与污水混合,在清洁时高度下降,避免管道与储水窖的内底壁首先接触,导致污水无法正常进入到管道内部,同时避免弯曲部位与储水窖的内底壁无法正常接触,影响储水窖内底壁的清理。
2、本发明通过刮板的设置能够在旋转时对储水窖的周向内壁进行清理,避免污泥残留在储水窖的内壁上,同时在弧形面的作用下与内底壁接触后或发生转动收回到收纳凹槽的内部,避免刮板限制翘板的下降;通过拐角刮头的设置能够对翘板倾斜带来的空间差进行弥补,同时拐角刮头与内底壁的拐角处向对应,使残留在内底壁的拐角处的污泥被同样清理。
(发明人:王帅玮;潘富娟;邵明芳;高嘉民;李玉敏;冯穆青;王海龙;刘欢;李纪朋;李宗强)






