公布日:2023.10.03
申请日:2023.07.04
分类号:C02F9/00(2023.01)I;C02F3/12(2023.01)N;C02F1/00(2023.01)N;C02F1/20(2023.01)N
摘要
本发明公开了一种好氧曝气沉淀一体化装置,所述装置为一容器,包括:所述容器一侧为脱气沉淀区,另一侧由下至上依次为好氧曝气区、三相分离区、固液沉淀区,其中三相分离区、固液沉淀区与脱气沉淀区通过隔板隔开,隔板上部低于液面,隔板下部向脱气沉淀区倾斜,好氧曝气区与脱气沉淀区之间设有倾斜的挡流板,挡流板与倾斜的隔板间形成脱气区,好氧曝气区与脱气沉淀区通过脱气区连通,解决了现有技术存在的污水处理设施占地、出水浊度高的问题,一方面可以取消沉淀池将本装置直接安装于好氧池中,节约占地;另一方面,既可以实现气体分离,又能快速实现泥水分离,同时也防止污泥在三相分离器底部和上部堆积,保证了出水浊度较低。

权利要求书
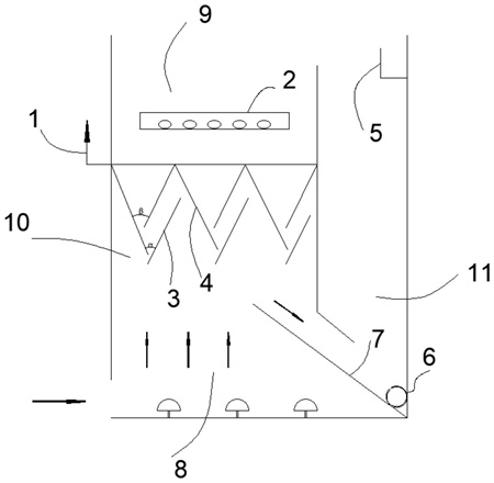
1.一种好氧曝气沉淀一体化装置,装置为一容器,其特征在于,包括:所述容器一侧为脱气沉淀区(11),另一侧由下至上依次为好氧曝气区(8)、三相分离区(10)、固液沉淀区(9),其中三相分离区(10)、固液沉淀区(9)与脱气沉淀区(11)通过隔板隔开,隔板上部低于液面,隔板下部向脱气沉淀区(11)倾斜,好氧曝气区(8)与脱气沉淀区(11)之间设有倾斜的挡流板(7),挡流板(7)与倾斜的隔板间形成脱气区,好氧曝气区(8)与脱气沉淀区(11)通过脱气区连通。
2.根据权利要求1所述的好氧曝气沉淀一体化装置,其特征在于,好氧曝气区(8)底部设有若干曝气器。
3.根据权利要求1所述的好氧曝气沉淀一体化装置,其特征在于,挡流板(7)的水平夹角为45°~60°。
4.根据权利要求1所述的好氧曝气沉淀一体化装置,其特征在于,所述三相分离器区由若干导流板(3)、若干集气罩(4)和排气管(1)组成;其中,导流板(3)与集气罩(4)一侧壁形成第一回流缝α,两个集气罩(4)之间形成第二回流缝β,所述第二回流缝大于第一回流缝;排气管(1)与每个集气罩(4)连通,用于将集气罩(4)收集的气体排出。
5.根据权利要求4所述的好氧曝气沉淀一体化装置,其特征在于,固液沉淀区(9)设有穿孔排泥管(2),穿孔排泥管(2)斜向下两边开孔。
6.根据权利要求5所述的好氧曝气沉淀一体化装置,其特征在于,穿孔排泥管(2)位于集气罩(4)顶部0.3~0.5m处,穿孔排泥管(2)直径为0.075~0.1m,孔径0.02~0.05m。
7.根据权利要求1所述的好氧曝气沉淀一体化装置,其特征在于,所述脱气沉淀区(11)底部设有穿孔回流管(6),穿孔回流管(6)位于挡流板(7)和容器壁之间,穿孔回流管(6)与挡流板(7)接触部位均开孔,穿孔回流管(6)另一侧开孔朝向挡流板(7)倾斜方向,两开孔成90°夹角。
8.根据权利要求7所述的好氧曝气沉淀一体化装置,其特征在于,所述穿孔回流管(6)管径0.09~0.11m,孔径0.02~0.05m。
9.根据权利要求1所述的好氧曝气沉淀一体化装置,其特征在于,脱气沉淀区(11)上部的容器壁上设有溢流堰(5),用于将固液分离后的上清液排出。
10.根据权利要求1所述的好氧曝气沉淀一体化装置,其特征在于,所述固液沉淀区(9)、三相分离区(10)、脱气沉淀区(11)、和挡流板(7)以及隔板与容器壁为一体连接。
发明内容
本发明提供了一种好氧曝气沉淀一体化装置,解决了现有技术存在的污水处理设施占地较大、出水浊度高的问题,其应用时一方面可以取消沉淀池将本装置直接安装于好氧池中,节约污水处理设施占地;另一方面,本发明既可以实现气体分离,又能快速实现泥水分离,同时也防止污泥在三相分离器底部和上部堆积,保证了出水浊度较低。
为了解决现有技术问题,本发明提供了如下技术方案:
一种好氧曝气沉淀一体化装置,装置为一容器,包括:所述容器一侧为脱气沉淀区,另一侧由下至上依次为好氧曝气区、三相分离区、固液沉淀区,其中三相分离区、固液沉淀区与脱气沉淀区通过隔板隔开,隔板上部低于液面,隔板下部向脱气沉淀区倾斜,好氧曝气区与脱气沉淀区之间设有倾斜的挡流板,挡流板与倾斜的隔板间形成脱气区,好氧曝气区与脱气沉淀区通过脱气区连通。
污泥混合液从工艺前段进入好氧池后,通过底部的过流缝进入装置。随着好氧曝气区底部气流上升,遇到右侧挡流板后,混合液形成折流区,使得气固液三相混合体在好氧区底部充分混合。
混合液继续上升,一部分上升进入三相分离器进行气、泥、水三相分离。上升混合液进入三相分离区,气体被收集后排出,而泥水混合物继续向上移动,部分污泥回流到三相分离区底部再次进行三相分离,一部分泥水混合物上升,较重的污泥颗粒或絮体下滑,而较轻的污泥和水继续上升进入沉淀区,进一步进行泥水分离,上清液由右侧进入脱气沉淀区。固液沉淀区积累的较轻的污泥由穿孔排泥管排出系统。
好氧曝气区的另一部分混合液越过挡流板后,沿挡流板向右侧脱气沉淀区流动。在此过程中,气体上升进入三相分离区而被收集;脱气后的泥水混合物继续向下进入脱气沉淀区进行泥水分离。脱气沉淀区积累的污泥回流至生化段。
通过三相分离区上部的固液沉淀区和右侧脱气沉淀区的泥水分离,保证了较长的沉淀时间,一方面避免了污泥沉积产生厌氧反应,造成出水水质变差,另一方面充足的沉淀时间,减少了活性污泥流失,保证了出水水质。
优选的,好氧曝气区底部设有若干曝气器。
底部的曝气器提供好氧区混合液上升动力,在好氧区提供微生物所需氧含量。
优选的,挡流板的水平夹角为45°~60°。
好氧曝气区的混合液在上升过程中,碰撞到挡流板后,可以使混合液向下返流,起到混合作用,避免污泥在好氧曝气区沉积。
当混合液继续向上运动时,一部分混合液进入上部的三相分离区进行气固液分离,一部分混合液沿挡流板向下流动进入狭长的脱气区。
优选的,所述三相分离器区由若干导流板、若干集气罩和排气管组成;其中,导流板与集气罩一侧壁形成第一回流缝α,两个集气罩之间形成第二回流缝β,所述第二回流缝大于第一回流缝;排气管与每个集气罩连通,用于将集气罩收集的气体排出。
上升混合液沿导流板进入三相分离区,气体被收集到集气罩中,通过排气管排出,而泥水混合物继续向上移动,部分污泥通过第一回流缝回流到三相分离区底部再次进行三相分离,一部分泥水混合物通过第二回流缝上升,较重的污泥颗粒或絮体由回流缝下滑,而较轻的污泥和水继续上升进入固液沉淀区,进一步进行泥水分离,上清液由右侧进入脱气沉淀区。
优选的,固液沉淀区设有穿孔排泥管,穿孔排泥管斜向下两边开孔。
优选的,穿孔排泥管位于集气罩顶部0.3~0.5m处,穿孔管直径为0.075~0.1m,孔径0.02~0.05m。
固液沉淀区积累的较轻的污泥由穿孔排泥管排出系统。
优选的,所述脱气沉淀区底部设有穿孔回流管,穿孔回流管位于挡流板和容器壁之间,穿孔回流管与挡流板接触部位均开孔,穿孔回流管另一侧开孔朝向挡流板倾斜方向,两开孔成90°夹角。
优选的,所述穿孔回流管管径0.09~0.11m,孔径0.02~0.05m。
所述脱气沉淀区底部设有穿孔回流管,其中穿孔管两侧开孔,同时回流好氧曝气区和脱气沉淀区污泥,避免底部污泥淤积。
优选的,脱气沉淀区上部的容器壁上设有溢流堰。
所述脱气沉淀区上部设溢流堰,将沉淀后的上清液排出。
优选的,所述固液沉淀区、三相分离区、脱气沉淀区、和挡流板以及隔板与容器壁为一体连接。
本发明和现有技术相比,具有以下优点:
与现有好氧曝气沉淀三相分离器工艺技术相比,本发明利用好氧曝气区的曝气提供混合液上升动力,无需提供额外吹脱、搅拌等动力,节省成本。本发明在好氧曝气区设有挡流板,一方面可以在好氧区形成涡流,避免好氧区底部产生死区,造成污泥淤积;另一方面使得好氧曝气区的部分混合液沿挡流板下滑,并在下滑过程中完成脱气,避免了右侧的脱气沉淀区泥层扰动。同时在三相分离区底部设有导流板,保证了气体可以完全收集于集气罩中,同时也减少了上升混合液与下滑污泥在第一回流缝处相遇。此外设置有双层回流缝,既保证了污泥可以正常下滑回流至底部好氧区,又保证了上升气流不会从回流缝逸出而造成上部沉淀区污泥扰动。脱气后的泥水混合物上升至上部沉淀区,大部分重质污泥下滑回流至底部好氧区,一部分轻质污泥在沉淀区进行泥水分离,积累的污泥由穿孔管外排;而上升的清水越过右侧挡板后进入右侧沉淀区,进一步沉淀,使得出水更加清澈。此外右侧的沉淀区,由于经过脱气沉淀,污泥浓度较高,回流至生化段,可以提高回流污泥浓度,有助于提高生化段的生物量。通过一整套的设计,既节约了占地面积,又提高了泥水分离效率,进一步强化了生物脱氮除磷能力,可以实现提质增效的目的。
(发明人:马东方;倪康祥;阳重阳;陈嘉祺;周俊芳;王志帅;梁辉政)






