公布日:2024.04.12
申请日:2023.12.29
分类号:C02F1/48(2023.01)I;C02F1/52(2023.01)I;B01F27/192(2022.01)I;B01F27/90(2022.01)I;F26B25/04(2006.01)I;F26B23/00(2006.01)I;B02C19/00(2006.01)I;B08B1
/32(2024.01)I
摘要
本发明公开了一种污水微塑料复合处理装置,涉及污水处理装置技术领域,包括处理箱,所述处理箱内设置有絮凝室和烘干室,其中絮凝室位于烘干室上方,所述絮凝室底部与烘干室顶部之间连通有连通管;搅拌机构,所述搅拌机构包括搅拌组件、搅拌块和第一电磁铁,所述搅拌组件连接在处理箱上,所述搅拌组件输出端伸入絮凝室内,且连接有多个搅拌块,多个所述搅拌块内均安装有第一电磁铁,本发明通过设置搅拌机构和烘干机构,在烘干室完成对絮凝物的烘干和分离处理时,絮凝室同步完成对污水的絮凝处理,提高对污水中微塑料的处理效率。

权利要求书
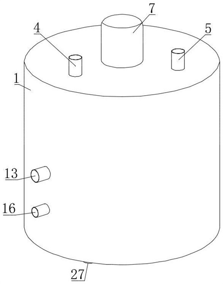
1.一种污水微塑料复合处理装置,其特征在于,包括:处理箱(1),所述处理箱(1)内设置有絮凝室(2)和烘干室(3),其中絮凝室(2)位于烘干室(3)上方,所述絮凝室(2)底部与烘干室(3)顶部之间连通有连通管(14);搅拌机构,所述搅拌机构包括搅拌组件、搅拌块(10)和第一电磁铁(11),所述搅拌组件连接在处理箱(1)上,所述搅拌组件输出端伸入絮凝室(2)内,且连接有多个搅拌块(10),多个所述搅拌块(10)内均安装有第一电磁铁(11);烘干机构,所述烘干机构包括加热器(15)、摊平组件、清扫叶片(23)、第二电磁铁(24)和收集扁管(25),所述加热器(15)安装在烘干室(3)底部内,所述摊平组件连接在搅拌组件输出端伸入烘干室(3)内一端上,所述摊平组件输出端与烘干室(3)内底部间隙设置,所述清扫叶片(23)连接在搅拌组件输出端伸入烘干室(3)内一端上,所述清扫叶片(23)底部抵靠在烘干室(3)内底部上,所述收集扁管(25)固定连接在烘干室(3)内,所述摊平组件输出端内安装有第二电磁铁(24),所述收集扁管(25)输出端与摊平组件输出端相互配合;所述搅拌组件包括搅拌电机(7)、搅拌轴(8)和连接杆(9),所述搅拌电机(7)安装在处理箱(1)顶部外,所述搅拌电机(7)输出端同轴固定连接有搅拌轴(8),所述搅拌轴(8)底端密封贯穿伸入絮凝室(2)内,所述搅拌轴(8)伸入絮凝室(2)内一端固定连接有多个连接杆(9),多个所述连接杆(9)远离搅拌轴(8)一端与多个搅拌块(10)一一对应固定连接;所述搅拌轴(8)上同轴固定连接有上升叶片(12),所述上升叶片(12)位于絮凝室(2)内底部,所述上升叶片(12)采用螺旋叶片,且螺旋轴向沿搅拌轴(8)向上;所述摊平组件包括多个摊平块(17),所述搅拌轴(8)底端密封贯穿伸入烘干室(3)内,多个所述摊平块(17)呈圆形阵列分布在搅拌轴(8)上,其中连通管(14)底端位于摊平块(17)与烘干室(3)内底部之间;所述摊平组件还包括研磨结构,所述研磨结构包括滑动块(19)、复位弹簧(20)和阻挡块(21),所述摊平块(17)上贯穿开设有滑动槽(18),所述滑动槽(18)内滑动连接有滑动块(19),所述滑动块(19)与摊平块(17)之间固定连接有多个复位弹簧(20),所述烘干室(3)内顶部固定连接有阻挡块(21),所述阻挡块(21)底部设置有斜倒角,所述阻挡块(21)下表面与摊平块(17)上表面平齐,所述第二电磁铁(24)安装在滑动块(19)内部;所述滑动块(19)下表面固定连接有研磨层(22),所述滑动块(19)下表面初始状态与摊平块(17)下表面平齐;所述清扫叶片(23)呈弧形,且弧形对应圆心位于其转动迎面一侧,其中排料管(27)输入端位于清扫叶片(23)中部。
2.根据权利要求1所述的一种污水微塑料复合处理装置,其特征在于,其中:所述絮凝室(2)顶部连通有进水管(4)、加药管(5)和铁粉进料管(6),所述絮凝室(2)底部连通有排水管(13),所述烘干室(3)顶部连通有排气管(16),所述烘干室(3)底部连通有排料管(27),所述收集扁管(25)输出端连通有铁粉出料管(26),所述进水管(4)、加药管(5)、铁粉进料管(6)、排水管(13)、连通管(14)、排气管(16)、铁粉出料管(26)和排料管(27)上均安装有阀门。
发明内容
本发明提出的一种污水微塑料复合处理装置,目的是为了解决传统技术中缺少对微塑料絮凝物的烘干分离操作容易在收集铁粉时使絮凝物粘附在磁筒上污染磁筒且影响对铁粉的回收的问题。
为了实现上述目的,本发明采用了如下技术方案:
一种污水微塑料复合处理装置,包括:
处理箱,所述处理箱内设置有絮凝室和烘干室,其中絮凝室位于烘干室上方,所述絮凝室底部与烘干室顶部之间连通有连通管;
搅拌机构,所述搅拌机构包括搅拌组件、搅拌块和第一电磁铁,所述搅拌组件连接在处理箱上,所述搅拌组件输出端伸入絮凝室内,且连接有多个搅拌块,多个所述搅拌块内均安装有第一电磁铁;
烘干机构,所述烘干机构包括加热器、摊平组件、清扫叶片、第二电磁铁和收集扁管,所述加热器安装在烘干室底部内,所述摊平组件连接在搅拌组件输出端伸入烘干室内一端上,所述摊平组件输出端与烘干室内底部间隙设置,所述清扫叶片连接在搅拌组件输出端伸入烘干室内一端上,所述清扫叶片底部抵靠在烘干室内底部上,所述收集扁管固定连接在烘干室内,所述摊平组件输出端内安装有第二电磁铁,所述收集扁管输出端与摊平组件输出端相互配合。
优选地,所述絮凝室顶部连通有进水管、加药管和铁粉进料管,所述絮凝室底部连通有排水管,所述烘干室顶部连通有排气管,所述烘干室底部连通有排料管,所述收集扁管输出端连通有铁粉出料管,所述进水管、加药管、铁粉进料管、排水管、连通管、排气管、铁粉出料管和排料管上均安装有阀门。
优选地,所述搅拌组件包括搅拌电机、搅拌轴和连接杆,所述搅拌电机安装在处理箱顶部外,所述搅拌电机输出端同轴固定连接有搅拌轴,所述搅拌轴底端密封贯穿伸入絮凝室内,所述搅拌轴伸入絮凝室内一端固定连接有多个连接杆,多个所述连接杆远离搅拌轴一端与多个搅拌块一一对应固定连接。
优选地,所述搅拌轴上同轴固定连接有上升叶片,所述上升叶片位于絮凝室内底部,所述上升叶片采用螺旋叶片,且螺旋轴向沿搅拌轴向上。
优选地,所述摊平组件包括多个摊平块,所述搅拌轴底端密封贯穿伸入烘干室内,多个所述摊平块呈圆形阵列分布在搅拌轴上,其中连通管底端位于摊平块与烘干室内底部之间。
优选地,所述摊平组件还包括研磨结构,所述研磨结构包括滑动块、复位弹簧和阻挡块,所述摊平块上贯穿开设有滑动槽,所述滑动槽内滑动连接有滑动块,所述滑动块与摊平块之间固定连接有多个复位弹簧,所述烘干室内顶部固定连接有阻挡块,所述阻挡块底部设置有斜倒角,所述阻挡块下表面与摊平块上表面平齐,所述第二电磁铁安装在滑动块内部。
优选地,所述滑动块下表面固定连接有研磨层,所述滑动块下表面初始状态与摊平块下表面平齐。
优选地,所述清扫叶片呈弧形,且弧形对应圆心位于其转动迎面一侧,其中排料管输入端位于清扫叶片中部。
与现有技术相比,本发明具备以下有益效果:
1、本发明通过设置搅拌机构,搅拌电机输出端通过搅拌轴和多个连接杆带动多个搅拌块转动,对絮凝室内的污水形成搅拌效果,提高絮凝剂与污水中微塑料的结合效果,使污水中的微塑料形成絮凝物,同时在搅拌作用下使絮凝物与铁粉结合,使絮凝物具有铁磁性,方便在控制第一电磁铁通电后,使絮凝物被磁性吸附在搅拌块上,方便完成对污水中微塑料的分离处理效果。
2、本发明通过设置上升叶片,搅拌轴转动带动上升叶片转动,上升叶片转动推动其附近的污水向上流动,从而带动污水中的絮凝物向上运动,提高絮凝物与搅拌块的接触效果,方便对污水中的絮凝物形成全面吸附效果。
3、本发明通过设置摊平组件,通过加热器对烘干室内进行烘干操作,搅拌轴转动时带动多个摊平块转动,摊平块转动对落在烘干室内的絮凝物进行摊平,提高对絮凝物的烘干效果。
4、本发明通过设置研磨结构,在摊平块转动接触阻挡块时,滑动块在阻挡块的阻碍下,克服复位弹簧的弹力向下移动,从而对烘干室内的絮凝物形成研磨效果,方便后续分离出絮凝物中的铁粉。
5、本发明通过设置烘干机构,在完成对絮凝物的摊平烘干和研磨后,控制第二电磁铁通电,将铁粉磁性吸附在滑动块底部,在滑动块随摊平块转动经过收集扁管时,收集扁管将滑动块底部的铁粉刮除,使铁粉通过收集扁管和铁粉出料管排出,同时搅拌轴转动带动清扫叶片转动,清扫叶片转动将烘干室内的微塑料和其他杂质逐渐清扫收集,再通过排料管收集排出。
6、本发明通过设置搅拌机构和烘干机构,在烘干室完成对絮凝物的烘干和分离处理时,絮凝室同步完成对污水的絮凝处理,提高对污水中微塑料的处理效率。
(发明人:黄巧灵;郭明新)






