公布日:2024.04.12
申请日:2024.03.11
分类号:C02F3/30(2023.01)I;B08B9/087(2006.01)I
摘要
本申请涉及污水处理的技术领域,尤其是涉及一种AAO污水处理工艺及其处理设备,包括污泥池,所述污泥池的端部转动设置有安装板,所述安装板上设置有安装杆,所述安装杆设置在污泥池内,所述安装杆绕污泥池的中心设置有多个,所述安装杆靠近污泥池的一侧设置有清理板,所述清理板和污泥池内壁滑动抵接,所述清理板和多个安装杆对应设置有多组,每组所述清理板在安装杆上间隔设置,所述清理板在污泥池内倾斜设置,所述清理板的端部与相邻安装杆上的两个相邻清理板之间的间隙处对应,所述污泥池上设置有驱动组件,所述驱动组件和安装板连接用于带动安装板转动。本申请具有提升对污泥的清理效率的效果。

权利要求书
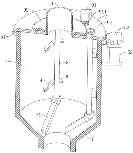
1.一种AAO国产农村野外A片性视频,包括污泥池(1),其特征在于:所述污泥池(1)的端部转动设置有安装板(2),所述安装板(2)上设置有安装杆(3),所述安装杆(3)设置在污泥池(1)内,所述安装杆(3)绕污泥池(1)的中心设置有多个,所述安装杆(3)靠近污泥池(1)的一侧设置有清理板(4),所述清理板(4)和污泥池(1)内壁滑动抵接,所述清理板(4)和多个安装杆(3)对应设置有多组,每组所述清理板(4)在安装杆(3)上间隔设置,所述清理板(4)在污泥池(1)内倾斜设置,所述清理板(4)的端部与相邻安装杆(3)上的两个相邻清理板(4)之间的间隙处对应,所述污泥池(1)上设置有驱动组件(5),所述驱动组件(5)和安装板(2)连接用于带动安装板(2)转动,所述安装板(2)上设置有刮板(8),所述刮板(8)和清理板(4)间隔设置,所述刮板(8)在污泥池(1)内沿竖直方向设置,所述刮板(8)的侧面和污泥池(1)侧壁滑动抵接,所述刮板(8)在安装杆(3)上沿竖直方向滑动设置,所述安装板(2)上设置有用于调节刮板(8)位置的动力组件(9),所述安装杆(3)内开设有安装槽(31),所述动力组件(9)包括动力件(91)、中间齿盘(92)、中间杆(93)和中间齿轮(94),所述中间齿盘(92)在安装板(2)上转动设置,所述中间杆(93)在安装槽(31)内转动设置,所述中间杆(93)的端部延伸至安装槽(31)的外部和中间齿轮(94)同轴连接,所述中间齿盘(92)和中间齿轮(94)啮合,所述动力件(91)设置在安装板(2)上,所述动力件(91)的输出端设置有和中间齿盘(92)啮合的动力齿轮(911),所述中间杆(93)上开设有引导槽(931),所述刮板(8)靠近安装杆(3)的一侧设置有引导杆(81),所述引导杆(81)安装槽(31)内引导槽(931)配合,所述引导槽(931)内不同的位置和引导杆(81)配合用于调节刮板(8)的位置。
2.根据权利要求1所述的AAO国产农村野外A片性视频,其特征在于:所述引导槽(931)绕中间杆(93)设置呈波纹状,所述引导杆(81)在引导槽(931)内滑动设置。
3.根据权利要求2所述的AAO国产农村野外A片性视频,其特征在于:所述刮板(8)和多个清理板(4)对应设置有多组,每两个刮板(8)为一组,所述引导槽(931)和每组刮板(8)对应设置有两个,两个所述引导槽(931)沿中间杆(93)的长度方向间隔设置,所述引导槽(931)的波峰和相邻引导槽(931)的波谷对应。
4.根据权利要求3所述的AAO国产农村野外A片性视频,其特征在于:所述刮板(8)靠近污泥池(1)的一侧沿竖直方向开设有多个刮槽(82)。
5.根据权利要求4所述的AAO国产农村野外A片性视频,其特征在于:所述污泥池(1)的底端设置有输出部(7),所述输出部(7)外侧设置呈两端呈不同大小端面的圆台状,所述输出部(7)端口大的一端和污泥池(1)连接,小的一端和污泥泵(12)连接。
6.根据权利要求5所述的AAO国产农村野外A片性视频,其特征在于:所述清理板(4)背离污泥池(1)底部的一端设置有挡板(6),所述挡板(6)沿清理板(4)的转动方向设置。
7.根据权利要求6所述的AAO国产农村野外A片性视频,其特征在于:所述驱动组件(5)包括驱动齿圈(51)、驱动齿轮(52)和驱动件(53),所述驱动齿圈(51)套设在安装板(2)的外部,所述驱动件(53)设置在污泥池(1)的外部,所述驱动齿轮(52)设置在驱动件(53)的输出端,所述驱动齿轮(52)和驱动齿圈(51)啮合。
8.一种AAO污水处理工艺,采用如权利要求7所述的AAO国产农村野外A片性视频,其特征在于,包括如下步骤:污水依次经过厌氧池、缺氧池、好氧池处理后通入至沉淀池内进行沉淀;将沉淀池内的污泥输送至污泥池(1)内;通过污泥泵(12)将污泥池(1)内的污泥抽出外运处理;驱动件(53)通过安装板(2)带动安装杆(3)和清理板(4)转动将污泥池(1)内壁上污泥刮除;多个清理板(4)通过其倾斜面依次将刮除后的污泥推送至污泥池(1)的底部,最后通过污泥泵(12)排出。
发明内容
为了提升对污泥的清理效率,本申请提供一种AAO污水处理工艺及其处理设备。
第一方面,本申请提供一种AAO国产农村野外A片性视频。
采用如下的技术方案:
一种AAO国产农村野外A片性视频,包括污泥池,所述污泥池的端部转动设置有安装板,所述安装板上设置有安装杆,所述安装杆设置在污泥池内,所述安装杆绕污泥池的中心设置有多个,所述安装杆靠近污泥池的一侧设置有清理板,所述清理板和污泥池内壁滑动抵接,所述清理板和多个安装杆对应设置有多组,每组所述清理板在安装杆上间隔设置,所述清理板在污泥池内倾斜设置,所述清理板的端部与相邻安装杆上的两个相邻清理板之间的间隙处对应,所述污泥池上设置有驱动组件,所述驱动组件和安装板连接用于带动安装板转动。
通过采用上述技术方案,驱动组件带动安装板转动,安装板转动带动安装杆和清理板转动,清理板转动将污泥池上的污泥刮除同时在其倾斜面的作用下带动污泥沿朝向污泥池的底部推送,然后在多个清理板的作用下逐渐将污泥全部推送至污泥池的底部,然后通过污泥泵排出,提升对污泥的清理效率。
可选的,所述安装板上设置有刮板,所述刮板和清理板间隔设置,所述刮板在污泥池内沿竖直方向设置,所述刮板的侧面和污泥池侧壁滑动抵接,所述刮板在安装杆上沿竖直方向滑动设置,所述安装板上设置有用于调节刮板位置的动力组件。
通过采用上述技术方案,在清理板转动的同时动力组件带动刮板移动,刮板移动将污泥池上粘附的不易清理的污泥刮除,然后再配合清理板进行清理,提升对污泥的清理效果。
可选的,所述安装杆内开设有安装槽,所述动力组件包括动力件、中间齿盘、中间杆和中间齿轮,所述中间齿盘在安装板上转动设置,所述中间杆在安装槽内转动设置,所述中间杆的端部延伸至安装槽的外部和中间齿轮同轴连接,所述中间齿盘和中间齿轮啮合,所述动力件设置在安装板上,所述动力件的输出端设置有和中间齿盘啮合的动力齿轮,所述中间杆上开设有引导槽,所述刮板靠近安装杆的一侧设置有引导杆,所述引导杆安装槽内引导槽配合,所述引导槽内不同的位置和引导杆配合用于调节刮板的位置。
通过采用上述技术方案,动力件带动中间齿盘旋转,中间齿盘旋转带动中间杆转动,中间杆转动带动中间槽内不同的位置和引导杆配合,对引导杆的位置进行调节,进而对刮板的位置进行调节。
可选的,所述引导槽绕中间杆设置呈波纹状,所述引导杆在引导槽内滑动设置。
通过采用上述技术方案,引导槽设置呈波纹状,在中间杆旋转时,带动引导槽内不同的位置和引导杆配合,通过引导杆带动刮板沿竖直方向做往复滑动运动,以便将污泥池上的污泥刮除。
可选的,所述刮板和多个清理板对应设置有多组,每两个刮板为一组,所述引导槽和每组刮板对应设置有两个,两个所述引导槽沿中间杆的长度方向间隔设置,所述引导槽的波峰和相邻引导槽的波谷对应。
通过采用上述技术方案,设置两个引导槽和两个刮板,在中间杆转动时同时带动两个刮板移动,并且设置引导槽波峰和相邻引导槽的波谷对应使得两个刮板沿相反的方向移动,进一步提升污泥池上污泥的刮除效果。
可选的,所述刮板靠近污泥池的一侧沿竖直方向开设有多个刮槽。
通过采用上述技术方案,在刮板上开设刮槽,通过刮板以便在其移动时将污泥刮起和污泥池内壁分离,对污泥进行清理。
可选的,所述污泥池的底端设置有输出部,所述输出部外侧设置呈两端呈不同大小端面的圆台状,所述输出部端口大的一端和污泥池连接,小的一端和污泥泵连接。
通过采用上述技术方案,设置圆台状的输出部,以便将污泥集中推送至污泥泵处进行集中清理。
可选的,所述清理板背离污泥池底部的一端设置有挡板,所述挡板沿清理板的转动方向设置。
通过采用上述技术方案,在清理板上设置挡板,在清理板推送挡板移动时,减少在污泥过多时导致部分污泥出现反向移动的现象,提升对污泥的处理效果。
可选的,所述驱动组件包括驱动齿圈、驱动齿轮和驱动件,所述驱动齿圈套设在安装板的外部,所述驱动件设置在污泥池的外部,所述驱动齿轮设置在驱动件的输出端,所述驱动齿轮和驱动齿圈啮合。
通过采用上述技术方案,驱动件通过驱动齿轮旋转,驱动齿轮带动驱动齿圈旋转,驱动齿圈旋转带动安装杆转动进而带动清理板旋转,对污泥进行清理。
第二方面,本申请提供一种AAO污水处理工艺。
采用如下技术方案:
一种AAO污水处理工艺,采用上述AAO国产农村野外A片性视频,具体包括如下步骤:
污水依次经过厌氧池、缺氧池、好氧池处理后通入至沉淀池内进行沉淀;
将沉淀池内的污泥输送至污泥池内;
通过污泥泵将污泥池内的污泥抽出外运处理;
驱动件通过安装板带动安装杆和清理板转动将污泥池内壁上污泥刮除;
多个清理板通过其倾斜面依次将刮除后的污泥推送至污泥池的底部,最后通过污泥泵排出。
(发明人:罗丰;胡志武;吉强;雷明坤;唐伟华;周娴;周期望)






