公布日:2023.09.22
申请日:2023.07.07
分类号:C02F9/00(2023.01)I;C02F103/36(2006.01)N;C02F1/38(2023.01)N;C02F1/40(2023.01)N;C02F1/00(2023.01)N;C02F11/13(2019.01)N
摘要
酸性水无动力除油除杂装置及其方法,涉及石油化工技术领域,包括分离器和过滤器,所述分离器通过管线与过滤器连接,所述分离器上通过管线分别连接有酸性污水罐、轻污油收集罐和酸性水罐,所述过滤器上设有纯水注入线和氮气注入线,所述过滤器内部设有过滤袋,所述过滤袋下方设有蒸汽盘管,所述过滤器底部通过管线与酸性水罐连接,所述过滤器顶部通过管线与酸性水罐连接,本装置工作过程中全程利用外来酸性水输入的压力进行工作,没有使用其他的动力装置,不消耗电能,在节能降耗方面具有较大优势,同时本装置相比其他处理装置而言产出的污泥为干污泥,可直接装袋处理,大大降低了处理难度与处理费用。

权利要求书
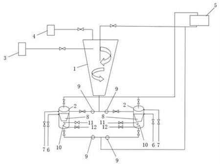
1.一种酸性水无动力除油除杂装置,包括分离器(1)和过滤器(2),所述分离器(1)通过管线与过滤器(2)连接,其特征在于,所述分离器(1)上通过管线分别连接有酸性污水罐(3)、轻污油收集罐(4)和酸性水罐(5),所述酸性污水罐(3)与分离器(1)连接的管线侧向横切进入分离器(1)内且使得酸性污水罐(3)内的酸性污水进入分离器(1)内部形成漩涡,所述轻污油收集罐(4)和酸性水罐(5)与分离器(1)连接的管线均设在分离器(1)顶部;所述过滤器(2)上设有纯水注入线(6)和氮气注入线(7),所述过滤器(2)内部设有过滤袋(8),所述过滤器(2)底部通过管线与酸性水罐(5)连接,所述过滤器(2)顶部通过管线与酸性水罐(5)连接。
2.如权利要求1所述一种酸性水无动力除油除杂装置,其特征在于,所述酸性水罐(5)与分离器(1)连接的管线延伸至分离器(1)内中部。
3.如权利要求1所述一种酸性水无动力除油除杂装置,其特征在于,所述过滤器(2)的数量为两个,两个所述过滤器(2)并列设置在分离器(1)底部。
4.如权利要求1所述一种酸性水无动力除油除杂装置,其特征在于,所述过滤袋(8)下方设有蒸汽盘管(10),所述蒸汽盘管(10)上连接有蒸汽注入管线(11)和凝结水出水管线(12),所述蒸汽注入管线(11)和凝结水出水管线(12)均延伸至过滤器(2)外部。
5.如权利要求1所述一种酸性水无动力除油除杂装置,其特征在于,所述分离器(1)顶部通过管线与酸性水罐(5)底部连接,所述过滤器(2)底部通过管线与分离器(1)顶部连接酸性水罐(5)的管线连通,所述过滤器(2)顶部通过管线与酸性水罐(5)顶部连接。
6.如权利要求3所述一种酸性水无动力除油除杂装置,其特征在于,所述过滤器(2)的入口管线和出口管线上均设有压差监控仪表(9)。
7.一种采用如权利要求16任一所述装置的除油除杂方法,其特征在于,包括以下步骤:S1:酸性污水罐(3)输送过来的酸性污水首先进入分离器(1)中,在设备首次投用时,需要打开顶部的污油排放阀排气至轻污油收集罐(4)内,让液体将整个分离器(1)全部充满;S2:酸性污水沿设备横切线进入,在分离器(1)内形成旋转流动状态,在流动过程中,固体杂质由于离心力作用运动到分离器(1)内壁上,沿分离器(1)内壁汇聚到分离器(1)底部,轻污油由于比重较轻,移动至分离器(1)顶部,待运行一段时间后,打开顶部排油阀门,利用设备内部压力将顶部收集的轻污油排出至轻污油收集罐(4),然后与其他污油一起外送;S3:分离出的固体杂质随小部分酸性水从分离器(1)底部管线进入过滤器(2)对固体杂质进行过滤;S4:分离器(1)分离完成的酸性水由延伸至分离器(1)内中部位置的管线输送,与过滤器(2)底部过滤后的酸性水汇合外送至酸性水罐(5);S5:当一台过滤器(2)的压差较大时,关闭酸性水进此台过滤器(2)的阀门,打开酸性水进入另一台过滤器(2)的阀门,投用另一台过滤器(2);S6:打开过滤器(2)上的纯水注入线(6),置换过滤器(2)内的酸性水;S7:待置换完成后,打开氮气阀门,关闭纯水阀门,将过滤器(2)内的液体全部压出后关闭过滤器(2)出口阀门;S8:打开蒸汽盘管(10)蒸汽进口阀门与凝结水出口阀门,对过滤器(2)进行加热;S9:打开过滤器(2)顶部气体排出阀门,稍开氮气阀门,维持过滤器(2)内压力,温度升高后持续进行45小时干燥处理;S10:干燥处理完成后,关闭蒸汽盘管(10),利用氮气吹扫对过滤器(2)降温;S11:温度下降后,关闭氮气,过滤器(2)内压力下降至与酸性水罐(5)内的压力平衡后,关闭过滤器(2)顶部气体排出阀门;S12:拆开过滤器(2)顶盖,拆出过滤袋(8),将过滤袋(8)内的干燥污泥杂质装袋处理,然后清洗过滤袋(8),将清洗过后的过滤袋(8)重新安装入过滤器(2)中,盖合过滤器(2)顶盖;S13:若另一台过滤器(2)前后压差较大需要清理时,重复S5S12步骤。
8.如权利要求7所述的除油除杂方法,其特征在于,所述蒸汽盘管(10)的加热温度为80100℃。
发明内容
针对以上现有技术的不足,本发明的目的在于提供一种酸性水无动力除油除杂装置及其方法,能够解决以上技术问题。
为了实现上述目的,本发明提供如下技术方案:一种酸性水无动力除油除杂装置,包括分离器和过滤器,所述分离器通过管线与过滤器连接,所述分离器上通过管线分别连接有酸性污水罐、轻污油收集罐和酸性水罐,所述酸性污水罐与分离器连接的管线侧向横切进入分离器内且使得酸性污水罐内的酸性污水进入分离器内部形成漩涡,所述轻污油收集罐和酸性水罐与分离器连接的管线均设在分离器顶部;所述过滤器上设有纯水注入线和氮气注入线,所述过滤器内部设有过滤袋,所述过滤器底部通过管线与酸性水罐连接,所述过滤器顶部通过管线与酸性水罐连接。
优选地,所述酸性水罐与分离器连接的管线延伸至分离器内中部。
优选地,所述过滤器的数量为两个,两个所述过滤器并列设置在分离器底部。
优选地,所述过滤袋下方设有蒸汽盘管,所述蒸汽盘管上连接有蒸汽注入管线和凝结水出水管线,所述蒸汽注入管线和凝结水出水管线均延伸至过滤器外部。
优选地,所述分离器顶部通过管线与酸性水罐底部连接,所述过滤器底部通过管线与分离器顶部连接酸性水罐的管线连通,所述过滤器顶部通过管线与酸性水罐顶部连接。
优选地,所述过滤器的入口管线和出口管线上均设有压差监控仪表。
一种酸性水无动力除油除杂方法,包括以下步骤:S1:酸性污水罐输送过来的酸性污水首先进入分离器中,在设备首次投用时,需要打开顶部的污油排放阀排气至轻污油收集罐内,让液体将整个分离器全部充满;S2:酸性污水沿设备横切线进入,在分离器内形成旋转流动状态,在流动过程中,固体杂质由于离心力作用运动到分离器内壁上,沿分离器内壁汇聚到分离器底部,轻污油由于比重较轻,移动至分离器顶部,待运行一段时间后,打开顶部排油阀门,利用设备内部压力将顶部收集的轻污油排出至轻污油收集罐,然后与其他污油一起外送;S3:分离出的固体杂质随小部分酸性水从分离器底部管线进入过滤器对固体杂质进行过滤;S4:分离器分离完成的酸性水由延伸至分离器内中部位置的管线输送,与过滤器底部过滤后的酸性水汇合外送至酸性水罐;S5:当一台过滤器的压差较大时,关闭酸性水进此台过滤器的阀门,打开酸性水进入另一台过滤器的阀门,投用另一台过滤器;S6:打开过滤器上的纯水注入线,置换过滤器内的酸性水;S7:待置换完成后,打开氮气阀门,关闭纯水阀门,将过滤器内的液体全部压出后关闭过滤器出口阀门;S8:打开蒸汽盘管蒸汽进口阀门与凝结水出口阀门,对过滤器进行加热;S9:打开过滤器顶部气体排出阀门,稍开氮气阀门,维持过滤器内压力,温度升高后持续进行45小时干燥处理;S10:干燥处理完成后,关闭蒸汽盘管,利用氮气吹扫对过滤器降温;S11:温度下降后,关闭氮气,过滤器内压力下降至与酸性水罐内的压力平衡后,关闭过滤器顶部气体排出阀门;S12:拆开过滤器顶盖,拆出过滤袋,将过滤袋内的干燥污泥杂质装袋处理,然后清洗过滤袋,将清洗过后的过滤袋重新安装入过滤器中,盖合过滤器顶盖;S13:若另一台过滤器前后压差较大需要清理时,重复S5S12步骤。
优选地,所述蒸汽盘管的加热温度为80100℃。
与现有技术相比,本发明的有益效果为:1、本发明的技术方案相比于现有其他的除杂质与除轻污油需要多套设备协同处理的情况,本装置分离器同时具备了去除酸性水中轻污油与固体杂质的功能,设备占地小,操作简单。
2、本装置工作过程中全程利用外来酸性水输入的压力进行工作,没有使用其他的动力装置,不消耗电能,在节能降耗方面具有较大优势。
3、本装置整个运行过程中,少量有害气体直接进入酸性水罐内,没有新的外排污水产生,不产生额外的处理难度,在环保方面具有巨大的优势。
4、对于企业来说,含水分的湿污泥比干燥的污泥处理难度要大得多,湿污泥处理费用也要比干污泥大得多,本装置相比其他处理装置而言产出的污泥为干污泥,可直接装袋处理,大大降低了处理难度与处理费用。
(发明人:刘允鹏;吕烁;初杰;王敏;王玉燕;王佳武)






