公布日:2023.09.19
申请日:2023.06.24
分类号:E02F5/28(2006.01)I;E02F3/88(2006.01)I;E02F3/90(2006.01)I;E02F3/92(2006.01)I;E02F7/02(2006.01)I;E02F7/04(2006.01)I;E02F7/10(2006.01)I
摘要
一种水下环保清淤装置,箱体的内部设有粉碎机构污泥泵体和动力机构;箱体的侧部形成有连通粉碎机构的淤泥进口,淤泥进口处设有搅动机构;粉碎机构和污泥泵体的进口端之间连接有污泥输送管道,污泥泵体的出口端连接有淤泥排管;动力机构和污泥泵体之间动力连接,动力机构还和粉碎机构之间动力连接,粉碎机构和搅动机构之间动力连接;搅动机构将污泥通过淤泥进口输入到粉碎机构进行粉碎处理,经粉碎机构粉碎处理后的污泥由污泥输送管道输入到污泥泵体,污泥泵体通过淤泥排管将粉碎处理后的污泥排出至箱体的外部。本发明搅动的淤泥可进入粉碎机构内对淤泥内部的大杂质进行粉碎,从而避免内部出现堵塞,影响装置正常使用。

权利要求书
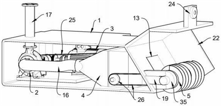
1.一种水下环保清淤装置,其特征在于,包括箱体(1),所述箱体(1)的内部设有粉碎机构(4)、污泥泵体(2)和动力机构(3);所述箱体(1)的侧部形成有连通所述粉碎机构(4)的淤泥进口(13),所述淤泥进口(13)处设有搅动机构(5);所述粉碎机构(4)和所述污泥泵体(2)的进口端之间连接有污泥输送管道(16),所述污泥泵体(2)的出口端连接有淤泥排管(17);所述动力机构(3)和所述污泥泵体(2)之间动力连接,所述动力机构(3)还和所述粉碎机构(4)之间动力连接,所述粉碎机构(4)和所述搅动机构(5)之间动力连接;所述搅动机构(5)将污泥通过所述淤泥进口(13)输入到所述粉碎机构(4)进行粉碎处理,经所述粉碎机构(4)粉碎处理后的污泥由所述污泥输送管道(16)输入到所述污泥泵体(2),所述污泥泵体(2)通过所述淤泥排管(17)将粉碎处理后的污泥排出至所述箱体(1)的外部。
2.根据权利要求1所述的一种水下环保清淤装置,其特征在于,所述粉碎机构(4)包括粉碎箱(10)、粉碎辊(11)及驱动齿轮(12),所述粉碎箱(10)固定在所述箱体(1)的内部,所述粉碎箱(10)的内部连接有两组所述粉碎辊(11),每组所述粉碎辊(11)的辊轴上均固定连接有一组所述驱动齿轮(12),两组所述驱动齿轮(12)之间啮合;所述动力机构(3)与一组所述粉碎辊(11)之间动力连接,所述粉碎箱(10)的一侧设有进入口(14),所述进入口(14)与所述淤泥进口(13)连通,所述粉碎箱(10)的另外一侧设有排出口(15),所述排出口(15)和所述污泥输送管道(16)连通。
3.根据权利要求2所述的一种水下环保清淤装置,其特征在于,所述搅动机构(5)包括搅动辊(18)和连接臂(19),所述箱体(1)上位于所述淤泥进口(13)的两侧位置均固定连接有一组所述连接臂(19),每组所述连接臂(19)均转动连接有所述搅动辊(18),每组所述搅动辊(18)均与所述粉碎辊(11)动力连接。
4.根据权利要求3所述的一种水下环保清淤装置,其特征在于,所述动力机构(3)包括动力输入轴(6)、动力输出轴(7)和第一锥形齿轮(8)、第二锥形齿轮(9);所述动力输入轴(6)的末端连接所述第一锥形齿轮(8),所述动力输出轴(7)的一端连接所述第二锥形齿轮(9),所述第一锥形齿轮(8)和所述第二锥形齿轮(9)之间啮合;所述动力输出轴(7)与一组所述粉碎辊(11)的辊轴通过第一传动件(25)连接,另外一组所述粉碎辊(11)的辊轴与所述搅动辊(18)之间通过第二传动件(26)连接。
5.根据权利要求4所述的一种水下环保清淤装置,其特征在于,所述搅动辊(18)包括两组辊筒(33),两组所述辊筒(33)上均连接有螺旋叶片(34);两组所述辊筒(33)上的所述螺旋叶片(34)螺旋方向相反,所述搅动辊(18)转动时将淤泥向所述淤泥进口(13)方向搅动。
6.根据权利要求4所述的一种水下环保清淤装置,其特征在于,所述第一传动件(25)包括第一链轮(27)、第二链轮(28)及第一链条(29),所述第一链轮(27)连接所述动力输出轴(7);所述第二链轮(28)连接在所述粉碎辊(11)的辊轴上,所述第一链轮(27)与所述第二链轮(28)之间通过所述第一链条(29)连接;所述第二传动件(26)包括第三链轮(30)、第四链轮(31)及第二链条(32),所述第三链轮(30)连接在所述粉碎辊(11)的辊轴上,所述第四链轮(31)连接在所述搅动辊(18)的辊轴上,所述第三链轮(30)与所述第四链轮(31)之间通过所述第二链条(32)连接。
7.根据权利要求6所述的一种水下环保清淤装置,其特征在于,所述连接臂(19)的外侧设有密封盖(35),所述密封盖(35)与所述箱体(1)固定连接,所述密封盖(35)内部与所述箱体(1)的内部连通;所述搅动辊(18)的辊轴位于所述密封盖(35)的内部,所述第四链轮(31)位于所述密封盖(35)的内部,所述第二链条(32)伸入至所述密封盖(35)与所述第四链轮(31)连接。
8.根据权利要求1所述的一种水下环保清淤装置,其特征在于,所述箱体(1)上位于所述淤泥进口(13)的周边固定连接有集拢壳(22)。
9.根据权利要求1所述的一种水下环保清淤装置,其特征在于,还包括牵引船体(20)和牵引臂(21),所述牵引臂(21)的下端与所述箱体(1)之间连接,所述牵引臂(21)的上端与所述牵引船体(20)之间连接。
10.根据权利要求1所述的一种水下环保清淤装置,其特征在于,所述箱体(1)的侧部连接有照明灯(23),所述箱体(1)的顶部连接有摄像头(24)。
发明内容
针对现有技术中存在的上述不足之处,本发明目的在于提供一种水下环保清淤装置,解决水底淤泥内掺杂有大型硬性杂质时,容易出现堵塞的问题。
本发明解决上述技术问题的技术方案如下:一种水下环保清淤装置,包括箱体,所述箱体的内部设有粉碎机构、污泥泵体和动力机构;所述箱体的侧部形成有连通所述粉碎机构的淤泥进口,所述淤泥进口处设有搅动机构;所述粉碎机构和所述污泥泵体的进口端之间连接有污泥输送管道,所述污泥泵体的出口端连接有淤泥排管;
所述动力机构和所述污泥泵体之间动力连接,所述动力机构还和所述粉碎机构之间动力连接,所述粉碎机构和所述搅动机构之间动力连接;
所述搅动机构将污泥通过所述淤泥进口输入到所述粉碎机构进行粉碎处理,经所述粉碎机构粉碎处理后的污泥由所述污泥输送管道输入到所述污泥泵体,所述污泥泵体通过所述淤泥排管将粉碎处理后的污泥排出至所述箱体的外部。
作为水下环保清淤装置优选方案,所述粉碎机构包括粉碎箱、粉碎辊及驱动齿轮,所述粉碎箱固定在所述箱体的内部,所述粉碎箱的内部连接有两组所述粉碎辊,每组所述粉碎辊的辊轴上均固定连接有一组所述驱动齿轮,两组所述驱动齿轮之间啮合;
所述动力机构与一组所述粉碎辊之间动力连接,所述粉碎箱的一侧设有进入口,所述进入口与所述淤泥进口连通,所述粉碎箱的另外一侧设有排出口,所述排出口和所述污泥输送管道连通。
作为水下环保清淤装置优选方案,所述搅动机构包括搅动辊和连接臂,所述箱体上位于所述淤泥进口的两侧位置均固定连接有一组所述连接臂,每组所述连接臂均转动连接有所述搅动辊,每组所述搅动辊均与所述粉碎辊动力连接。
作为水下环保清淤装置优选方案,所述动力机构包括动力输入轴、第一锥形齿轮、第二锥形齿轮和动力输出轴;
所述动力输入轴的末端连接所述第一锥形齿轮,所述动力输出轴的一端连接所述第二锥形齿轮,所述第一锥形齿轮和所述第二锥形齿轮之间啮合;
所述动力输出轴与一组所述粉碎辊的辊轴通过第一传动件连接,另外一组所述粉碎辊的辊轴与所述搅动辊之间通过第二传动件连接。
作为水下环保清淤装置优选方案,所述搅动辊包括两组辊筒,两组所述辊筒上均连接有螺旋叶片;
两组所述辊筒上的所述螺旋叶片螺旋方向相反,所述搅动辊转动时将淤泥向所述淤泥进口方向搅动。
作为水下环保清淤装置优选方案,所述第一传动件包括第一链轮、第二链轮及第一链条,所述第一链轮连接所述动力输出轴;所述第二链轮连接在所述粉碎辊的辊轴上,所述第一链轮与所述第二链轮之间通过所述第一链条连接;
所述第二传动件包括第三链轮、第四链轮及第二链条,所述第三链轮连接在所述粉碎辊的辊轴上,所述第四链轮连接在所述搅动辊的辊轴上,所述第三链轮与所述第四链轮之间通过所述第二链条连接。
作为水下环保清淤装置优选方案,所述连接臂的外侧设有密封盖,所述密封盖与所述箱体固定连接,所述密封盖内部与所述箱体的内部连通;
所述搅动辊的辊轴位于所述密封盖的内部,所述第四链轮位于所述密封盖的内部,所述第二链条伸入至所述密封盖与所述第四链轮连接。
作为水下环保清淤装置优选方案,所述箱体上位于所述淤泥进口的周边固定连接有集拢壳。
作为水下环保清淤装置优选方案,还包括牵引船体和牵引臂,所述牵引臂的下端与所述箱体之间连接,所述牵引臂的上端与所述牵引船体之间连接。
作为水下环保清淤装置优选方案,所述箱体的侧部连接有照明灯,所述箱体的顶部连接有摄像头。
本发明的有益效果是,箱体的内部设有粉碎机构污泥泵体和动力机构;箱体的侧部形成有连通粉碎机构的淤泥进口,淤泥进口处设有搅动机构;粉碎机构和污泥泵体的进口端之间连接有污泥输送管道,污泥泵体的出口端连接有淤泥排管;动力机构和污泥泵体之间动力连接,动力机构还和粉碎机构之间动力连接,粉碎机构和搅动机构之间动力连接;搅动机构将污泥通过淤泥进口输入到粉碎机构进行粉碎处理,经粉碎机构粉碎处理后的污泥由污泥输送管道输入到污泥泵体,污泥泵体通过淤泥排管将粉碎处理后的污泥排出至箱体的外部。本发明通过动力机构可带动污泥泵体工作,从而使得污泥泵体产生泵吸力,而同时通过动力机构可带动搅动机构进行转动,从而将水底淤泥进行搅动,保证淤泥松散,便于泵取,而搅动的淤泥可进入粉碎机构内对淤泥内部的大杂质进行粉碎,从而避免内部出现堵塞,影响装置正常使用。
(发明人:姜恒;彭赤彬;徐贵)






