公布日:2023.09.15
申请日:2023.08.09
分类号:B01D21/32(2006.01)I;B01D21/24(2006.01)I
摘要
本申请涉及污泥排放技术领域,公开了一种适用于沉淀池污泥排放的控制装置和控制方法,包括:第一金属管设于沉淀池内,内设加热电阻,两端分别与沉淀池两侧壁滑动连接;第一电机驱动第一金属管在水平方向移动;红外热成像摄像头实时获取第一金属管表面的热成像图像;控制模块分别第一电机、加热电阻、红外热成像摄像头和阀门连接。第一金属管移动过程中,红外热成像摄像头实时获取第一金属管的热成像图像,控制器根据热成像图像确定第一金属管所在位置的污泥是否达到第一金属管所在位置,根据热成像图像暗淡的区域控制第一金属管所在位置对应的排泥口处的阀门开启,实现沉淀池精准化排泥,提升沉淀池排泥效果差,并且自动化控制,降低人力成本。

权利要求书
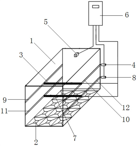
1.一种适用于沉淀池污泥排放的控制装置,所述沉淀池(1)的底部设有沿所述沉淀池(1)底部的长度方向依次排列的多组排泥口组,每组所述排泥口组包括沿所述沉淀池(1)底部的宽度方向依次排列的多个排泥口(2),每个所述排泥口(2)处均设有阀门(201),其特征在于,包括:第一金属管(3),设于所述沉淀池(1)内,所述第一金属管(3)的两端分别与所述沉淀池(1)的两侧壁滑动连接,所述第一金属管(3)内设有加热电阻;第一电机(4),与所述第一金属管(3)连接,用于驱动所述第一金属管(3)在水平方向移动;红外热成像摄像头(5),所述红外热成像摄像头(5)设于所述沉淀池(1)的沉淀区填料以下,用于实时获取所述第一金属管(3)表面的热成像图像;控制模块(6),分别所述第一电机(4)、所述加热电阻、所述红外热成像摄像头(5)和所述阀门(201)连接。
2.根据权利要求1所述的适用于沉淀池污泥排放的控制装置,其特征在于,还包括第一清洗环和第二电机,所述第一清洗环套接于所述第一金属管(3)的外周面,所述第二电机分别与所述第一清洗环和所述控制模块(6)连接,用于驱动所述第一清洗环在所述第一金属管(3)的长度方向滑动,以清洗覆盖在所述第一金属管(3)外周面上污泥。
3.根据权利要求1所述的适用于沉淀池污泥排放的控制装置,其特征在于,还包括第二金属管(7)、第三电机(8)、套接于所述第二金属管(7)外周面的第二清洗环和第四电机,所述第二金属管(7)位于所述第一金属管(3)下方,且所述第二金属管(7)与所述第一金属管(3)相平行,所述第二金属管(7)的两端分别与所述沉淀池(1)的两侧壁滑动连接,所述第二金属管(7)内设有加热电阻,所述第三电机(8)分别与所述第二金属管(7)和所述控制模块(6)连接,用于驱动所述第二金属管(7)在水平方向移动,所述第四电机分别与所述第二清洗环和所述控制模块(6)连接,用于驱动所述第二清洗环在所述第二金属管(7)的长度方向滑动,以清洗覆盖在所述第二金属管(7)外周面上污泥。
4.根据权利要求1所述的适用于沉淀池污泥排放的控制装置,其特征在于,所述沉淀池(1)的底部还连接有多个排泥管道,多个所述排泥管道沿所述第一金属管(3)的移动方向依次排列,每个所述排泥管道上设有支列阀门(13)。
5.根据权利要求3所述的适用于沉淀池污泥排放的控制装置,其特征在于,所述沉淀池(1)的两侧壁设有第一导轨槽(9)、第二导轨槽(10)、第三导轨槽(11)、第四导轨槽(12),所述第一导轨槽(9)滑动连接有第一固定夹片,所述第二导轨槽(10)滑动连接有第二固定夹片,所述第三导轨槽(11)滑动连接有第三固定夹片,所述第四导轨槽(12)滑动连接有第四固定夹片,所述第一金属管(3)的两端分别与所述第一固定夹片和所述第二固定夹片连接,所述第二金属管(7)的两端分别与所述第三固定夹片和所述第四固定夹片连接。
6.根据权利要求1所述的适用于沉淀池污泥排放的控制装置,其特征在于,所述红外热成像摄像头(5)为防水摄像头,且所述防水摄像头的镜面设有自清洗毛刷。
7.根据权利要求3所述的适用于沉淀池污泥排放的控制装置,其特征在于,所述第一金属管(3)和所述第二金属管(7)的内部均匀分布有多个所述加热电阻。
8.一种适用于沉淀池污泥排放的控制方法,其特征在于,应用于权利要求1至7任一项所述的适用于沉淀池污泥排放的控制装置,包括:控制第一电机(4)驱动沉淀池(1)内的第一金属管(3)在水平方向移动;实时获取红外热成像摄像头(5)拍摄的所述第一金属管(3)表面的第一热成像图像;判断当前第一热成像图像中的各区域是否清晰;若所述当前第一热成像图像的各区域均暗淡时,控制所述第一电机(4)暂停,确定所述当前第一热成像图像对应的所述第一金属管(3)所在的当前位置,以及所述当前位置对应的目标排泥口组,控制所述目标排泥口组中的所有排泥口(2)处的阀门(201)均开启,以排放污泥;若所述当前第一热成像图像的部分区域暗淡时,控制所述第一电机(4)暂停,确定所述当前第一热成像图像中暗淡的目标区域,以及所述目标区域对应的所述第一金属管(3)的目标位置,根据所述目标位置确定所述目标排泥口组中的目标排泥口,并控制所述目标排泥口处的目标阀门开启,以排放污泥。
9.根据权利要求8所述的适用于沉淀池污泥排放的控制方法,其特征在于,在所述排放污泥后,还包括:控制第二电机驱动第一清洗环在所述第一金属管(3)的长度方向滑动,以清洗覆盖在所述第一金属管(3)外周面上污泥,并实时获取所述第一金属管(3)表面的第二热成像图像,在所述第二热成像图像清晰完整之后,进入所述的控制第一电机(4)驱动沉淀池(1)内的第一金属管(3)在水平方向移动的步骤。
10.根据权利要求9所述的适用于沉淀池污泥排放的控制方法,其特征在于,所述控制所述第一电机(4)暂停时,还包括:控制第三电机(8)驱动第二金属管(7)移动至所述第一金属管(3)所在的所述当前位置的正下方位置;控制第四电机驱动第二清洗环在所述第二金属管(7)的长度方向滑动,以清洗覆盖在所述第二金属管(7)外周面上污泥,并实时获取所述第二金属管(7)表面的第三热成像图像,直至所述第三热成像图像清晰完整时,控制所述阀门(201)或所述目标阀门关闭。
发明内容
本申请的目的是提供一种适用于沉淀池污泥排放的控制装置和控制方法,用于解决沉淀池排泥不够精准,沉淀池排泥效果差以及人力成本高的问题。
为解决上述技术问题,本申请提供一种适用于沉淀池污泥排放的控制装置,所述沉淀池的底部设有沿所述沉淀池底部的长度方向依次排列的多组排泥口组,每组所述排泥口组包括沿所述沉淀池底部的宽度方向依次排列的多个排泥口,每个所述排泥口处均设有阀门,包括:
第一金属管,设于所述沉淀池内,所述第一金属管的两端分别与所述沉淀池的两侧壁滑动连接,所述第一金属管内设有加热电阻;
第一电机,与所述第一金属管连接,用于驱动所述第一金属管在水平方向移动;
红外热成像摄像头,所述红外热成像摄像头设于所述沉淀池的沉淀区填料以下,用于实时获取所述第一金属管表面的热成像图像;
控制模块,分别所述第一电机、所述加热电阻、所述红外热成像摄像头和所述阀门连接。
可选的,还包括第一清洗环和第二电机,所述第一清洗环套接于所述第一金属管的外周面,所述第二电机分别与所述第一清洗环和所述控制模块连接,用于驱动所述第一清洗环在所述第一金属管的长度方向滑动,以清洗覆盖在所述第一金属管外周面上污泥。
可选的,还包括第二金属管、第三电机、套接于所述第二金属管外周面的第二清洗环和第四电机,所述第二金属管位于所述第一金属管下方,且所述第二金属管与所述第一金属管相平行,所述第二金属管的两端分别与所述沉淀池的两侧壁滑动连接,所述第二金属管内设有加热电阻,所述第三电机分别与所述第二金属管和所述控制模块连接,用于驱动所述第二金属管在水平方向移动,所述第四电机分别与所述第二清洗环和所述控制模块连接,用于驱动所述第二清洗环在所述第二金属管的长度方向滑动,以清洗覆盖在所述第二金属管外周面上污泥。
可选的,所述沉淀池的底部还连接有多个排泥管道,多个所述排泥管道沿所述第一金属管的移动方向依次排列,每个所述排泥管道上设有支列阀门。
可选的,所述沉淀池的两侧壁设有第一导轨槽、第二导轨槽、第三导轨槽、第四导轨槽,所述第一导轨槽滑动连接有第一固定夹片,所述第二导轨槽滑动连接有第二固定夹片,所述第三导轨槽滑动连接有第三固定夹片,所述第四导轨槽滑动连接有第四固定夹片,所述第一金属管的两端分别与所述第一固定夹片和所述第二固定夹片连接,所述第二金属管的两端分别与所述第三固定夹片和所述第四固定夹片连接。
可选的,所述红外热成像摄像头为防水摄像头,且所述防水摄像头的镜面设有自清洗毛刷。
可选的,所述第一金属管和所述第二金属管的内部均匀分布有多个所述加热电阻。
本申请还提供一种适用于沉淀池污泥排放的控制方法,应用于上述的适用于沉淀池污泥排放的控制装置,包括:
控制第一电机驱动沉淀池内的第一金属管在水平方向移动;
实时获取红外热成像摄像头拍摄的所述第一金属管表面的第一热成像图像;
判断当前第一热成像图像中的各区域是否清晰;
若所述当前第一热成像图像的各区域均暗淡时,控制所述第一电机暂停,确定所述当前第一热成像图像对应的所述第一金属管所在的当前位置,以及所述当前位置对应的目标排泥口组,控制所述目标排泥口组中的所有排泥口处的阀门均开启,以排放污泥;
若所述当前第一热成像图像的部分区域暗淡时,控制所述第一电机暂停,确定所述当前第一热成像图像中暗淡的目标区域,以及所述目标区域对应的所述第一金属管的目标位置,根据所述目标位置确定所述目标排泥口组中的目标排泥口,并控制所述目标排泥口处的目标阀门开启,以排放污泥。
可选的,在所述排放污泥后,还包括:
控制第二电机驱动第一清洗环在所述第一金属管的长度方向滑动,以清洗覆盖在所述第一金属管外周面上污泥,并实时获取所述第一金属管表面的第二热成像图像,在所述第二热成像图像清晰完整之后,进入所述的控制第一电机驱动沉淀池内的第一金属管在水平方向移动的步骤。
可选的,所述控制所述第一电机暂停时,还包括:
控制第三电机驱动第二金属管移动至所述第一金属管所在的所述当前位置的正下方位置;
控制第四电机驱动第二清洗环在所述第二金属管的长度方向滑动,以清洗覆盖在所述第二金属管外周面上污泥,并实时获取所述第二金属管表面的第三热成像图像,直至所述第三热成像图像清晰完整时,控制所述阀门或所述目标阀门关闭。
本申请所提供的一种适用于沉淀池污泥排放的控制装置,沉淀池的底部设有沿沉淀池底部的长度方向依次排列的多组排泥口组,每组排泥口组包括沿沉淀池底部的宽度方向依次排列的多个排泥口,每个排泥口处均设有阀门,包括:第一金属管,设于沉淀池内,第一金属管的两端分别与沉淀池的两侧壁滑动连接,第一金属管内设有加热电阻;第一电机,与第一金属管连接,用于驱动第一金属管在水平方向移动;红外热成像摄像头,红外热成像摄像头设于沉淀池的沉淀区填料以下,用于实时获取第一金属管表面的热成像图像;控制模块,分别第一电机、加热电阻、红外热成像摄像头和阀门连接。在第一金属管移动过程中,红外热成像摄像头实时获取第一金属管的热成像图像,控制器可以根据热成像图像确定第一金属管所在位置的污泥是否达到第一金属管位于沉淀池的高度,并且可以根据热成像图像暗淡的区域控制第一金属管所在位置对应的排泥口处的阀门开启,能够实现沉淀池精准化排泥,提升沉淀池排泥效果差,有效控制沉淀池内不同区域的泥量高低,并且自动化控制,能够降低人力成本。
本申请所提供的一种适用于沉淀池污泥排放的控制方法等有益效果与装置对应,效果如上。
(发明人:尤良洲;衡世权;晋银佳;邱敏;徐展;兰永龙)






