公布日:2023.10.20
申请日:2023.07.20
分类号:C02F9/00(2023.01)I;C02F1/24(2023.01)N;C02F1/04(2023.01)N;C02F103/16(2006.01)N
摘要
本涉及废水处理技术领域,且公开了一种电镀废水处理系统及工艺,包括分离机构,所述分离机构的顶部设置有用于带动刮板往复移动的驱动机构,所述分离机构的前侧设置有用于分离微小金属的蒸发机构,所述蒸发机构包括能够旋转的蒸发筒,所述蒸发筒的顶部设置有用于通入高温蒸汽的进料管。该电镀废水处理系统及工艺,通过设有分离机构,能够先将电镀废水中的油、微小悬浮物和微小金属分离出来,然后再通过将高温蒸汽通入蒸发筒内能够对分离出来的油、微小悬浮物和微小金属进行再次分离,从而能够将其中的微小金属单独地分离出来,通过设有能够旋转蒸发筒,能够提高蒸发的效率,并且解决了微小金属不易分离的问题,使用起来更加方便。

权利要求书
1.一种电镀废水处理系统及工艺,包括分离机构,所述分离机构的顶部设置有用于带动刮板往复移动的驱动机构,其特征在于,所述分离机构的前侧设置有用于分离微小金属的蒸发机构,所述蒸发机构包括能够旋转的蒸发筒,所述蒸发筒的顶部设置有用于通入高温蒸汽的进料管。
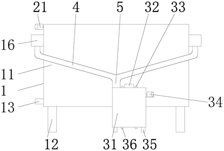
2.根据权利要求1所述的电镀废水处理系统及工艺,其特征在于,所述分离机构包括分离箱,所述分离箱的内部下侧嵌入有曝气箱,所述曝气箱的顶部开设有若干个与分离箱相连通的出气孔,所述曝气箱的一侧固定连接有进气管,所述进气管的一端贯穿分离箱且与外部的气源相连通,所述分离箱的两侧均固定连接有收集槽,所述分离箱的下表面固定连接有分离箱支撑腿。
3.根据权利要求1所述的电镀废水处理系统及工艺,其特征在于,所述驱动机构包括固定安装在分离箱一侧的第一驱动电机,所述分离箱的内壁前后两侧均开设有滑槽,所述滑槽的内部转动连接有双向螺纹杆,所述双向螺纹杆的任一端与第一驱动电机的输出轴固定连接。
4.根据权利要求3所述的电镀废水处理系统及工艺,其特征在于,所述双向螺纹杆上螺纹连接有连接块,两个所述连接块之间固定连接有一个安装板,所述安装板上螺纹连接有多个螺纹柱,位于所述安装板下方的螺纹柱的一端转动连接有刮板。
5.根据权利要求1所述的电镀废水处理系统及工艺,其特征在于,所述蒸发机构还包括蒸发箱,所述蒸发筒的数量为两个,两个所述蒸发筒均转动连接在蒸发箱的内部,所述进料管固定连接在蒸发筒的上表面,所述进料管上固定连接有蜗轮,所述蒸发箱的内部转动连接有用于带动蜗轮旋转的蜗杆,所述蜗杆的任一端与第二驱动电机的输出轴固定连接,所述第二驱动电机固定安装在蒸发箱的一侧。
6.根据权利要求5所述的电镀废水处理系统及工艺,其特征在于,所述蒸发箱的顶部固定安装有抽风机,所述蒸发箱的上表面开设有与抽风机相对应的出风口,所述蒸发筒的底部固定连接有与其相连通的出水管,所述出水管与蒸发箱的连接处设置有用于提高密封效果的旋转密封圈,所述蒸发箱的下表面固定连接有蒸发箱支撑腿。
7.根据权利要求5所述的电镀废水处理系统及工艺,其特征在于,所述蒸发箱的上表面开设有贯穿蒸发箱的进料口,所述进料口与连接管相连通,所述连接管的顶部与两个引流管的一端相连通,两个所述引流管的另一端分别与两个收集槽相连通。
发明内容
本发明专利的目的在于提供一种电镀废水处理系统及工艺,以解决上述背景技术中提出的问题。
本申请实施例采用下述技术方案:
一种电镀废水处理系统及工艺,包括分离机构,所述分离机构的顶部设置有用于带动刮板往复移动的驱动机构,所述分离机构的前侧设置有用于分离微小金属的蒸发机构,所述蒸发机构包括能够旋转的蒸发筒,所述蒸发筒的顶部设置有用于通入高温蒸汽的进料管。
有益效果:
本发明专利通过设有分离机构,能够先将电镀废水中的油、微小悬浮物和微小金属分离出来,然后再通过将高温蒸汽通入蒸发筒内能够对分离出来的油、微小悬浮物和微小金属进行再次分离,从而能够将其中的微小金属单独地分离出来,通过设有能够旋转蒸发筒,能够提高蒸发的效率,并且解决了微小金属不易分离的问题,使用起来更加方便,并且能够提高废物的利用率。
优选的,所述分离机构包括分离箱,所述分离箱的内部下侧嵌入有曝气箱,所述曝气箱的顶部开设有若干个与分离箱相连通的出气孔,所述曝气箱的一侧固定连接有进气管,所述进气管的一端贯穿分离箱且与外部的气源相连通,所述分离箱的两侧均固定连接有收集槽,所述分离箱的下表面固定连接有分离箱支撑腿。
优选的,所述驱动机构包括固定安装在分离箱一侧的第一驱动电机,所述分离箱的内壁前后两侧均开设有滑槽,所述滑槽的内部转动连接有双向螺纹杆,所述双向螺纹杆的任一端与第一驱动电机的输出轴固定连接。
优选的,所述双向螺纹杆上螺纹连接有连接块,两个所述连接块之间固定连接有一个安装板,所述安装板上螺纹连接有多个螺纹柱,位于所述安装板下方的螺纹柱的一端转动连接有刮板。
优选的,所述蒸发机构还包括蒸发箱,所述蒸发筒的数量为两个,两个所述蒸发筒均转动连接在蒸发箱的内部,所述进料管固定连接在蒸发筒的上表面,所述进料管的一端与外部的高温蒸汽发生器相连通,所述进料管上固定连接有蜗轮,所述蒸发箱的内部转动连接有用于带动蜗轮旋转的蜗杆,所述蜗杆的任一端与第二驱动电机的输出轴固定连接,所述第二驱动电机固定安装在蒸发箱的一侧。
优选的,所述蒸发箱的顶部固定安装有抽风机,所述蒸发箱的上表面开设有与抽风机相对应的出风口,所述蒸发筒的底部固定连接有与其相连通的出水管,所述出水管与蒸发箱的连接处设置有用于提高密封效果的旋转密封圈,所述蒸发箱的下表面固定连接有蒸发箱支撑腿。
优选的,所述蒸发箱的上表面开设有贯穿蒸发箱的进料口,所述进料口与连接管相连通,所述连接管的顶部与两个引流管的一端相连通,两个所述引流管的另一端分别与两个收集槽相连通。
(发明人:王彦堂;周明;朱丽莎)






