公布日:2023.10.20
申请日:2023.08.11
分类号:C02F9/00(2023.01)I;C02F1/24(2023.01)N;C02F1/00(2023.01)N;C02F1/66(2023.01)N;C02F1/72(2023.01)N;C02F1/70(2023.01)N
摘要
本发明公开了一种银粉清洗废水回收二次利用装置,包括含氧搅拌装置、化学药液清除箱、静置箱和下部托架。本发明属于废水回收二次利用技术领域,具体是指一种银粉清洗废水回收二次利用装置;由浮力原理可知,利用溶气系统在水中产生大量微细气泡,并使气泡以高度分散的微小气泡形式附着在悬浮物颗粒上,形成密度小于水的状态,从而利用浮力原理使其浮在水面,实现固液分离;由氧化还原反应可知,通过对系统内持续输送氧气,可以使废水中的化学废料发生氧化还原反应,进而使得该化学药剂丧失原本的化学特性,形成无毒无害的稳定化学品,并且由于在氧化还原反应中,其分子数增大,更容易通过与微小气泡结合。

权利要求书
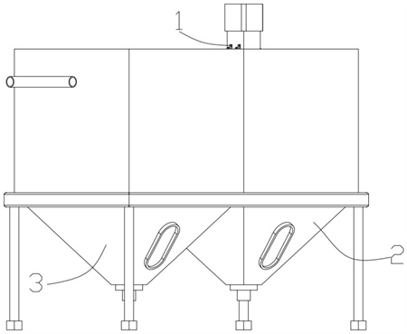
1.一种银粉清洗废水回收二次利用装置,其特征在于:包括含氧搅拌装置(1)、化学药液清除箱(2)、静置箱(3)和下部托架(4),所述含氧搅拌装置(1)设于下部托架(4)的上部,所述化学药液清除箱(2)设于下部托架(4)的上部,所述静置箱(3)设于下部托架(4)的上部,所述含氧搅拌装置(1)包括含氧气泡搅拌器(5)和透孔外壳(6),所述含氧气泡搅拌器(5)设于化学药液清除箱(2)的上部,所述透孔外壳(6)设于含氧气泡搅拌器(5)的外部;所述含氧气泡搅拌器(5)包括电机(101)、电机轴(102)、套环(103)、搅拌连接杆(104)、异形搅拌器(105)、圆环托架(106)、辅助搅拌器(107)、连接座(108)、滑轨(109)、滑动套环(110)、输氧管(111)和卡扣(112);所述电机(101)设于化学药液清除箱(2)的上部,所述电机轴(102)固接于电机(101)的下部,所述套环(103)通过固定螺丝固接于电机轴(102)的下部,所述搅拌连接杆(104)通过固定螺栓固接于套环(103)的下部,所述异形搅拌器(105)固接于搅拌连接杆(104)的下部,所述圆环托架(106)固接于异形搅拌器(105)的下部;辅助搅拌器(107)固接于圆环托架(106)的内部,所述连接座(108)通过固定螺丝可拆卸的连接于电机轴(102)的下部,所述滑轨(109)固接于连接座(108)的下部,所述滑动套环(110)通过滑槽活动连接于滑轨(109),所述卡扣(112)固接于滑动套环(110)的内部,所述输氧管(111)固接于卡扣(112)的内部;所述透孔外壳(6)包括密闭壳(113)、一层透气壳(114)、细小透气孔(115)、二层透气壳(116)、大型透气孔(117),所述密闭壳(113)固接于电机轴(102)的外部,所述一层透气壳(114)固接于密闭壳(113)的下部,所述一层透气壳(114)上设有细小透气孔(115),所述细小透气孔(115)通过开孔工艺贯穿一层透气壳(114),所述二层透气壳(116)固接于一层透气壳(114)的下部,所述二层透气壳(116)上设有大型透气孔(117),所述大型透气孔(117)通过开孔工艺贯穿二层透气壳(116);所述化学药液清除箱(2)包括外壁(201)、外壁溢流口(202)、电机安装台(203)、观察窗(204)和清水排出口(205),所述外壁(201)设于含氧搅拌装置(1)的下部,所述外壁(201)上设有外壁溢流口(202),所述外壁溢流口(202)通过切割工艺贯穿外壁(201),所述电机安装台(203)固接于外壁(201)的上部,所述观察窗(204)固接于外壁(201)的下部,所述清水排出口(205)通过法兰固接于外壁(201)的下部。
2.根据权利要求1所述的一种银粉清洗废水回收二次利用装置,其特征在于:所述静置箱(3)包括静置外壳(301)、污水管道(302)、沉淀物排出口(303)、静置溢流口(304)、螺旋出水管道(305)、沉淀观察口(306)、窄距泄水口(307)和宽距泄水口(308)。
3.根据权利要求2所述的一种银粉清洗废水回收二次利用装置,其特征在于:所述静置外壳(301)设于化学药液清除箱(2)的前部,所述污水管道(302)通过法兰固接于静置外壳(301)的外部,所述沉淀物排出口(303)通过法兰固接于静置外壳(301)的下部,所述静置外壳(301)上设有静置溢流口(304),所述静置溢流口(304)通过切割工艺贯穿静置外壳(301)。
4.根据权利要求3所述的一种银粉清洗废水回收二次利用装置,其特征在于:所述螺旋出水管道(305)固接于静置外壳(301)的内部,所述沉淀观察口(306)固接于静置外壳(301)的下部,所述窄距泄水口(307)通过法兰可拆卸的连接于螺旋出水管道(305),所述宽距泄水口(308)过法兰可拆卸的连接于螺旋出水管道(305)。
5.根据权利要求4所述的一种银粉清洗废水回收二次利用装置,其特征在于:所述下部托架(4)包括托架本体(401)、支撑杆(402)和减震垫(403),所述托架本体(401)设于化学药液清除箱(2)和静置箱(3)的下部,所述支撑杆(402)固接于托架本体(401)的下部,所述减震垫(403)固接于支撑杆(402)的下部。
发明内容
针对上述情况,为克服现有技术的缺陷,本发明提供了一种银粉清洗废水回收二次利用装置,由浮力原理可知,利用溶气系统在水中产生大量微细气泡,并使气泡以高度分散的微小气泡形式附着在悬浮物颗粒上,形成密度小于水的状态,从而利用浮力原理使其浮在水面,实现固液分离。
由氧化还原反应可知,通过对系统内持续输送氧气,可以使废水中的化学废料发生氧化还原反应,进而使得该化学药剂丧失原本的化学特性,形成无毒无害的稳定化学品,并且由于在氧化还原反应中,其分子数增大,更容易通过与微小气泡结合。
本发明采取的技术方案如下:本发明提出了一种银粉清洗废水回收二次利用装置,包括含氧搅拌装置、化学药液清除箱、静置箱和下部托架,所述含氧搅拌装置设于下部托架的上部,通过含氧搅拌装置可以不断搅拌废水,并使废水中的化学药物与析出的氧气反应,从而达到气浮的效果,所述化学药液清除箱设于下部托架的上部,所述静置箱设于下部托架的上部,通过静置箱,可以静置废水,使废水中的银粉逐渐沉淀至底部,方便回收,所述含氧搅拌装置包括含氧气泡搅拌器和透孔外壳,所述含氧气泡搅拌器设于化学药液清除箱的上部,所述透孔外壳设于氧气泡搅拌器的外部。
进一步地,所述含氧气泡搅拌器包括电机、电机轴、套环、搅拌连接杆、异形搅拌器、圆环托架、辅助搅拌器、连接座、滑轨、滑动套环、输氧管和卡扣。
进一步地,所述电机设于化学药液清除箱的上部,所述电机轴固接于电机的下部,所述套环通过固定螺丝固接于电机轴的下部,所述搅拌连接杆通过固定螺栓固接于套环的下部,所述异形搅拌器固接于搅拌连接杆的下部,通过异形搅拌器可以不断搅拌废水,使得由输氧管中析出的空气形成小气泡,并分布均匀,所述圆环托架固接于异形搅拌器的下部。
进一步地,辅助搅拌器固接于圆环托架的内部,所述连接座通过固定螺丝可拆卸的连接于电机轴的下部,所述滑轨固接于连接座的下部,所述滑动套环通过滑槽活动连接于滑轨,所述卡扣固接于滑动套环的内部,所述输氧管固接于卡扣的内部,通过卡扣固定住输氧管,并且由于卡扣与套环固接,故而可以使输氧管沿滑轨的方向上滑动。
进一步地,所述透孔外壳包括密闭壳、一层透气壳、细小透气孔、二层透气壳、大型透气孔,所述密闭壳固接于电机轴的外部,通过密闭壳,可以使由输氧管中析出的氧气沿一层透气壳与二层透气壳流动,所述一层透气壳固接于密闭壳的下部,所述一层透气壳上设有细小透气孔,所述细小透气孔通过开孔工艺贯穿一层透气壳,所述二层透气壳固接于一层透气壳的下部,所述二层透气壳上设有大型透气孔,所述大型透气孔通过开孔工艺贯穿二层透气壳,由于气泡在上浮过程中会不断变小,故而需要大型透气孔,使气泡产生并离开二层透气壳时是较大状态。
进一步地,所述化学药液清除箱包括外壁、外壁溢流口、电机安装台、观察窗和清水排出口,所述外壁设于含氧搅拌装置的下部,所述外壁上设有外壁溢流口,所述外壁溢流口通过切割工艺贯穿外壁,所述电机安装台固接于外壁的上部,所述观察窗固接于外壁的下部,通过观察窗,可以观察处理过后的废水是否清澈,所述清水排出口通过法兰固接于外壁的下部。
进一步地,所述静置箱包括静置外壳、污水管道、沉淀物排出口、静置溢流口、螺旋出水管道、沉淀观察口、窄距泄水口和宽距泄水口。
进一步地,所述静置外壳设于化学药液清除箱的前部,所述污水管道通过法兰固接于静置外壳的外部,所述沉淀物排出口通过法兰固接于静置外壳的下部,通过沉淀物排出口,可以回收沉淀至底部的银粉颗粒,所述静置外壳上设有静置溢流口,所述静置溢流口通过切割工艺贯穿静置外壳,通过静置溢流口,可以将静置后的废水排入化学药液清除箱内。
进一步地,所述螺旋出水管道固接于静置外壳的内部,所述沉淀观察口固接于静置外壳的下部,所述窄距泄水口通过法兰可拆卸的连接于螺旋出水管道,所述宽距泄水口过法兰可拆卸的连接于螺旋出水管道吗,通过窄距泄水口与宽距泄水口配合工作,可以减少废水进入静置箱时,因水泵动能或重力势能冲击静置箱内原有液体的表面。
进一步地,所述下部托架包括托架本体、支撑杆和减震垫,所述托架本体设于化学药液清除箱和静置箱的下部,所述支撑杆固接于托架本体的下部,所述减震垫固接于支撑杆的下部,通过减震垫,可以减少本发明在工作时的震动。
采用上述结构本发明取得的有益效果如下:
(1)通过含氧搅拌装置可以不断搅拌废水,并使废水中的化学药物与析出的氧气反应,从而使化学药品与氧气产生氧化还原反应,而形成絮状物并漂浮在装置表面,而清水则集中在下部;
(2)通过静置箱,减少了水体波动,增加了静置效果,使废水中的银粉逐渐沉淀至底部,方便回收;
(3)通过卡扣固定住输氧管,并且由于卡扣与套环固接,故而可以使输氧管沿滑轨的方向上滑动;在滑动的同时可以保证一层透气壳与二层透气壳内部都存在气体,而不会使气体集中在某一特定区域
(4)由于密闭壳的上方为封闭区域,从输氧管中析出的氧气不会由自身物理特性而直接从密闭壳上方逸出,而是沿一层透气壳与二层透气壳流动,并通过细小透气孔与大型透气孔析出;
(5)由于水面附近的温度较低,气泡在上升过程中泡内空气的压强随水温降低,故而在上升过程中,气泡会逐渐减小;而又由于在低流量下孔径有显著影响,这时表面张力提供很大的约束力随着孔径的增大而使气泡增大,由以上原理可知,通过大型透气孔的气泡会较大,不会在上升过程中过早破裂;
(6)由于窄距泄水口与宽距泄水口紧贴静置外壳,当废水进入静置箱时,变会沿外壳流动而下,而窄距泄水口与宽距泄水口出水间距不同,不会使得两股水流在外壳上叠加,进而造成紊流;并且可以减少废水进入静置箱时,因水泵动能或重力势能冲击静置箱内原有液体的表面;
(7)通过减震垫,可以减少本发明在工作时的震动,不仅可以降低工作时的噪音,还可以通过减少金属零件之间的相互震动,降低金属疲劳,增加使用寿命。
(发明人:陈平华)






