公布日:2023.10.20
申请日:2023.08.11
分类号:C02F1/00(2023.01)I;B01D33/00(2006.01)I;B01D33/80(2006.01)I
摘要
本发明公开了一种工业废水节能环保处理方法,包括支撑底块,所述支撑底块的右侧通过螺栓连接有台体,所述台体的上方设置有罩体,且罩体的顶部和底部均为开口设置,所述罩体的顶部和底部均通过螺栓连接有盖板,位于下方的所述盖板的底部通过螺栓连接有对接块,且对接块的底部通过螺栓连接在台体的顶部上,所述罩体的左侧设置有过滤盒体,且罩体的左侧开设与过滤盒体相匹配的通孔,本发明通过伺服电机、旋转轴、对接轴及直板等部件之间的相互配合,可实现带动过滤盒体、导水盒体、加压壳体及回收盒体等部件前后摆动,使得其能对过滤盒体进行摇晃,从而能进行有效的固液分离,提高了其处理效率,同时可实现有效的分流,提高了其导流效率。

权利要求书
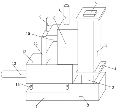
1.一种工业废水节能环保处理方法,包括支撑底块(1),其特征在于:所述支撑底块(1)的右侧通过螺栓连接有台体(2),所述台体(2)的上方设置有罩体(5),且罩体(5)的顶部和底部均为开口设置,所述罩体(5)的顶部和底部均通过螺栓连接有盖板(4),位于下方的所述盖板(4)的底部通过螺栓连接有对接块(3),且对接块(3)的底部通过螺栓连接在台体(2)的顶部上,所述罩体(5)的左侧设置有过滤盒体(8),且罩体(5)的左侧开设与过滤盒体(8)相匹配的通孔,所述过滤盒体(8)的右侧穿过通孔延伸至罩体(5)内通过螺栓连接有直板(21),所述直板(21)的右侧靠近顶部和底部处均通过螺栓连接有T形板(18),两个所述T形板(18)之间通过螺栓连接有对接轴(17),所述盖板(4)与T形板(18)相对的一侧通过螺栓连接有贴合板(20),两个所述T形板(18)相远离的一侧均通过螺栓连接有旋转轴(19),且旋转轴(19)与T形板(18)相远离的一端通过轴承与贴合板(20)和盖板(4)活动连接,位于上方的所述盖板(4)的顶部通过螺栓连接有伺服电机(6),位于上方的所述旋转轴(19)的底端穿过轴承的内圈与伺服电机(6)的输出轴固定连接,所述过滤盒体(8)的顶部靠近左侧处连通连接有进料管(7),所述过滤盒体(8)内滑动连接有滑动板(23),且滑动板(23)的侧壁上开设有两个穿槽(31),两个所述穿槽(31)内穿设有拦污网(22),且拦污网(22)的左右两侧分别与过滤盒体(8)的左侧内壁及直板(21)的左侧侧壁相接触,所述罩体(5)的后侧安装有推拉门,且滑动板(23)的后壁通过螺栓连接在推拉门的前壁上。
2.根据权利要求1所述的一种工业废水节能环保处理方法,其特征在于:两个所述T形板(18)之间靠近底部处通过螺栓连接有竖板(15),且竖板(15)的左侧通过螺栓连接有电缸(16),所述电缸(16)的左端贯穿直板(21),且电缸(16)的左端通过螺栓连接在滑动板(23)的右侧侧壁上。
3.根据权利要求1所述的一种工业废水节能环保处理方法,其特征在于:所述过滤盒体(8)的左侧连通连接有导水盒体(10),且导水盒体(10)的右侧为开口设置,两个所述导水盒体(10)的左侧通过螺栓连接同一个加压壳体(11),且过滤盒体(8)和加压壳体(11)的底部分别连通连接有第一出水管(26)和第二出水管(27),所述导水盒体(10)与加压壳体(11)之间连通连接有横管(25)。
4.根据权利要求1所述的一种工业废水节能环保处理方法,其特征在于:两个所述导水盒体(10)内靠近左侧处通过螺栓连接有过滤网(24),且两个导水盒体(10)的内腔底部分别与两个拦污网(22)的顶部相持平。
5.根据权利要求1所述的一种工业废水节能环保处理方法,其特征在于:所述第一出水管(26)和第二出水管(27)的底端连通连接有同一个回收盒体(12),且回收盒体(12)的底部通过螺栓连接在台体(2)的顶部上,所述回收盒体(12)的底部靠近左右两侧处均连通连接有排水管(14),且排水管(14)上安装有阀门(29)。
6.根据权利要求1所述的一种工业废水节能环保处理方法,其特征在于:所述加压壳体(11)的顶部贯穿连接有电动推杆(9),且电动推杆(9)的底端通过螺栓连接有加压块(30),并且加压块(30)滑动连接在加压壳体(11)内。
7.根据权利要求1所述的一种工业废水节能环保处理方法,其特征在于:所述回收盒体(12)的左侧贯穿连接有电动伸缩杆(13),且电动伸缩杆(13)的右端通过螺栓连接有推动板(28),并且推动板(28)滑动连接在回收盒体(12)内。
8.根据权利要求1-7任一项所述的一种工业废水节能环保处理的方法,其特征在于,包括以下步骤:S1:首先通过支撑底块(1)和台体(2)置于所需位置上,随后通过进料管(7)往过滤盒体(8)注入废水;S2:然后启动伺服电机(6)和电缸(16),伺服电机(6)通过旋转轴(19)和T形板(18)带动直板(21)前后摆动,而直板(21)带动过滤盒体(8)、导水盒体(10)、加压壳体(11)及回收盒体(12)前后摆动;S3:随之电缸(16)上的推杆伸缩带动滑动板(23)在拦污网(22)上左右滑动,将水推入导水盒体(10),并经由第一出水管(26)和第二出水管(27)导入至回收盒体(12)内;S4:然后打开阀门(29)并由排水管(14)排出,电动推杆(9)带动加压块(30)在加压壳体(11)内上下滑动;S5:随后电动伸缩杆(13)带动推动板(28)在回收盒体(12)内左右滑动,可实现有效的加压和推动水流,实现辅助出水。
发明内容
本发明解决的技术问题在于克服现有技术的缺陷,提供一种工业废水节能环保处理方法。
为实现上述目的,本发明提供如下技术方案:一种工业废水节能环保处理方法,包括支撑底块,所述支撑底块的右侧通过螺栓连接有台体,所述台体的上方设置有罩体,且罩体的顶部和底部均为开口设置,所述罩体的顶部和底部均通过螺栓连接有盖板,位于下方的所述盖板的底部通过螺栓连接有对接块,且对接块的底部通过螺栓连接在台体的顶部上,所述罩体的左侧设置有过滤盒体,且罩体的左侧开设与过滤盒体相匹配的通孔,所述过滤盒体的右侧穿过通孔延伸至罩体内通过螺栓连接有直板,所述直板的右侧靠近顶部和底部处均通过螺栓连接有T形板,两个所述T形板之间通过螺栓连接有对接轴,所述盖板与T形板相对的一侧通过螺栓连接有贴合板,两个所述T形板相远离的一侧均通过螺栓连接有旋转轴,且旋转轴与T形板相远离的一端通过轴承与贴合板和盖板活动连接,位于上方的所述盖板的顶部通过螺栓连接有伺服电机,位于上方的所述旋转轴的底端穿过轴承的内圈与伺服电机的输出轴固定连接,所述过滤盒体的顶部靠近左侧处连通连接有进料管,所述过滤盒体内滑动连接有滑动板,且滑动板的侧壁上开设有两个穿槽,两个所述穿槽内穿设有拦污网,且拦污网的左右两侧分别与过滤盒体的左侧内壁及直板的左侧侧壁相接触,所述罩体的后侧安装有推拉门,且滑动板的后壁通过螺栓连接在推拉门的前壁上。
优选的,两个所述T形板之间靠近底部处通过螺栓连接有竖板,且竖板的左侧通过螺栓连接有电缸,所述电缸的左端贯穿直板,且电缸的左端通过螺栓连接在滑动板的右侧侧壁上。
优选的,所述过滤盒体的左侧连通连接有导水盒体,且导水盒体的右侧为开口设置,两个所述导水盒体的左侧通过螺栓连接同一个加压壳体,且过滤盒体和加压壳体的底部分别连通连接有第一出水管和第二出水管,所述导水盒体与加压壳体之间连通连接有横管。
优选的,两个所述导水盒体内靠近左侧处通过螺栓连接有过滤网,且两个导水盒体的内腔底部分别与两个拦污网的顶部相持平。
优选的,所述第一出水管和第二出水管的底端连通连接有同一个回收盒体,且回收盒体的底部通过螺栓连接在台体的顶部上,所述回收盒体的底部靠近左右两侧处均连通连接有排水管,且排水管上安装有阀门。
优选的,所述加压壳体的顶部贯穿连接有电动推杆,且电动推杆的底端通过螺栓连接有加压块,并且加压块滑动连接在加压壳体内。
优选的,所述回收盒体的左侧贯穿连接有电动伸缩杆,且电动伸缩杆的右端通过螺栓连接有推动板,并且推动板滑动连接在回收盒体内。
一种工业废水节能环保处理的方法,包括以下步骤:
S1:首先通过支撑底块和台体置于所需位置上,随后通过进料管往过滤盒体注入废水;
S2:然后启动伺服电机和电缸,伺服电机通过旋转轴和T形板带动直板前后摆动,而直板带动过滤盒体、导水盒体、加压壳体及回收盒体前后摆动;
S3:随之电缸上的推杆伸缩带动滑动板在拦污网上左右滑动,将水推入导水盒体,并经由第一出水管和第二出水管导入至回收盒体内;
S4:然后打开阀门并由排水管排出,电动推杆带动加压块在加压壳体内上下滑动;
S5:随后电动伸缩杆带动推动板在回收盒体内左右滑动,可实现有效的加压和推动水流,实现辅助出水。
与现有技术相比,本发明的有益效果是:本发明通过伺服电机、旋转轴、对接轴及直板等部件之间的相互配合,可实现带动过滤盒体、导水盒体、加压壳体及回收盒体等部件前后摆动,使得其能对过滤盒体进行摇晃,从而能进行有效的固液分离,提高了其处理效率,同时可实现有效的分流,提高了其导流效率。
(发明人:张娜)






